chaguwang.cn-查股网.中国
查股网.CN
佳合科技(872392)内幕信息消息披露
 
个股最新内幕信息查询:    
 

龙虎榜丨佳合科技今日跌14.74%,小鳄鱼净买入126.99万元

http://www.chaguwang.cn  2023-11-29  佳合科技内幕信息

来源 :界面新闻2023-11-29

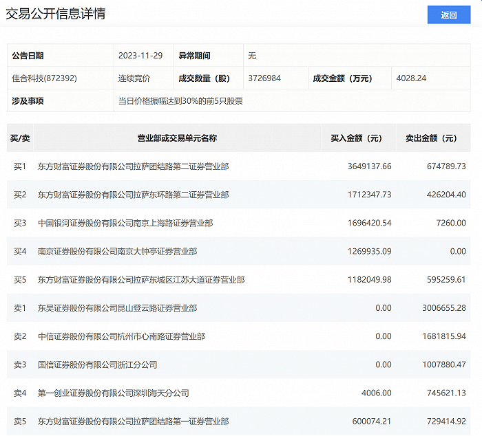
  11月29日,佳合科技今日跌14.74%,龙虎榜数据显示,上榜营业部席位全天成交1898.89万元,占当日总成交金额比例为47.14%。其中,买入金额为1011.4万元,卖出金额为887.49万元,合计净买入123.91万元。

  具体来看,知名游资现身龙虎榜,小鳄鱼(南京证券股份有限公司南京大钟亭证券营业部)净买入126.99万元。此外,东吴证券昆山登云路证券营业部、中信证券杭州市心南路证券营业部分别卖出300.67万元、168.18万元;东方财富证券拉萨团结路第二证券营业部、东方财富证券拉萨东环路第二证券营业部分别买入364.91万元、171.23万元。

  

有问题请联系 767871486@qq.com 商务合作广告联系 QQ:767871486
www.chaguwang.cn 查股网