来源 :犀牛之星2024-07-19
7月19日消息,据北交所公开信息显示,晶赛科技(871981)今日上涨10.85%,换手率为24.35%,累计成交1.31亿元登上龙虎榜。
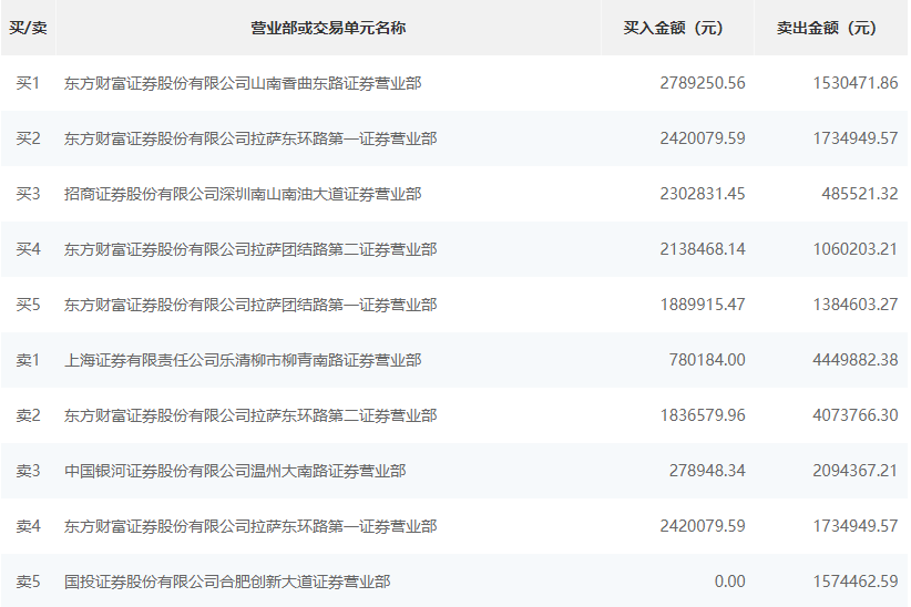
根据龙虎榜交易数据显示,买入方面,买一为东方财富证券股份有限公司山南香曲东路证券营业部,买入278.92万元,卖出153.04万元。买二为东方财富证券股份有限公司拉萨东环路第一证券营业部,买入242万元,卖出173.49万元。卖出方面,卖一为上海证券有限责任公司乐清柳市柳青南路证券营业部,卖出444.98万元,买入78.01万元。卖二为东方财富证券股份有限公司拉萨东环路第二证券营业部,卖出407.37万元,买入183.65万元。

