来源 :爱集微2024-01-24
集微网消息,天眼查显示,中芯国际近日新增多条专利信息,其中一条名称为“封装结构和芯片”,公开号为CN117423674A。

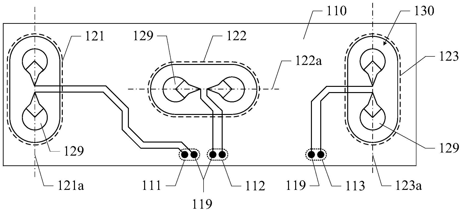
专利摘要显示,一种封装结构和芯片,封装结构包括:芯片结构,所述芯片结构表面具有第一引线垫对和第二引线垫对;第一过孔对和第二过孔对,所述第一过孔对和所述第二过孔对位于所述芯片结构上,所述第一过孔对的2个过孔分别与所述第一引线垫对的2个引线垫相连,所述第二过孔对的2个过孔分别与所述第二引线垫对的2个引线垫相连,所述第一过孔对中2个过孔所在直线与所述第二过孔对中2个过孔所在直线相交。使所述第一过孔对和所述第二过孔对相交设置,能够有效降低所述第一过孔对和所述第二过孔对所传输信号所形成电磁场之间的干扰,能够有效抑制第一过孔对和第二过孔对之间传输信号的串扰,降低串扰指数。
中芯国际指出,晶圆级BGA(Wafer Lever BGA,WLBGA)封装以BGA(Ball Grid Array)技术为基础,是一种经过改进和提高的CSP封装技术。晶圆级BGA技术以晶圆为加工对象,在晶圆上同时对多个芯片进行封装、老化以及测试,然后切割晶圆形成单个器件,该单个器件可以直接贴装至基板或者印刷电路板上。晶圆级BGA技术具有封装尺寸小且支持的键合需求广的优点,使得晶圆级BGA技术的应用越来越广,以晶圆级BGA技术封装获得的产品需求量也越来越大。
中芯国际称,另一方面,随着印刷电路板(Printed Circuit Board,PCB),多芯片模块(Multichip module,MCM),堆叠式裸片以及硅通孔(Through Silicon Via,TSV)技术的发展,先进封装和高密度印刷电路板上器件越来越密集。芯片工作主频越来越高,高速信号之间串扰风险不断增大。如何在有限的设计空间中尽可能降低高速信号之间的串扰,是芯片先进封装和高密度PCB设计需要解决的关键问题之一。然而,现有方法所获得的封装结构中,高速信号之间的串扰问题比较严重。因此提出了上述专利,以减少高速信号的串扰问题。