chaguwang.cn-查股网.中国
查股网.CN
鼎通科技(688668)内幕信息消息披露
 
沪深个股最新内幕信息查询:    
 

鼎通科技:定增募资8亿元方案出炉,发行对象共计14家,诺德基金、财通基金等在列

http://www.chaguwang.cn  2022-12-14  鼎通科技内幕信息

来源 :界面新闻2022-12-14

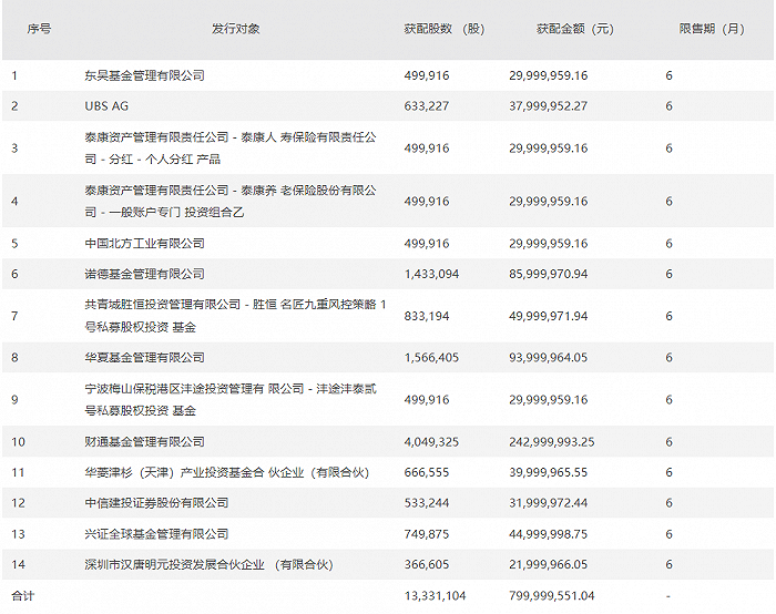
  鼎通科技12月14日公告,根据投资者申购报价情况,并严格按照《认购邀请书》中确定的程序和规则,确定本次发行价格60.01元/股,发行股数1333.11万股,募集资金总额8亿元。本次发行对象最终确定为14家,诺德基金、财通基金,华夏基金等在列。

  

有问题请联系 767871486@qq.com 商务合作广告联系 QQ:767871486
查股网以"免费 简单 客观 实用"为原则,致力于为广大股民提供最有价值和实用的股票数据作参考!
Copyright 2007-2022
www.chaguwang.cn 查股网