立昂微(605358)8月15日披露2023年半年度报告。2023年上半年,公司实现营业总收入13.42亿元,同比下降14.22%;归母净利润1.74亿元,同比下降65.49%;扣非净利润5002.52万元,同比下降89.00%;经营活动产生的现金流量净额为3.69亿元,同比下降48.94%;报告期内,立昂微基本每股收益为0.26元,加权平均净资产收益率为2.12%。

以8月14日收盘价计算,立昂微目前市盈率(TTM)约为64.79倍,市净率(LF)约2.87倍,市销率(TTM)约8.62倍。

公司近年市盈率(TTM)、市净率(LF)、市销率(TTM)历史分位图如下所示:



根据半年报,公司第二季度实现营业总收入7.1亿元,同比下降12.17%,环比增长12.30%;归母净利润1.39亿元,同比下降47.51%,环比增长304.25%;扣非净利润2653.36万元,同比下降88.00%,环比增长12.95%。

资料显示,公司立昂微主营业务包含半导体硅片、半导体功率器件、化合物半导体射频芯片三大板块,其中子公司浙江金瑞泓、衢州金瑞泓及金瑞泓微电子为半导体硅片行业的领军企业、重掺硅片领域龙头企业,产品覆盖6-12英寸半导体硅抛光片和硅外延片。
分产品来看,2023年上半年公司主营业务中,半导体硅片收入7.55亿元,同比下降18.48%,占营业收入的56.28%;半导体功率器件芯片收入5.38亿元,同比下降10.69%,占营业收入的40.05%;化合物半导体射频芯片收入0.38亿元,同比增长95.25%,占营业收入的2.86%。

2023年上半年,公司毛利率为27.27%,同比下降20.26个百分点;净利率为10.58%,较上年同期下降22.83个百分点。从单季度指标来看,2023年第二季度公司毛利率为25.13%,同比下降19.84个百分点,环比下降4.54个百分点;净利率为17.42%,较上年同期下降16.52个百分点,较上一季度上升14.53个百分点。

分产品看,半导体硅片、半导体功率器件芯片、化合物半导体射频芯片2023年毛利率分别为16.74%、44.34%、-10.21%。

盈利能力方面, 2023年半年度公司加权平均净资产收益率为2.12%,同比下降4.44个百分点。公司2023年半年度投入资本回报率为1.43%,较上年同期下降3.41个百分点。

2023上半年,公司经营活动现金流净额为3.69亿元,同比下降48.94%;筹资活动现金流净额-7.05亿元,同比减少15.03亿元;投资活动现金流净额-10.28亿元,上年同期为-31.28亿元。
进一步统计发现,2023年上半年公司自由现金流为-5.47亿元,上年同期为-11.01亿元。

2023年上半年,公司营业收入现金比为109.04%,净现比为212.76%。

营运能力方面,2023年上半年,公司总资产周转率为0.07次,上年同期为0.11次(2022年上半年行业平均值为0.22次,公司位居同行业15/17);固定资产周转率为0.20次,上年同期为0.36次(2022年上半年行业平均值为0.95次,公司位居同行业15/17);公司应收账款周转率、存货周转率分别为1.95次、0.72次。

2023年上半年,公司期间费用为2.87亿元,较上年同期增加1.02亿元;期间费用率为21.39%,较上年同期上升9.55个百分点。其中,销售费用同比增长65.1%,管理费用同比增长42.37%,研发费用同比增长5.47%,财务费用同比增长435.22%。

资产重大变化方面,截至2023年二季度末,公司货币资金余额较上年末减少33.30%,占公司总资产比重下降6.69个百分点;在建工程较上年末增加13.87%,占公司总资产比重上升3.02个百分点;固定资产较上年末增加3.68%,占公司总资产比重上升2.41个百分点;应收账款较上年末增加14.10%,占公司总资产比重上升0.60个百分点。

负债重大变化方面,截至2023年二季度末,公司长期借款较上年末减少18.96%,占公司总资产比重下降1.78个百分点;应付账款较上年末减少17.40%,占公司总资产比重下降0.75个百分点;短期借款较上年末减少27.78%,占公司总资产比重下降0.38个百分点;应付债券较上年末增加1.96%,占公司总资产比重上升0.85个百分点。

从存货变动来看,截至2023年上半年末,公司存货账面价值为13.87亿元,占净资产的17.18%,较上年末增加4986.24万元。其中,存货跌价准备为1.84亿元,计提比例为11.69%。

偿债能力方面,公司2023年二季度末资产负债率为46.23%,相比上年末减少0.80个百分点;有息资产负债率为31.00%,相比上年末减少0.93个百分点。

2023年上半年,公司流动比率为2.98,速动比率为2.26。

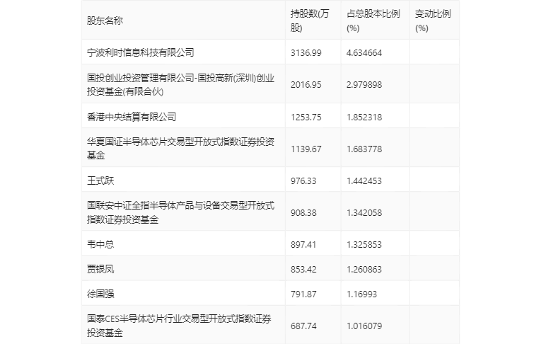
半年报显示,2023年上半年末的公司十大流通股东中,新进股东为国联安中证全指半导体产品与设备交易型开放式指数证券投资基金、国泰CES半导体芯片行业交易型开放式指数证券投资基金,取代了一季度末的陈卫忠、马名希。在具体持股比例上,香港中央结算有限公司持股有所上升,宁波利时信息科技有限公司、国投创业投资管理有限公司-国投高新(深圳)创业投资基金(有限合伙)、华夏国证半导体芯片交易型开放式指数证券投资基金、王式跃、韦中总、贾银凤、徐国强持股有所下降。

筹码集中度方面,截至2023年二季度末,公司股东总户数为9.28万户,较一季度末下降了1.69万户,降幅15.42%;户均持股市值由一季度末的33.60万元下降至26.78万元,降幅为20.30%。
