距离年初顾家家居股份转让已过了小半年。
近日,2024年上半年家居行业上市公司市值最新排名出炉。排名前三的是欧派家居、顾家家居和居然之家,市值分别为326.3亿元、265.4亿元和152.8亿元。
截至6月28日,与“换东家”时的289亿元相比,顾家家居市值减少了23.6亿元,时至今日,又进一步减少38.4亿元至227亿元。
市值不断蒸发令人联想当初顾家家居“换东家”的目的。有声音认为,顾家通过不断减持股票套现百亿,彻底实现了几代人的财务自由;也有声音认为,在顾家家居稳定增长的营收背后,是净利润逐年放缓,为了求变才出此下策。
究竟为何,当事双方均未给出明确回答,但观察顾家家居的成长史,不难发现一些端倪。
股份转让加减持,套现百亿离场
“做大做强”曾是顾家家居董事长顾江生的愿望。
2016年,顾家家居成功登陆A股市场,两年后,顾江生提出了“千亿营收、千亿市值”的目标,对标彼时还红火的房地产市场,都少有开发商敢于如此高调,作为房地产的下游产业,当时的顾家家居毫不掩饰自己的野心与激进。
往后的几年中,顾江生一边喊着口号,一边以其浙商特有的头脑和敢闯敢拼的韧劲将顾家家居带上了新的台阶,巅峰时期公司市值近600亿元。
直至2020年,顾家一反常态,开始了近乎疯狂的减持套现。
公开资料显示,截至2019年底,顾家集团直接持有顾家家居49.28%股权;TB Home Limited 持有顾家家居26.33%股权;梅山顾家投资持有顾家家居0.60%股权。三者构成一致行动人,合计持有顾家家居76.21%股权。
三者中,顾江生持有顾家集团61.60%股权,其父母持有TB Home Limited 100%股权,而梅山顾家投资则是顾家集团全资子公司。
据不完全统计,2020年7月6日与11月16日,TB Home Limited通过两次股权转让获利37.2亿元;同年7月23日、24日又通过二级市场减持套现约1.24亿元。
同样的日期,顾家集团也在减持,7月23日、24日,顾家集团通过二级市场减持980万股票,套现约5.32亿元。又与TB Home Limited 通过大宗交易合计减持顾家家居2%股份,套现6.6亿元。

2022年6月22日,顾家集团又通过大宗交易减持1.97%股份,套现8亿元。
最大的减持来自今年1月9日,顾家集团及TB Home将所持29.42%股份,转让给美的公子何剑锋控制的盈峰睿和投资,套现88.8亿元。公司控股股东由顾家集团变更为盈峰睿和投资,公司实际控制人由顾江生、顾玉华、王火仙一家,变更为何剑锋。
由此,顾氏家族套现百亿离场。
激流勇退or缺钱?
顾家家居可谓是顾氏家族的“摇钱树”,但自己家的产业给自己家挣钱本也无可厚非,在外人看来,顾家已经赚得盆满钵满,可以就此躺平,享受人生。
但现实仿佛在告诉人们,“顾家缺钱!”
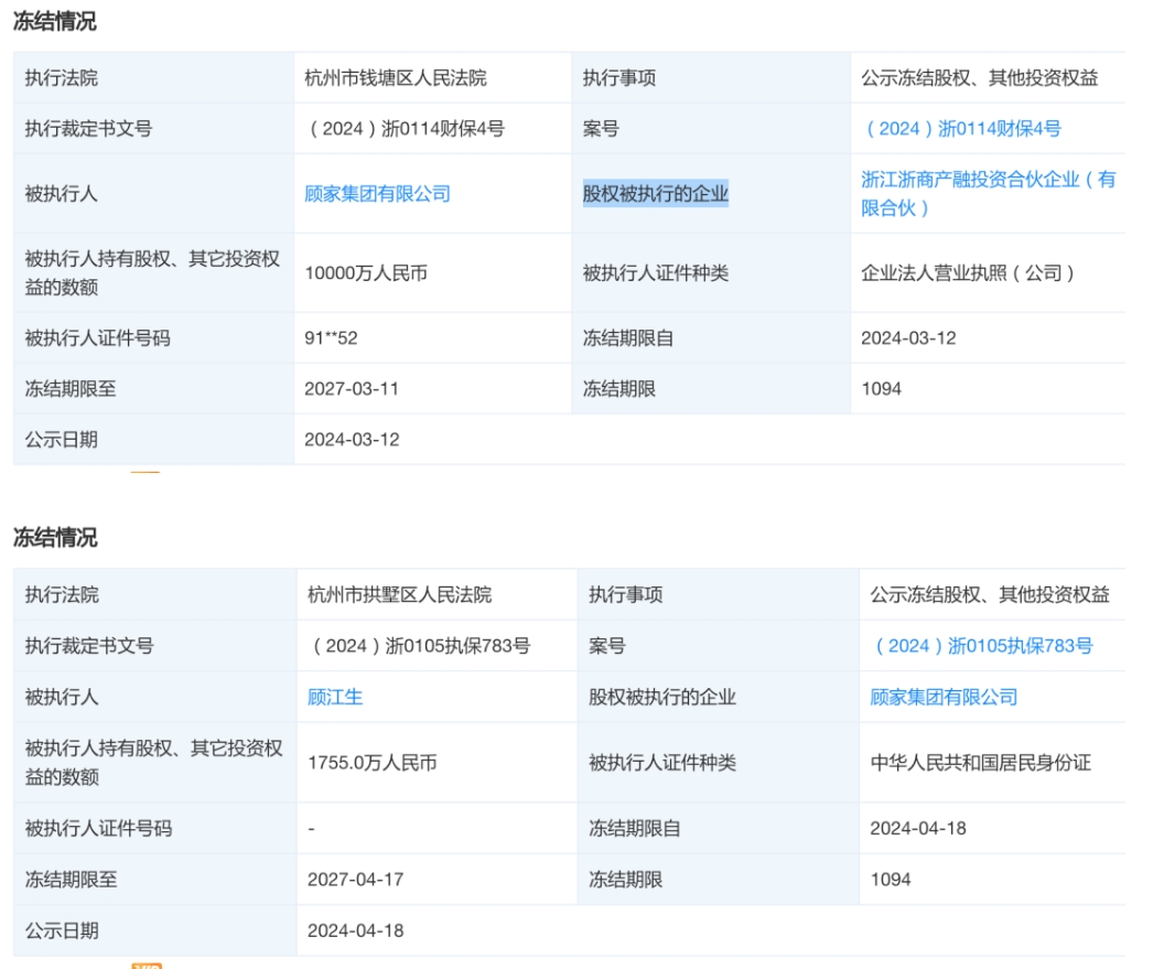
今年3月12日、4月18日,顾江生在顾家集团的股权1755万元,顾家集团在浙商产融投资基金的股权1亿元,分别被杭州市拱墅区法院、钱塘区法院冻结。

“相对减持而来的百亿,几千万算是小账,居然都平不掉。”一位关注顾家家居的股民认为,说明减持的钱去了别的地方。
持有这种猜测的并非一人,业内人士分析称,野心十足的顾江生曾立下“双千亿”目标,豪言壮语仍在,他却不再努力了,出人意料地宣布撤退,可能是打拼累了,也可能是有较大亏空需要资金补充。
对于公司而言,或者是上游房地产行业崩盘对业绩造成较大影响,亦或是后来的顾江生心思已不在经营上面,公司业绩增长也逐年放缓。
根据顾家家居近年来的财报显示,2021年、2022年、2023年顾家家居营业收入为183.42亿元、180.1亿元、192.12亿元,分别同比增长44.81%、-1.81%、6.67%;净利润分别为16.64亿元、18.12亿元、20.06亿元,分别同比增长96.87%、8.87%、10.70%,相比2021年,增速明显放缓。
因此,有声音认为,其套现离开可能是因为顾江生家族看到了家居行业的变化和挑战,激流勇退,美的介入有望给公司带来新的发展机会,帮助公司突破瓶颈期,迎来更广阔的新市场。
上述分析师称,美的集团作为家电行业领军企业,对家居行业持有浓厚的兴趣和战略布局。顾家家居的股权转让为美的集团提供了进入家居市场的机会,双方可以实现资源共享与优势互补。
由此,何剑锋出手收购顾家家居,就显得顺理成章。其不仅可以借助顾家家居的品牌、渠道、客户等资源,扩大自己在家居领域的影响力,还可以将美的集团的智能技术和产品,与顾家家居的家居产品相融合,打造出更具竞争力的智能家居产品。
值得注意的是,1月顾家家居转让价格为42.5846元/股,转让总价为102.99亿元,对比目前顾家家居28.17元/股的股价来看,目前盈峰睿和投资浮亏约34.86亿元。