鼎信通讯(603421)8月28日披露2024年半年报。2024年上半年,公司实现营业总收入14.37亿元,同比增长8.59%;归母净利润亏损4864.80万元,上年同期盈利3588.04万元;扣非净利润亏损4947.60万元,上年同期盈利3466.00万元;经营活动产生的现金流量净额为-1.84亿元,上年同期为-2.99亿元;报告期内,鼎信通讯基本每股收益为-0.07元,加权平均净资产收益率为-1.45%。
公告称,公司营业收入变化主要由于电网市场以前年度中标在本期履约的电能表和采集终端设备交付量上升,及非电网市场销售份额增加。

以8月27日收盘价计算,鼎信通讯目前市盈率(TTM)约为54.89倍,市净率(LF)约为0.77倍,市销率(TTM)约为0.68倍。
公司近年市盈率(TTM)、市净率(LF)、市销率(TTM)历史分位图如下所示:


根据半年报,公司第二季度实现营业总收入9.68亿元,同比增长12.79%,环比增长106.68%;归母净利润5604.63万元,同比下降40.41%,环比增长153.53%;扣非净利润5598.72万元,同比下降40.76%,环比增长153.09%。
资料显示,公司的主营业务包括电力行业和消防业务两大板块。
2024年上半年,公司毛利率为40.17%,同比上升0.55个百分点;净利率为-3.39%,较上年同期下降6.10个百分点。从单季度指标来看,2024年第二季度公司毛利率为42.14%,同比上升1.08个百分点,环比上升6.05个百分点;净利率为5.79%,较上年同期下降5.17个百分点,较上一季度上升28.14个百分点。
数据显示,2024年上半年公司加权平均净资产收益率为-1.45%,较上年同期下降2.52个百分点;公司2024年上半年投入资本回报率为-0.94%,较上年同期下降2.04个百分点。
2024年上半年,公司经营活动现金流净额为-1.84亿元,同比增加1.14亿元;筹资活动现金流净额1871.28万元,同比减少3.19亿元;投资活动现金流净额-1991.32万元,上年同期为-1499.09万元。
进一步统计发现,2024年上半年公司自由现金流为-1.77亿元,上年同期为-3.55亿元。
2024年上半年,公司营业收入现金比为108.00%。
营运能力方面,2024年上半年,公司公司总资产周转率为0.25次,上年同期为0.24次(2023年上半年行业平均值为0.22次,公司位居同行业15/37);固定资产周转率为1.20次,上年同期为1.20次(2023年上半年行业平均值为2.01次,公司位居同行业25/37);公司应收账款周转率、存货周转率分别为0.84次、0.56次。
2024年上半年,公司期间费用为5.66亿元,较上年同期增加3489.59万元;但期间费用率为39.40%,较上年同期下降0.75个百分点。其中,销售费用同比下降5.84%,管理费用同比增长17.16%,研发费用同比增长16.8%,财务费用同比下降15.58%。
资料显示,销售费用的变动主要因为本期报告期,公司重新审视各项费用支出,加强预算管理,使主要业务费用下降;管理费用的变动主要因为公司2023年7月薪酬调整,社会保险费和住房公积金缴纳基数调整;计提员工离职补偿,人工成本较同期增加;财务费用的变动主要因为报告期内应收账款保理融资业务减少,手续费同比降低;研发费用的变动主要因为公司2023年7月薪酬调整,社会保险费和住房公积金缴纳基数调整,人工成本增加。同时,公司持续加大非电网业务各项投入,丰富产品类型,研发费用增加。
资产重大变化方面,截至2024年上半年末,公司货币资金较上年末减少26.19%,占公司总资产比重下降2.96个百分点;存货较上年末增加4.33%,占公司总资产比重上升2.12个百分点;固定资产较上年末增加0.77%,占公司总资产比重上升0.94个百分点;预付款项较上年末减少29.63%,占公司总资产比重下降0.48个百分点。
负债重大变化方面,截至2024年上半年末,公司长期借款较上年末减少68.06%,占公司总资产比重下降6.38个百分点,主要系部分长;一年内到期的非流动负债较上年末增加164.07%,占公司总资产比重上升6.49个百分点;应付职工薪酬较上年末减少78.80%,占公司总资产比重下降3.60个百分点;应付票据较上年末减少10.84%,占公司总资产比重下降0.87个百分点。
从存货变动来看,截至2024年上半年末,公司存货账面价值为15.74亿元,占净资产的47.26%,较上年末增加6536.44万元。其中,存货跌价准备为1.35亿元,计提比例为7.89%。
在偿债能力方面,公司2024年上半年末资产负债率为41.57%,相比上年末下降0.67个百分点;有息资产负债率为15.14%,相比上年末上升1.87个百分点。
2024年上半年,公司流动比率为1.92,速动比率为1.18。
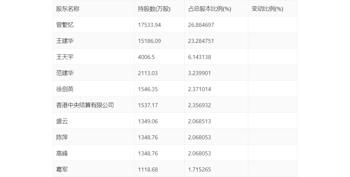
半年报显示,2024年上半年末公司十大流通股东中,新进股东为香港中央结算有限公司,取代了一季度末的赵锋。
筹码集中度方面,截至2024年上半年末,公司股东总户数为2.03万户,较一季度末增长了2773户,增幅15.85%;户均持股市值由一季度末的30.34万元下降至14.35万元,降幅为52.70%。
指标注解:
市盈率
=总市值/净利润。当公司亏损时市盈率为负,此时用市盈率估值没有实际意义,往往用市净率或市销率做参考。
市净率
=总市值/净资产。市净率估值法多用于盈利波动较大而净资产相对稳定的公司。
市销率
=总市值/营业收入。市销率估值法通常用于亏损或微利的成长型公司。
文中市盈率和市销率采用TTM方式,即以截至最近一期财报(含预报)12个月的数据计算。市净率采用LF方式,即以最近一期财报数据计算。
市盈率为负时,不显示当期分位数,会导致折线图中断。