来源 :新浪财经2024-04-25
新凤鸣(603225)4月26日披露2024年一季报。2024年第一季度,公司实现营业总收入144.52亿元,同比增长15.53%;归母净利润2.75亿元,同比增长45.25%;扣非净利润2.30亿元,同比增长102.96%;经营活动产生的现金流量净额为-17.12亿元,上年同期为-24.22亿元;报告期内,新凤鸣基本每股收益为0.18元,加权平均净资产收益率为1.62%。

2024年第一季度,公司毛利率为5.90%,同比上升0.48个百分点;净利率为1.90%,较上年同期上升0.39个百分点。

数据显示,2024年第一季度公司加权平均净资产收益率为1.62%,较上年同期增长0.42个百分点;公司2024年第一季度投入资本回报率为0.92%,较上年同期增长0.05个百分点。

2024年第一季度,公司经营活动现金流净额为-17.12亿元,同比增加7.10亿元;筹资活动现金流净额52.52亿元,同比增加12.57亿元;投资活动现金流净额-15.09亿元,上年同期为-7.57亿元。

2024年第一季度,公司营业收入现金比为113.86%,净现比为-622.22%。

资产重大变化方面,截至2024年一季度末,公司固定资产较上年末减少2.52%,占公司总资产比重下降10.80个百分点;货币资金较上年末增加70.88%,占公司总资产比重上升7.39个百分点;存货较上年末增加54.94%,占公司总资产比重上升2.66个百分点;在建工程较上年末增加68.85%,占公司总资产比重上升1.48个百分点。

负债重大变化方面,截至2024年一季度末,公司短期借款较上年末增加93.06%,占公司总资产比重上升12.12个百分点;一年内到期的非流动负债较上年末增加36.85%,占公司总资产比重上升0.56个百分点;应付票据较上年末增加30.56%,占公司总资产比重上升0.32个百分点;应交税费较上年末减少70.19%,占公司总资产比重下降0.40个百分点。

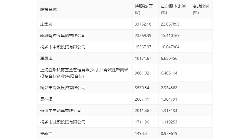
一季报显示,2024年一季度末公司十大流通股东中,新进股东为吴新兰,取代了上年末的沈健彧。在具体持股比例上,香港中央结算有限公司持股有所下降。

筹码集中度方面,截至2024年一季度末,公司股东总户数为2.24万户,较上年末增长了810户,增幅3.76%;户均持股市值由上年末的100.82万元下降至100.18万元,降幅为0.63%。
