chaguwang.cn-查股网.中国
查股网.CN
新凤鸣(603225)内幕信息消息披露
 
个股最新内幕信息查询:    
 

新凤鸣:2023年盈利10.86亿元 负债规模攀升

http://www.chaguwang.cn  2024-03-26  新凤鸣内幕信息

来源 :中国证券报·中证网2024-03-26

  新凤鸣(603225)3月26日披露2023年年报。2023年,公司实现营业总收入614.69亿元,同比增长21.03%;归母净利润10.86亿元,同比扭亏;扣非净利润9.01亿元,同比扭亏;经营活动产生的现金流量净额为36.59亿元,同比增长14.89%;报告期内,新凤鸣基本每股收益为0.72元,加权平均净资产收益率为6.68%。公司2023年年度利润分配预案为:拟向全体股东每10股派2.55元(含税)。

  值得注意的是,公司近年来负债规模呈持续上升态势,资产负债率、有息资产负债率攀升,2023年末有息资产负债率高达47.73%。

  以3月25日收盘价计算,新凤鸣目前市盈率(TTM)约为19.45倍,市净率(LF)约为1.26倍,市销率(TTM)约为0.34倍。

  公司近年市盈率(TTM)、市净率(LF)、市销率(TTM)历史分位图如下所示:

  数据统计显示,新凤鸣近三年营业总收入复合增长率为18.45%,近三年净利润复合年增长率为21.67%。

  分产品来看,2023年公司主营业务中,POY收入314.58亿元,同比增长15.38%,占营业收入的51.18%;FDY收入109.05亿元,同比增长20.01%,占营业收入的17.74%;短纤收入76.08亿元,同比增长140.43%,占营业收入的12.38%。

  截至2023年末,公司员工总数为16749人,人均创收367.00万元,人均创利6.48万元,人均薪酬11.14万元,较上年同期分别变化6.99%、567.13%、-6.16%。

  2023年,公司毛利率为5.84%,同比上升2.13个百分点;净利率为1.77%,较上年同期上升2.17个百分点。从单季度指标来看,2023年第四季度公司毛利率为4.52%,同比上升4.98个百分点,环比下降3.12个百分点;净利率为1.16%,较上年同期上升4.97个百分点,较上一季度下降1.38个百分点。

  分产品看,POY、FDY、短纤2023年毛利率分别为4.91%、11.18%、2.37%。

  报告期内,公司前五大客户合计销售金额61.14亿元,占总销售金额比例为9.95%,公司前五名供应商合计采购金额238.43亿元,占年度采购总额比例为44.43%。

  数据显示,2023年公司加权平均净资产收益率为6.68%,较上年同期增长7.96个百分点;公司2023年投入资本回报率为4.27%,较上年同期增长4.01个百分点。

  2023年,公司经营活动现金流净额为36.59亿元,同比增长14.89%;筹资活动现金流净额5.65亿元,同比减少24.44亿元;投资活动现金流净额-34.22亿元,上年同期为-54.17亿元。

  进一步统计发现,2023年公司自由现金流为9.43亿元,上年同期为-30.01亿元。

  2023年,公司营业收入现金比为114.10%,净现比为336.91%。

  营运能力方面,2023年,公司公司总资产周转率为1.42次,上年同期为1.29次(2022年行业平均值为0.64次,公司位居同行业3/23);固定资产周转率为2.58次,上年同期为2.38次(2022年行业平均值为2.08次,公司位居同行业12/23);公司应收账款周转率、存货周转率分别为79.77次、14.42次。

  2023年,公司期间费用为25.02亿元,较上年同期增加1.39亿元;但期间费用率为4.07%,较上年同期下降0.58个百分点。其中,销售费用同比增长19.72%,管理费用同比增长6.28%,研发费用同比增长11.17%,财务费用同比下降7.13%。

  资产重大变化方面,截至2023年年末,公司在建工程较上年末减少44.77%,占公司总资产比重下降3.66个百分点;货币资金较上年末增加28.95%,占公司总资产比重上升2.74个百分点;应收账款较上年末增加67.57%,占公司总资产比重上升0.75个百分点;固定资产较上年末增加10.61%,占公司总资产比重上升0.67个百分点。

  负债重大变化方面,截至2023年年末,公司短期借款较上年末增加8.37%,占公司总资产比重下降0.18个百分点;应付票据较上年末增加52.52%,占公司总资产比重上升1.14个百分点;长期借款较上年末增加7.12%,占公司总资产比重下降0.35个百分点;一年内到期的非流动负债较上年末增加11.91%,占公司总资产比重上升0.11个百分点。

  从存货变动来看,截至2023年末,公司存货账面价值为43.09亿元,占净资产的25.65%,较上年末增加5.9亿元。其中,存货跌价准备为2281.47万元,计提比例为0.53%。

  2023年全年,公司研发投入金额为11.98亿元,同比增长11.17%;研发投入占营业收入比例为1.95%,相比上年同期下降0.17个百分点。此外,公司全年研发投入资本化率为0。

  在偿债能力方面,公司2023年年末资产负债率为62.79%,相比上年末上升0.81个百分点;有息资产负债率为47.73%,相比上年末下降0.68个百分点。

  2023年,公司流动比率为0.87,速动比率为0.61。

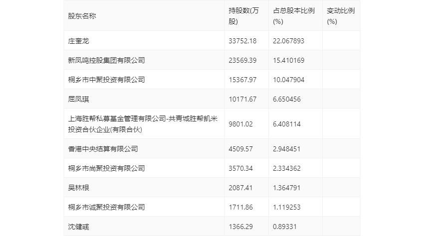
  年报显示,2023年年末公司十大流通股东中,持股最多的为庄奎龙,占比22.07%。十大流通股东名单相比2023年三季报维持不变。在具体持股比例上,香港中央结算有限公司持股有所上升,庄奎龙、新凤鸣控股集团有限公司、桐乡市中聚投资有限公司、屈凤琪、上海胜帮私募基金管理有限公司-共青城胜帮凯米投资合伙企业(有限合伙)持股有所下降。

  筹码集中度方面,截至2023年年末,公司股东总户数为2.15万户,较三季度末下降了1003户,降幅4.45%;户均持股市值由三季度末的89.21万元上升至100.82万元,增幅为13.01%。

  指标注解:

  市盈率

  =总市值/净利润。当公司亏损时市盈率为负,此时用市盈率估值没有实际意义,往往用市净率或市销率做参考。

  市净率

  =总市值/净资产。市净率估值法多用于盈利波动较大而净资产相对稳定的公司。

  市销率

  =总市值/营业收入。市销率估值法通常用于亏损或微利的成长型公司。

  文中市盈率和市销率采用TTM方式,即以截至最近一期财报(含预报)12个月的数据计算。市净率采用LF方式,即以最近一期财报数据计算。

  市盈率为负时,不显示当期分位数,会导致折线图中断。

有问题请联系 767871486@qq.com 商务合作广告联系 QQ:767871486
www.chaguwang.cn 查股网