来源 :电子发烧友网2023-10-20
深圳市汇顶科技股份有限公司荣获“芯片及芯片的制造方法”专利。授权公告日为10月17日,授权公告号为cn111699551b。

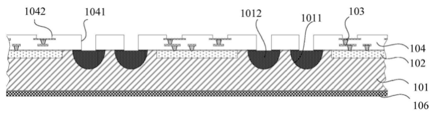
根据专利摘要,芯片及其芯片制造方法。芯片包括芯片本体(10)。芯片本体(10)包括:衬底(101)、器件层(102)和多孔硅结构,器件层(102)位于衬底(101);多孔硅结构设置于衬底(101)上,多孔硅结构用于与化学开盖溶液反应以破坏芯片本体(10)。
芯片是一种化学开盖溶液,硝酸与多孔硅结构发生反应,破坏芯片本体,防止芯片内储存的信息被解读或窃取,提高其安全性。