江河集团(601886)8月30日披露2024年半年报。2024年上半年,公司实现营业总收入99.20亿元,同比增长12.10%;归母净利润3.22亿元,同比增长10.23%;扣非净利润2.75亿元,同比增长5.93%;经营活动产生的现金流量净额为-4.52亿元,上年同期为-12.51亿元;报告期内,江河集团基本每股收益为0.28元,加权平均净资产收益率为4.48%。公司2024年半年度利润分配预案为:拟向全体股东每10股派1.5元(含税)。

以8月29日收盘价计算,江河集团目前市盈率(TTM)约为7.2倍,市净率(LF)约为0.7倍,市销率(TTM)约为0.23倍。
公司近年市盈率(TTM)、市净率(LF)、市销率(TTM)历史分位图如下所示:


根据半年报,公司第二季度实现营业总收入58.34亿元,同比增长7.45%,环比增长42.79%;归母净利润1.41亿元,同比增长9.12%,环比下降22.54%;扣非净利润9885.02万元,同比下降14.13%,环比下降44.02%。
半年报显示,公司主营业务分为建筑装饰业务和医疗健康业务两大板块。
分产品来看,2024年上半年公司主营业务中,建筑装饰服务收入93.72亿元,同比增长12.69%,占营业收入的94.48%;医疗健康服务收入5.48亿元,同比增长3.00%,占营业收入的5.52%。
2024年上半年,公司毛利率为15.63%,同比上升0.65个百分点;净利率为3.92%,较上年同期上升0.02个百分点。从单季度指标来看,2024年第二季度公司毛利率为15.48%,同比上升1.61个百分点,环比下降0.36个百分点;净利率为3.04%,较上年同期上升0.06个百分点,较上一季度下降2.14个百分点。
分产品看,建筑装饰服务、医疗健康服务2024年上半年毛利率分别为14.95%、27.31%。
数据显示,2024年上半年公司加权平均净资产收益率为4.48%,较上年同期增长0.02个百分点;公司2024年上半年投入资本回报率为3.80%,较上年同期增长0.01个百分点。
2024年上半年,公司经营活动现金流净额为-4.52亿元,同比增加7.99亿元;筹资活动现金流净额-3.60亿元,同比减少11.24亿元;投资活动现金流净额-1.34亿元,上年同期为-1.28亿元。
进一步统计发现,2024年上半年公司自由现金流为-6.04亿元,上年同期为-12.65亿元。
2024年上半年,公司营业收入现金比为105.37%,净现比为-140.16%。
营运能力方面,2024年上半年,公司总资产周转率为0.35次,上年同期为0.32次(2023年上半年行业平均值为0.19次,公司位居同行业4/24);固定资产周转率为7.39次,上年同期为7.06次(2023年上半年行业平均值为4.60次,公司位居同行业9/24);公司应收账款周转率、存货周转率分别为0.80次、7.89次。
2024年上半年,公司期间费用为9.88亿元,较上年同期增加9427.40万元;但期间费用率为9.96%,较上年同期下降0.14个百分点。其中,销售费用同比增长25.51%,管理费用同比增长12.49%,研发费用同比增长7.32%,财务费用同比下降10.47%。
资产重大变化方面,截至2024年上半年末,公司货币资金较上年末减少18.80%,占公司总资产比重下降2.92个百分点;应收账款较上年末增加3.29%,占公司总资产比重上升1.90个百分点;在建工程较上年末增加30.09%,占公司总资产比重上升0.36个百分点;合同资产较上年末增加1.36%,占公司总资产比重上升0.32个百分点。
负债重大变化方面,截至2024年上半年末,公司应付账款较上年末减少10.85%,占公司总资产比重下降3.18个百分点;应付票据较上年末增加11.79%,占公司总资产比重上升2.45个百分点;应付职工薪酬较上年末减少56.79%,占公司总资产比重下降0.88个百分点;一年内到期的非流动负债较上年末增加27.26%,占公司总资产比重上升0.34个百分点。
从存货变动来看,截至2024年上半年末,公司存货账面价值为10.76亿元,占净资产的14.99%,较上年末增加3022.04万元。其中,存货跌价准备为3047.41万元,计提比例为2.75%。
在偿债能力方面,公司2024年上半年末资产负债率为70.04%,相比上年末下降0.92个百分点;有息资产负债率为9.02%,相比上年末上升0.68个百分点。
2024年上半年,公司流动比率为1.22,速动比率为1.16。
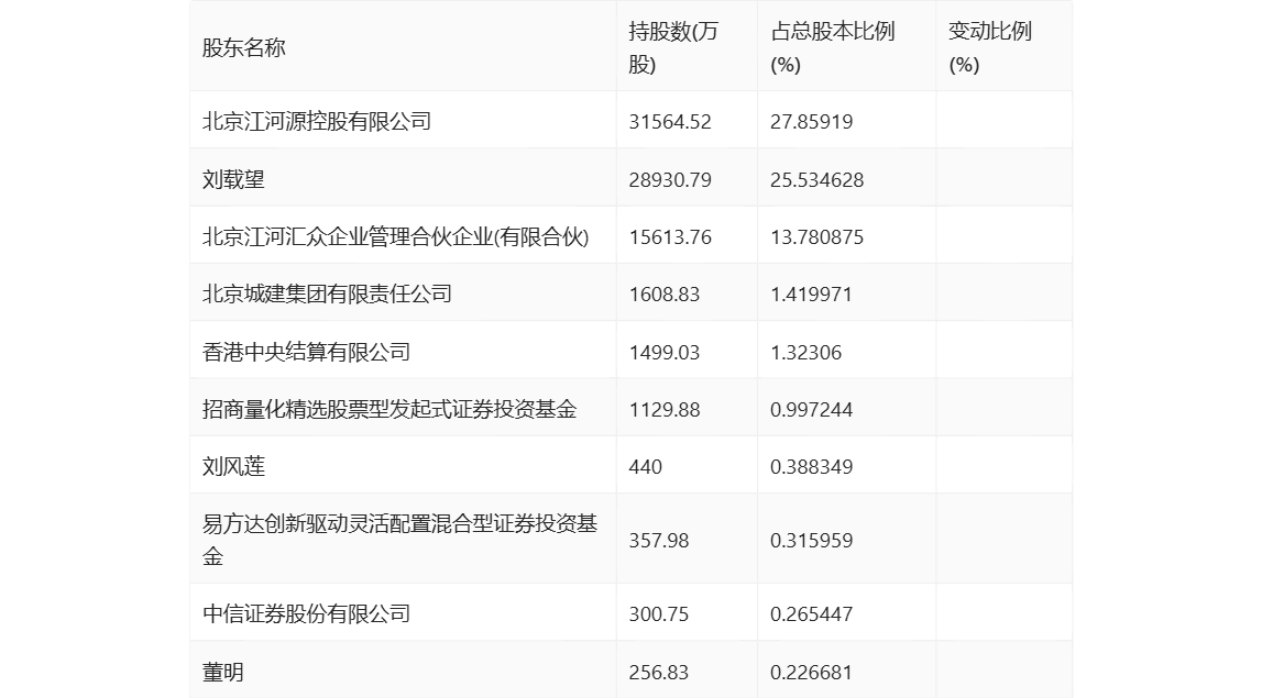
半年报显示,2024年上半年末公司十大流通股东中,新进股东为刘风莲、董明,取代了一季度末的华夏核心制造混合型证券投资基金、华夏成长先锋一年持有期混合型证券投资基金。在具体持股比例上,香港中央结算有限公司、招商量化精选股票型发起式证券投资基金持股有所上升,易方达创新驱动灵活配置混合型证券投资基金、中信证券股份有限公司持股有所下降。
值得注意的是,根据半年报数据,江河集团34.82%股份处于质押状态。其中,第一大股东北京江河源控股有限公司质押1.49亿股公司股份,占其全部持股的47.18%。
筹码集中度方面,截至2024年上半年末,公司股东总户数为2.26万户,较一季度末增长了2223户,增幅10.91%;户均持股市值由一季度末的35.35万元下降至24.46万元,降幅为30.81%。
指标注解:
市盈率
=总市值/净利润。当公司亏损时市盈率为负,此时用市盈率估值没有实际意义,往往用市净率或市销率做参考。
市净率
=总市值/净资产。市净率估值法多用于盈利波动较大而净资产相对稳定的公司。
市销率
=总市值/营业收入。市销率估值法通常用于亏损或微利的成长型公司。
文中市盈率和市销率采用TTM方式,即以截至最近一期财报(含预报)12个月的数据计算。市净率采用LF方式,即以最近一期财报数据计算。
市盈率为负时,不显示当期分位数,会导致折线图中断。