有人衣锦还乡,有人星夜赶考。基金公司股权的转让与受让在近一两年格外热闹。
3月30日,记者从上海联合产权交易所获悉,上海银行拟转让上银基金管理有限基金(以下简称“上银基金”)20%股权,据悉,转让价格为3.388亿元,信息披露日期为3月30日至4月26日。
此外,记者发现,上银基金第二大股东中国机械工业集团有限公司所持有的10%股权曾多次谋求转让,但目前还未转让成功。
上银基金股权为何频遭出售?
上银基金股权转让进行时
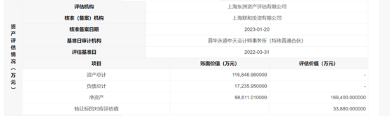
据上海联合产权交易所信息显示,上海银行拟转让上银基金20%股权,转让价格为3.388亿元。上海东洲资产评估有限公司以2022年3月31日为评估基准日对交易标的评估详情显示,上银基金总资产为11.58亿元,负债总计1.72亿元,净资产账面价值为9.86亿元,净资产评估价值为16.94亿元,转让标的对应评估值为3.39亿元。


图源:上海联合产权交易所官网
据公开资料显示,上银基金成立于2013年8月,注册资本为3亿元,其股东分别为上海银行和中国机械工业集团有限公司,持股比例分别为90%、10%。
不过,值得关注的是,上银基金的股东们不是第一次动了卖掉股权的心思。据上海联合产权交易所官网显示,上银基金股权在2021年12月1日也曾挂牌转让,挂牌转让价格为1.66亿元。2022年6月11日,由于该项目存在影响产权交易的事项,该股权转让被中止。而后再次挂牌,价格为1.58亿元,相比前一次降价了831万元,降价幅度接近5%。
如此看来,上银基金的股东们似乎并不看好上银基金并且出售其股权的意图十分明显,除了二股东急于出手所有股权,大股东上海银行也欲卖掉其20%的股权。
高管变动频繁,去年多只基金“流产”
视线回到上银基金本身,其近年来的麻烦事也不少。
从高管变动方面,上银基金3年内就有9次变动。去年年底,上银基金发布高级管理人员变更公告称,公司原总经理刘小鹏因个人原因离任,公司原副总经理唐云因任期届满离任,由公司原副总经理尉迟平接任公司总经理职务。
时间追溯到2019年,时任上海银行副行长兼上海银行浦西分行党委书记的汪明担任上银基金董事长一职后,上银基金高管的“集体跳槽”事件又闹得沸沸扬扬。当年4月,上银基金时任总经理李永飞带领多位高层欲自立门户的消息,引起业内广泛热议。
随后将近两年时间内,上银基金先后有督察长史振生、副总经理黄言、李湧、汪天光4位高管离任。从2020年起,上银基金就进行了9次高管变动,其中7位高管离任。
业内人士认为,公募基金公司高管变动,在一定程度上会影响公司内部的重要决策的,若是一家基金公司内部高管频繁变动也会对其发展产生不利影响。
从基金规模看,截止至2022年末,上银基金的管理规模为1319.70亿元,在管产品为47只,而对比同为银行系的工银瑞信基金与建信基金,规模已超过7000亿元,上银基金的规模在15家银行系公募中排名靠后。
从产品来看,上银基金去年发行基金多只失败。2022年12月10日,上银基金发布公告称,由上银基金投资副总监亲自挂帅的上银丰和一年持有期混合截至募集期届满,不能满足基金备案条件,基金合同不能生效。这已经是上银基金2022年第24只未能募集成功的基金。
据上银基金发布的公告,去年上银基金共新发33只新基金,已超七成未能发行成功。银行系的基金本来都是含着金汤匙出身的“富二代”,背靠银行具有天然的优势,如今上银基金竟在发行上较为困难。
近期频现基金公司股权转让
记者整理近期公告时发现,公募基金股权转让并不止上银基金一家。去年12月,民生加银基金的股东三峡财务拟转让其持有的民生加银基金6.67%股权,转让底价约为1.49亿元,这也是该股东数次转让民生加银基金股权。今年,诺安基金也发生了公司股权挂牌转让情况,诺安股东大恒科技转让其20%股权。
公募基金收入来源为基金管理费,因此,基金的资产管理规模的大小极大程度左右着该公司与股东方的利润。一旦跨过资产管理规模的盈亏平衡点,其相对稳定的管理费收入则会成为股东的“摇钱树”。
近年来,公募基金行业“内卷”严重,资金也向头部基金公司和绩优型基金经理靠拢,一位不具名的投资人士向记者表示,“公募基金的投资价值取决于标的的质地,那些投研实力一般、又不太稳定的公募基金公司的吸引力有限。”他进一步表示,“另一方面,背后多种原因,原始股东也会考虑将持有股权变现,落袋为安。”
对于转让股权是否会对基金公司本身造成影响?上述人士表示,“基金公司股权转让是资本市场上常见的市场化行为,只要转让的股权份额不高,一般也不会对其运营造成太大的影响。若是转让过于频繁,或会对公司的发展造成一定程度上的阻碍。”