来源 :科技金融在线2025-01-03
1月2日,兴业银行微信公众号发布消息称,福建省领导慰问参加该行年终决算一线干部员工。

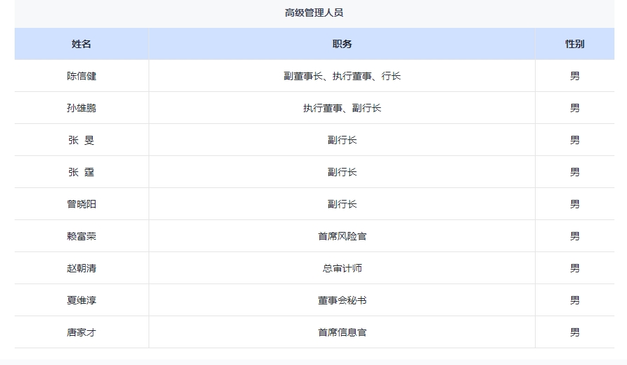
其中,提及拟任副行长杨柳,党委委员、副行长曾晓阳一行则来到行政后勤部、国际业务部、特殊资产经营部、福建管理部、审计部等单位,向坚守岗位的一线干部员工及家属致以亲切的问候,并了解年底各项重点工作落实情况。

杨柳拥有20多年的海内外资产管理等金融工作经历,曾任农业银行子行——中刚非洲银行股权董事、财政部中国政企合作基金股权董事、国资委国企结构调整基金股权董事、北京通州副中心基金联席董事长;农业银行资产管理部副总经理。
2019年8月,农银理财在北京开业,杨柳出任该公司首任监事长。2023年10月31日,宁德市人大常委会通过的人事任免信息显示,杨柳被任命为宁德市人民政府副市长。
据兴业银行官网显示,现任副行长包括孙雄鹏、张旻、张霆和曾晓阳。随着杨柳的到来,兴业银行也将形成“一正五副”格局。

此外,目前,兴业银行四名副行长均为男性,如果杨柳任职资格获批,将成为兴业银行历史上不多见的女性副行长。
近期,兴业银行还公布了几项高管人事调整信息。
2024年12月12日,兴业银行发布了关于首席风险官和总审计师任职资格核准的公告。根据国家金融监督管理总局的批复,赖富荣被核准为该行首席风险官,赵朝清被核准为该行总审计师,任职资格自2024年12月6日起生效。
2024年12月18日,兴业银行发布公告表示,经该行第十一届董事会第一次会议审议,同意聘任唐家才为该行首席信息官。