
天风证券(601162)4月30日披露2023年年报。2023年,公司实现营业总收入34.27亿元,同比增长99.10%;归母净利润3.07亿元,同比扭亏;扣非净利润2.44亿元,同比扭亏;经营活动产生的现金流量净额为90.53亿元,上年同期为-124.49亿元;报告期内,天风证券基本每股收益为0.04元,加权平均净资产收益率为1.32%。



以4月29日收盘价计算,天风证券目前市盈率(TTM)约为86.04倍,市净率(LF)约1.12倍,市销率(TTM)约7.71倍。

公司近年市盈率(TTM)、市净率(LF)、市销率(TTM)历史分位图如下所示:



数据统计显示,天风证券近三年营业总收入复合增长率为-7.71%,在证券Ⅲ行业已披露2023年数据的50家公司中排名第38。近三年净利润复合年增长率为-12.27%,排名36/50。

资料显示,公司主要业务包括证券经纪业务、投资银行业务、自营业务、研究业务、资产管理业务、私募基金管理业务、另类投资业务以及海外业务等。
分产品来看,2023年公司主营业务中,手续费及佣金净收入收入23.42亿元,同比下降23.51%,占营业收入的68.36%;投资收益收入20.00亿元,同比增长554.44%,占营业收入的58.36%;公允价值变动收益收入7.86亿元,同比下降266.91%,占营业收入的22.94%。

截至2023年末,公司员工总数为3893人,人均创收88.02万元,人均创利7.89万元,人均薪酬43.53万元,较上年同期分别变化63.61%、116.80%、-35.77%。

数据显示,2023年公司加权平均净资产收益率为1.32%,较上年同期上升7.56个百分点。

2023年,公司经营活动现金流净额为90.53亿元,同比增加215.03亿元;筹资活动现金流净额-8.38亿元,同比减少53.77亿元;投资活动现金流净额-8.98亿元,上年同期为33.36亿元。

2023年,公司营业收入现金比为498.01%,净现比为2947.13%。

资产重大变化方面,截至2023年年末,公司其他资产较上年末减少22.44%,占公司总资产比重下降3.60个百分点;货币资金较上年末增加14.07%,占公司总资产比重上升2.62个百分点;其他债权投资合计较上年末增加149.89%,占公司总资产比重上升2.24个百分点;交易性金融资产较上年末增加4.48%,占公司总资产比重上升1.20个百分点。

负债重大变化方面,截至2023年年末,公司卖出回购金融资产款较上年末增加71.55%,占公司总资产比重上升3.00个百分点;应付短期融资款较上年末减少44.88%,占公司总资产比重下降2.06个百分点;代理买卖证券款较上年末减少12.25%,占公司总资产比重下降1.23个百分点;其他负债较上年末增加25.72%,占公司总资产比重上升1.02个百分点。

2023年全年,公司研发投入金额为2628.03万元,同比增长107.11%;研发投入占营业收入比例为0.77%,相比上年同期上升0.03个百分点。此外,公司全年研发投入资本化率为0。


在偿债能力方面,公司2023年年末资产负债率为75.30%,相比上年末下降0.45个百分点;有息资产负债率为46.29%,相比上年末下降0.31个百分点。

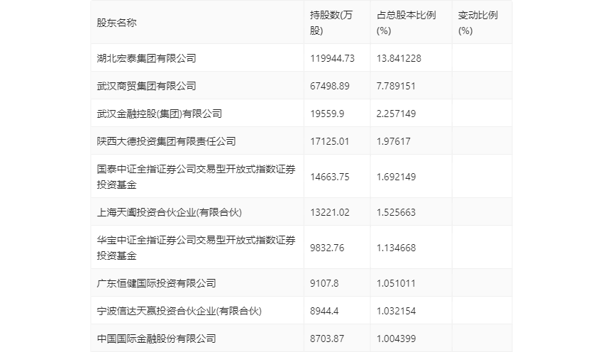
年报显示,2023年年末公司十大流通股东中,持股最多的为湖北宏泰集团有限公司,占比13.84%。十大流通股东名单相比2023年三季报维持不变。在具体持股比例上,国泰中证全指证券公司交易型开放式指数证券投资基金、华宝中证全指证券公司交易型开放式指数证券投资基金持股有所上升,中国国际金融股份有限公司持股有所下降。

筹码集中度方面,截至2023年年末,公司股东总户数为23.81万户,较三季度末下降了5196户,降幅2.14%;户均持股市值由三季度末的11.83万元下降至11.25万元,降幅为4.90%。

指标注解:
市盈率
=总市值/净利润。当公司亏损时市盈率为负,此时用市盈率估值没有实际意义,往往用市净率或市销率做参考。
市净率
=总市值/净资产。市净率估值法多用于盈利波动较大而净资产相对稳定的公司。
市销率
=总市值/营业收入。市销率估值法通常用于亏损或微利的成长型公司。
文中市盈率和市销率采用TTM方式,即以截至最近一期财报(含预报)12个月的数据计算。市净率采用LF方式,即以最近一期财报数据计算。
市盈率为负时,不显示当期分位数,会导致折线图中断。