chaguwang.cn-查股网.中国
查股网.CN
财通证券(601108)内幕信息消息披露
 
个股最新内幕信息查询:    
 

财通证券:两张“1星”罚单,撕开了债券合规的“皇帝新衣”

http://www.chaguwang.cn  2026-03-17  财通证券内幕信息

来源 :新浪财经2026-03-17

  财通证券:两张“1星”罚单,撕开了债券合规的“皇帝新衣”

  来自浙江证监局的两份“喝茶请柬”,点名财通证券两位债券女将。因执业规范失守被监管约谈,并记入诚信档案。这两起看似是“个人行为”的轻量级处罚,却折射出财通证券债券内控长期缺位的又一次精准打脸。

  事件:监管敲个人,板子打在谁身上?

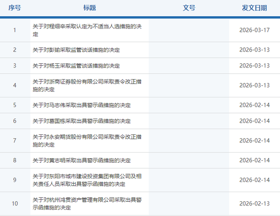
  话说,浙江证监局近期公开了多份监管函,其中,两份涉及同一家券商的个人罚单,显得格外醒目。

  监管函显示,财通证券两名债券业务从业人员彭某、杨某在执业过程中未严格遵守执业规范,违反《公司债券发行与交易管理办法》第六条第一款规定。

  为此,浙江证监局对两人分别采取监管谈话措施,并将相关情况记入证券期货市场诚信档案。

  履历:流动的“合规风险点”,照单全收

  查询中证协历史人员信息,我们找到了这两位女将的履历。略翻之下,感觉有些意思。

  彭某是有着多年经验的债券老兵,曾辗转恒泰长财和华英证券(现为国联民生承销保荐)。2023年,她投奔财通证券。

  杨某的履历更加丰富,八年时间里五易其主,从投行到债券。而她和彭某在华英证券曾是同事,如今又在财通证券“再续前缘”。

  这些在多家机构间流动的“资深骨干”,本身就是合规风险的流动传染源,旧的执业习惯没被校准,新的合规要求没被吃透。而财通证券的入职尽调、岗前培训、日常监督,似乎全程“睁一只眼闭一只眼”,把别人淘汰的风险点,照单全收进了自己的业务体系。

  别忘了,这不是财通证券第一次在债券业务上栽跟头。此前就曾因债券内控执行不到位、内核制衡失效被监管点名。而本次的监管约谈,再次让财通证券的债券合规问题暴露在外界的目光中。

  1星:轻微违规背后的思考

  从处罚性质看,本次属于1星轻微违规,仅针对个人采取监管谈话,未对财通证券作出罚款、业务限制等处罚。但从行业监管趋势看,监管已从机构层面问责,逐步延伸至对从业人员执业行为的精细化监管。财通证券在债券业务持续发展的同时,在内控执行、流程监督、人员合规管理等方面,仍需进一步压实责任,避免小问题反复出现。

  1星罚单,虽力度较轻,却是一次清晰的监管提醒:债券业务从严监管已成常态,执业细节、流程合规、人员管理,都将是监管关注重点。

  对财通证券而言,与其将其视作单次个人事件,不如以此为契机,进一步完善债券业务全链条内控体系,强化对从业人员的常态化合规培训与监督,真正实现业务发展与风控合规同频同步。

  对行业而言,此类案例也具有普遍警示意义:券商在追求业务规模与市场拓展的同时,必须把合规管理嵌入业务全流程,以稳健内控支撑长期发展,才是可持续的经营之道。

有问题请联系 767871486@qq.com 商务合作广告联系 QQ:767871486
Copyright 2007-2026
www.chaguwang.cn 查股网