曾是财通证券创始股东之一,一度跻身十大股东名单的神秘机构,正在挂牌出让“原始股”。虽然这笔股权市值不菲,但仍远未能覆盖其多达十亿的欠款。
惊见质押股权
浏览“京东”的行家,意外瞥到了一个颇为熟悉的名字——财通证券。
这一项在京东资产交易平台挂牌的金融资产,标的名称是“HYB集团财通证券股票“,处置主体为”某金融机构“。

公告内容显示,本金10.08亿元,欠息超过4000万元,由多处抵质押担保,并由JK控股集团有限公司、**商贸物流城有限公司、杭州**科技有限公司、威海**房地产开发有限公司、王**、骆**最高额连带责任保证。
作为抵押物共有三项:一是财通证券3,740.66万股股权质押;二是湖南怀化经开区房地产和怀化经开区武陵山现代商贸物流城1栋C区房地产和(一期)D区房地产(下称“怀化地产”);三是位于杭州市建国中路27号四层房地产和江城路889号房地产(下称“杭州地产”)。
对于资产亮点,公告进行了展示:怀化地产建筑总面积11.35万平方米,土地面积3.54万平方米,部分租赁,已多轮查封。杭州地产建筑面积886.19平方米,土地面积195.7平方米,位于杭州核心繁华区、价值较为稳定。
公告特别提及,财通证券作为综合型券商,业绩近期走势相对平稳,波动较小。以前30日均价7.75元/股计算,市值约2.899亿元。
曾是原始股东
3,740.66万股,并不是小数目。
截至今年一季度末,财通证券控股股东浙江省金融控股有限公司(简称:浙江金控)持股13.54亿股,占比29.16%;其一致行动人浙江省财务开发有限责任公司(简称:浙江财开)持股1.50亿股,占比3.24%。其余股东持股比例均较低,排名第十的股东嘉兴市嘉国金投控股集团有限公司(简称:嘉国金投)持股4,420万股,比例为0.95%。
行家感到好奇的是,究竟是谁在质押财通证券股权。
线索,就出现在公告补充材料中,因为这份文件名称赫然写着“回音必”。
要知道,财通证券招股书中,有17次提及回音必集团有限公司(简称:回音必)。早在2008年,回音必就以2.51元/股价格入股财通证券;彼时持股4,500万股,比例为3.993%,为并列第三的股东。

经过多次增资和股权转让,2013年财通证券完成股份制改造,回音必是25家发起人之一。2017年10月24日,财通证券敲钟上市之际,回音必持股3,471.43万股,占比1.04%;部分股份最长锁定期三年。

从2020年三季报到2022年一季报,回音必连续出现在财通证券十大股东中。最后亮相的2022年一季度末,回音必持股3,740.66万股,占比1.04%,全部处于质押状态。
本命年的落寞
作为民营医药企业,回音必成立于2000年初,今年正值本命年。曾经有着诸多光环,如今却是一片落寞。
信息显示,回音必在2023年曾荣获中国制造业企业500强,浙江省民营企业百强榜单。
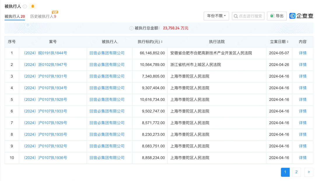
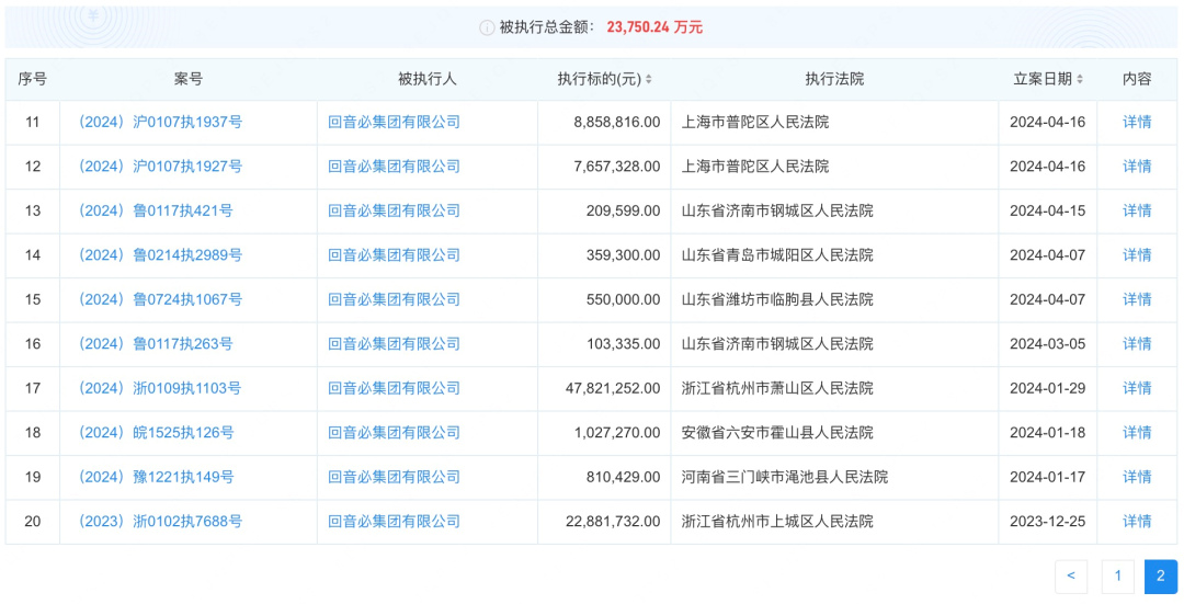
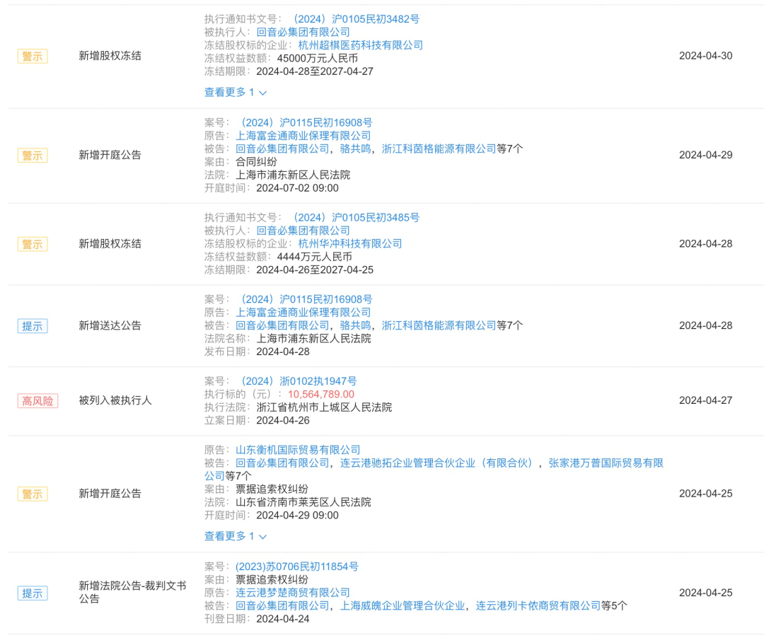
2023年12月以来有20条被执行信息,金额合计2.375亿元。今年1月以来,回音必新增4条限高信息和1条失信被执行信息。此外,还有金额不详的票据违约。



骤然下降的业绩
颇有些相似的,还有财通证券的走势。
想当年,财通证券的发行价为11.38元/股,敲钟后股价震荡上行,一度达到22.62元/股。而在今日(2024年5月8日)收盘,财通证券股价仅为7.53元/股。目前的市净率为1.01,在43家上市券商中排名第30位,有着“破净”风险。

这或许与业绩“变脸”有关。2023年,财通证券营业收入65.17亿元,同比增长35.03%;归母净利润22.52亿元,同比增长48.43%。而在2024年一季度,财通证券营业收入14.10亿元,同比下降21.03%;归母净利润4.56亿元,同比下降7.68%。