来源 :证券时报网2023-07-27
7月27日,上证指数、深证成指、创业板指早盘冲高回落,午后持续回落;科创50指数早盘冲高回落,午后震荡下探。截至收盘,上证指数报3216.67点,跌0.2%,成交额3321.45亿元;深证成指报10923.77点,跌0.41%,成交额4478.74亿元;创业板指报2184.10点,跌0.32%,成交额1879.09亿元;科创50指数报952.30点,跌0.97%,成交额474.55亿元。沪深两市合计成交7800.19亿元,成交额较上一交易日减少121.39亿元。
资金流向
1.主力资金
统计显示,沪深两市主力资金今日净流出243.21亿元。其中,创业板主力资金净流出73.97亿元,沪深300成分股主力资金净流出35.82亿元,科创板主力资金净流出3.93亿元。
从行业板块来看,申万所属的31个一级行业,今日有5个行业板块主力资金呈现净流入,其中,银行行业板块主力资金净流入最多,净流入金额4.94亿元;行业板块主力资金净流入居前的还有食品饮料、国防军工,净流入金额分别为4.02亿元、3.47亿元。26个行业板块主力资金呈现净流出,其中,电子行业板块主力资金净流出最多,净流出金额为43.46亿元;行业板块主力资金净流出靠前的还有计算机、传媒、通信、房地产、机械设备、非银金融,净流出金额分别为28.4亿元、21.74亿元、19.56亿元、18.16亿元、14.5亿元、14.1亿元。

个股来看,今日有1792只个股获主力资金净流入,其中,12股获主力资金净流入超1亿元。中国船舶获主力资金净流入最多,净流入金额为3.26亿元;主力资金净流入居前的个股还有中国太保、中国中免、舜禹股份、五粮液、舍得酒业,流入金额分别为3.03亿元、2.65亿元、2.52亿元、1.75亿元、1.58亿元。
此外,3220只个股被主力资金净卖出,其中,55股被主力资金净卖出超1亿元。主力资金净流出最多的个股是长安汽车,净流出金额为5.02亿元;主力资金净流出居前的个股还有东方财富、工业富联、隆基绿能、通富微电、荣盛发展,净流出金额分别为4.21亿元、4.19亿元、3.57亿元、3.35亿元、3.19亿元。

2.北向资金
北向资金今日成交额为989.96亿元,成交净买入37.47亿元,连续3个交易日净买入。其中,沪股通净买入16.11亿元,深股通净买入21.36亿元。
活跃个股方面,北向资金今日净买入较多的有宁德时代、贵州茅台、工业富联、伊利股份、亿纬锂能,净买入金额分别为15.18亿元、7.8亿元、5.76亿元、4.07亿元、3.28亿元。北向资金净卖出较多的有隆基绿能、长安汽车、海天味业、东方财富、中国太保,净卖出金额分别为6.65亿元、2.84亿元、2亿元、0.77亿元、0.76亿元。

3.龙虎榜机构资金动向
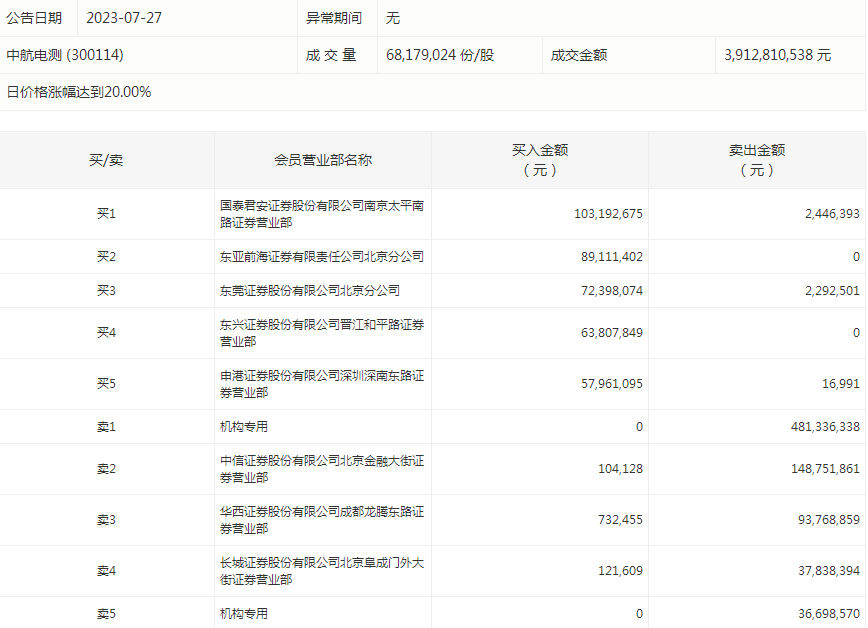
盘后龙虎榜数据显示,今日机构席位资金合计净卖出约2.65亿元。其中,净买入的个股14只,净卖出的个股12只。机构净买入最多的股票是迪马股份,净买入金额约4956.32万元;机构净买入的居前还有山水比德、金科股份、兴民智通、新黄浦、国创高新等股。机构净卖出最多的股票是中航电测,净卖出金额约5.18亿元;机构净卖出居前的还有中南建设、国华网安等股。
中航电测今天涨停。盘后数据显示,2个机构出现在龙虎榜单上,合计净卖出约5.18亿元;国泰君安证券股份有限公司南京太平南路证券营业部买入1.03亿元,同时卖出244.64万元;中信证券股份有限公司北京金融大街证券营业部买入10.41万元,同时卖出1.49亿元。

涨跌停个股
截至收盘,沪深两市合计1259只个股上涨,3571只个股下跌,平盘个股191只,停牌的个股10只。不含当日上市新股,共有26只个股涨停,6只个股跌停。连续涨停天数看,锦和商管已连收4个涨停板,连续涨停板数量最多。
从收盘涨停板封单量来看,国创高新最受追捧,收盘涨停板封单有8524.03万股;其次是山子股份、京威股份,涨停板封单分别有2293.91万股、2048.15万股。以封单金额计算,国创高新、中航电测、北方长龙等涨停板封单资金较多,分别有2.61亿元、1.1亿元、0.96亿元。
行业板块、概念方面看,行业板块跌多涨少。其中,钢铁、银行、保险、汽车、食品饮料、美容护理等行业板块涨幅靠前;汽车一体化压铸、轮毂电机、低碳冶金、白酒、激光雷达、核电核能等概念走势活跃。电子、传媒、通信、轻工制造、建筑装饰、化工、教育、计算机、有色金属等行业板块跌幅居;ERP概念、TOPCon电池、全息技术、摄像头、WiFi、光刻胶、信创、半导体概念、磷化工等概念走势较弱。涨停个股主要集中在汽车、房地产、商贸零售等行业。