chaguwang.cn-查股网.中国
查股网.CN
湖南海利(600731)内幕信息消息披露
个股最新内幕信息查询:
返回查股网主页
收藏查股网(Ctrl+D键)
湖南海利分时资金
湖南海利日线资金
大盘分时DDX数据
大盘历史DDX(日线图)
基本面选股系统
主力资金流向统计
Level-2指标龙虎榜
DDX综合选股(V1)
DDX综合选股(V2)
DDX选股决策(实时)
板块资金流向(实时)
热点板块概念股票
湖南海利研究报告
湖南海利价值分析
湖南海利概念题材
湖南海利内幕消息
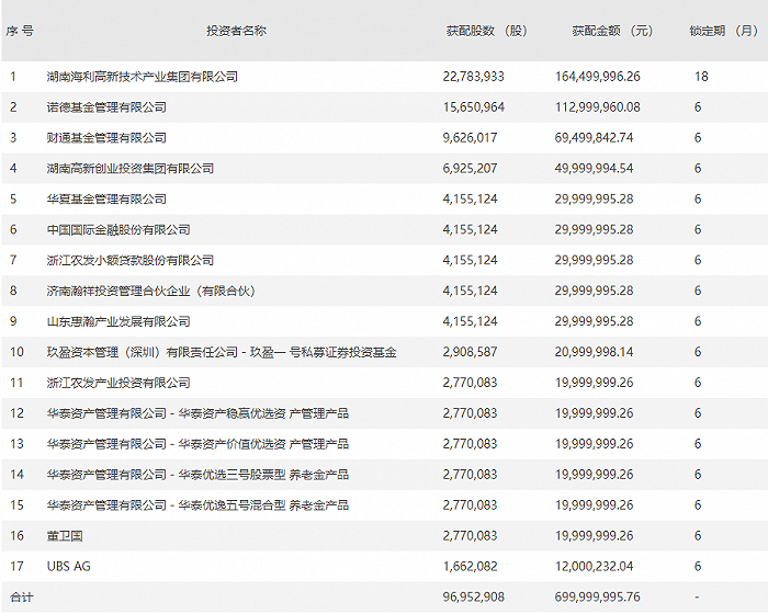
湖南海利:定增募资7亿元,诺德基金、财通基金、华夏基金等17家对象获配
http://www.chaguwang.cn
2023-02-07
湖南海利内幕信息
来源 :界面新闻
2023-02-07
湖南海利2月7日公告,本次非公开发行股票数量为9695.29万股,募集资金7亿元。诺德基金、财通基金、华夏基金等17家对象获配。
有问题请联系
767871486@qq.com
商务合作广告联系
QQ:767871486
www.chaguwang.cn
查股网