chaguwang.cn-查股网.中国
查股网.CN
物产中大(600704)内幕信息消息披露
 
个股最新内幕信息查询:    
 

物产中大拟用超20亿现金收购的镁业公司,背后站着这些上市公司

http://www.chaguwang.cn  2023-07-20  物产中大内幕信息

来源 :银柿财经2023-07-20

  7月20日盘后,国内供应链龙头企业物产中大(600704.SH)发布公告称,公司召开办公会议,审议通过了公司全资子公司物产中大(浙江)产业投资有限公司收购浙江柒鑫合金材料有限公司(以下简称:柒鑫公司)控股权的请示。

  物产中大方面称,本次资产收购的最高交易总金额原则上不超过人民币22.7亿元,将通过现金支付方式进行交易。

  公开资料显示,柒鑫公司成立于2013年12月份,是中国镁行业集产供销于一体的大型股份制集团公司,下设内蒙占金石镁业有限公司、宁夏太阳镁业有限公司和新强金盛镁业有限公司三大生产基地,主营原镁和镁合金,其它产品包括焦炭、硅铁、兰炭、焦油、粗笨等。物产中大在公告中指出,柒鑫公司现有镁锭产能7.3万吨/年。

  “投资柒鑫公司,是公司布局镁行业的重要举措。”物产中大方面表示:“镁是镁合金等新材料的基础原料,向上游资源端延伸符合公司的发展战略和产业投资方向。投资后,公司旗下控股子公司在经营品种上与柒鑫公司可形成较好的协同。”

  值得一提的是,柒鑫公司刚刚有部分股权遭冻结。

  相关资料显示,柒鑫公司一度由知名民营企业盾安控股集团有限公司(以下简称:盾安控股)持股约70%,另30%股份由一家名为嘉兴智镁投资合伙企业(有限合伙)的机构持有。2020年4月以来,或受盾安控股债务危机的影响,柒鑫公司发生大规模股权变动。

   

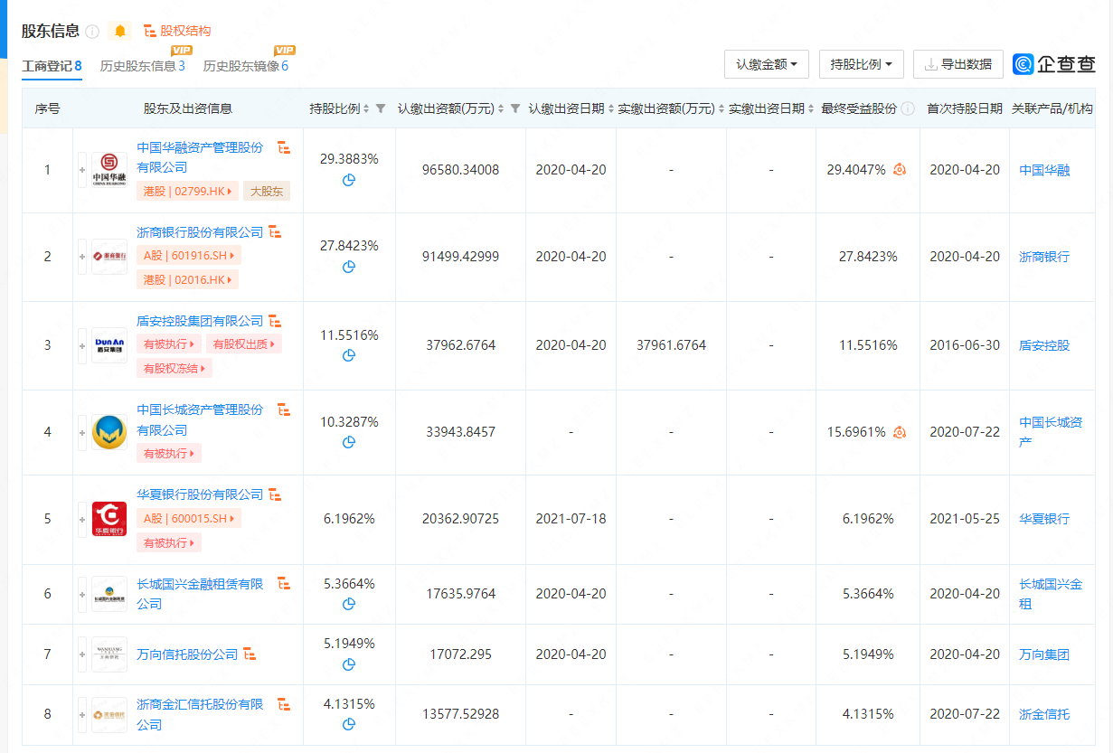
  信息显示,目前,柒鑫公司最大股东为港股上市公司中国华融(02799.HK),持股比例接近30%,另一家AMC公司中国长城资产管理股份有限公司也持有其股份。此外,柒鑫公司的股东还包括浙商银行(601916.SH)、华夏银行(600015.SH)、万向信托,以及浙江东方(600120.SH)、中金公司(601995.SH)、传化集团合资的浙商金汇信托股份有限公司。

   

  盾安控股的持股比例则下降至约11%。此外,2023年4月份和7月份,盾安控股分别有0.85亿元、3.1亿元的柒鑫公司股权遭杭州市中院冻结。

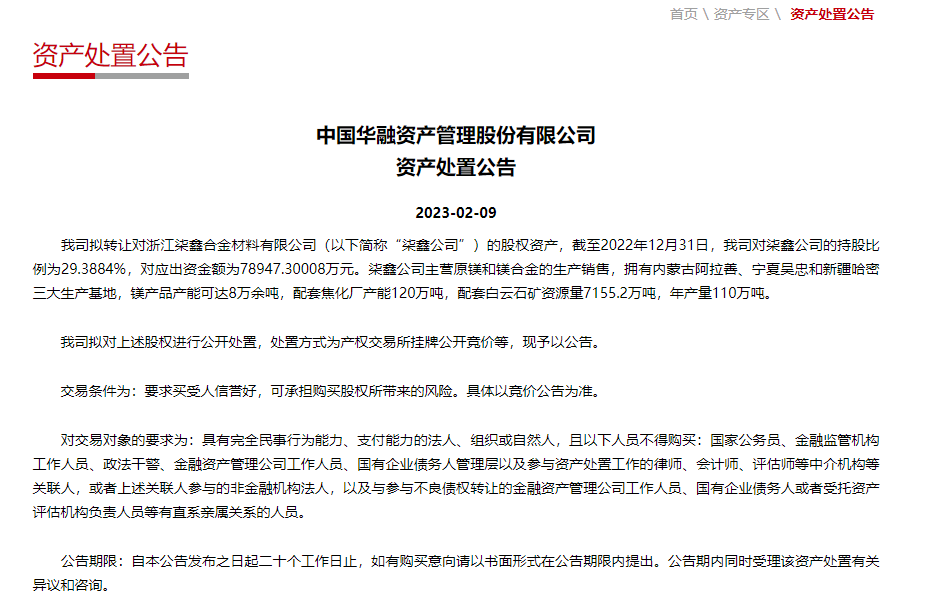
  图片来源:中国华融官网

  银柿财经注意到,就在2023年2月份,中国华融发布了资产处置公告,拟出售其持有的柒鑫公司股权。彼时,华融方面表示,柒鑫公司镁产品产能可达8万余吨,配套焦化厂产能120万吨,配套白云石矿资源量7155.2万吨,年产量110万吨。

  镁是地壳中含量最丰富的元素之一,主要分布在白云石矿、盐湖、海水等资源中。华宝证券的研报显示,我国镁储量和产量全球第一,镁具有比强度、比刚度高,切削加工性以及加工成本低和易于回收等优点,因此应用场景广阔,也是我国独特的战略性金属和新型结构材料。

  近年来,交通工具、电子信息和建筑等行业对镁合金零部件的需求急剧增加。不过,华宝证券也表示,长期来看,在环保、双控等政策的压力下,我国原镁供应或将边际收缩。

有问题请联系 767871486@qq.com 商务合作广告联系 QQ:767871486
www.chaguwang.cn 查股网