6月27日消息,今日,义支付的母公司浙江中国小商品城集团股份有限公司(SH:600415)发布公告,公司董事会于近日收到王栋先生提交的书面辞职报告。因组织上工作安排的原因,王栋先生辞去公司董事长、董事、董事会战略与 ESG 委员会主任委员职务,辞职后,王栋先生将不担任公司任何职务。
截至报告披露日,王栋先生持有公司股票30万股,王栋先生将继续严格遵守《上市公司董事、监事和高级管理人员所持本公司股份及其变动管理规则》《上海证券交易所上市公司自律监管指引第 15 号——股东及董事、监事、高级管理人员减持股份》等相关法律法规的规定。鉴于新任董事长的选举工作尚需经过相应的法定程序,公司将按照法定程序尽快完成公司董事长的补选等相关工作。
小商品诚表示,王栋先生自任职以来,勤勉尽责、恪尽职守,忠实地履行了各项职责,公司及公司董事会对王栋先生在任职期间为公司经营发展和规范治理所做出的贡献表示衷心感谢和诚挚谢意!
据了解,今年4月30日,小商品诚公告披露,公司董事李承群先生和副总经理黄海洋先生、李小宝先生提交的书面辞职报告,因组织上工作调动原因,李承群先生辞去公司第九届董事会董事、薪酬与考核委员会委员职务,黄海洋先生、李小宝先生辞去公司副总经理职务。辞职后,李承群先生、黄海洋先生和李小宝先生将不担任公司任何职务。
另外,金融虎网注意到,6月20日,针对公司去香港设立公司并申请TCSP牌照一事,小商品城在投资者关系活动上回应称,公司运营着全球最大的小商品交易市场,与230多个国家和地区保持贸易往来,天然拥有海量、高频的跨境商贸结算场景。公司积极探索利用金融科技提升贸易便利化水平。稳定币等创新支付工具有潜力为全球客商,特别是中小微企业,提供更高效、低成本的跨境支付解决方案,契合我们服务实体贸易的宗旨。
小商品城表示,我们欢迎并支持香港在稳定币监管框架上的积极进展,公司旗下跨境支付平台“义支付”(Yiwu Pay)将持续关注相关法规进程,并将在法规明确、路径畅通后,积极评估并尽快提交相关申请。我们致力于将自身庞大的实体贸易场景优势与金融科技创新相结合,为全球客商创造更大价值,为提升日用消费品流通贡献力量。
香港TCSP牌照的核心价值在于:法律合规性—确保业务符合香港及国际反洗钱法规;业务合法性—授权开展公司/信托服务;风险防控—通过严格KYC/AML程序降低金融犯罪风险;市场竞争力—持牌资质是吸引高端客户(如家族办公室、跨境投资)的关键凭证。结合跨境支付基础,申请TCSP牌照有助于为有需求的客户设计提供定制化财富管理及金融解决方案,这将进一步丰富义支付的服务维度,使其从支付工具升级为具备更全面金融功能的服务平台,增强竞争力并开辟新增长点。
此外,公司通过人工智能生成内容(AIGC)赋能小商品商贸应用领域,覆盖商品展示、贸易撮合、流量营销等关键贸易环节,推动传统市场与外贸生态场景的深度结合。Chinagoods平台自2023年10月以来发布了一系列AI数字应用,包括小商AI视频翻译,AI翻译官,AI店铺助理,小商AI设计,AI独立站,小商AI名片和小商AI视创等,累计使用及访问次数超10亿人次,用户数累计超20万,经营户私域流量活跃度增长72%,深度使用用户订单增长20%以上。平台还构建统一大会员体系,联动公司市场板块、会展板块、酒店板块、爱喜猫和指尖食堂品牌等六大业务场景及外商餐厅服务场景,开发“义乌小商品城会员”系列服务应用。2025年公司加速Chinagoods平台智能化升级,强化市场数字化履约与供应链能力。
今年一季度,小商品城的营业收入为31.61亿元,同比增长17.93%;归属于上市公司股东的净利润为8.03亿元,同比增长12.66%;归属于上市公司股东的扣除非经常性损益的净利润为7.95亿元,同比增长15.14%。
收购快捷通后时隔近三年后董事长首次换人!
公开资料显示,快捷通、义支付、YiwuPay是小商品城旗下的持牌第三方支付机构,由快捷通支付服务有限公司运营,业务涵盖线上线下B2B支付、跨境支付等场景。2022年8月,小商品诚通过收购浙江海尔网络科技有限公司,实现间接控股第三方支付机构快捷通支付服务有限公司。
截至2024年末,义支付已构建起覆盖160多个国家和地区的全球服务网络。?除了支付业务外,小商品城在征信、保理等领域也有所布局。旗下的义乌中国小商品城征信有限公司与浙江中国小商品城集团商业保理有限公司分别提供企业信用信息查询服务和商业保理业务。此外,小商品城的联营公司还包括义乌市惠商小额贷款股份有限公司和稠州金融租赁等。
年报披露,在支付、征信、保理等业务方面,商城征信目前覆盖108万法人,共计1.64亿余条数据。目前授信主体3万余户,授信总额达99.3亿元。商业保理主要服务义乌国际商贸城的商户,主要收入来源于保理融资的利息收入和手续费收入。后期业务规模扩大后,可与银行等资金方合作,获取服务费收入。2024年,小商品城对持股23%的惠商小贷权益法下确认的投资损益为11.7万元,以此推算惠商小贷2024年的净利润为50.87万元。
年报显示,义支付2024年的跨境收款总额超40亿美元,同比增长233%。2024年,快捷通支付净利润6104.40万元,同比增长274.67%。自2023年开展跨境支付业务以来,累计为2.3万家外贸企业开设跨境账户,完成跨境收付款业务3.7万余笔,累计交易规模突破50亿美金。截至2024年末,快捷通支付总资产6.46亿元。
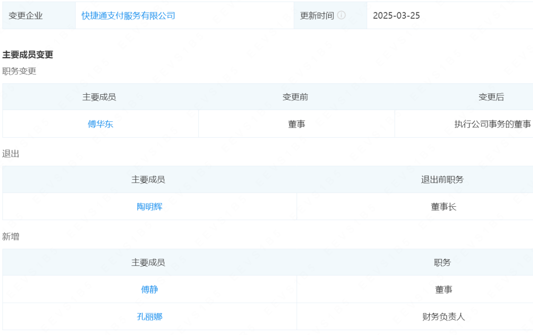
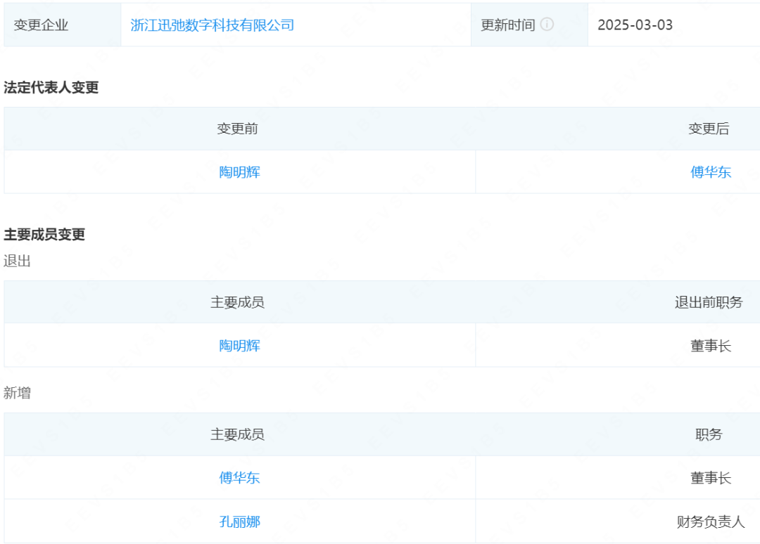
金融虎网注意到,今年3月,义支付运营方快捷通支付进行了增资和人事调整,这也是自小商品诚2022年收购入股快捷通支付后进行的首次重大人事调整。资料显示,快捷通支付注册资本从1.8亿元增加到了2亿元;公司法人从“陶明辉”变更为“傅华东”,陶明辉卸任董事长职务,傅华东成为执行公司事务的董事;公司新增傅静为董事,孔丽娜为财务负责人。同时,快捷通支付的母公司迅弛科技的法人、董事长也从“陶明辉”变更为“傅华东”。据了解,傅华东是小商品诚收购迅弛科技和快捷通支付后的首任法人、董事长,履职时间接近三年。


另据快捷通支付披露的2024年消费者投诉分析报告显示,2024年,公司共受理消费者咨询20755件,受理消费者投诉共23件,投诉受理量环比2024年下降60.34%,客户投诉完结率100%,所有消费者投诉均已妥善处理。交易类客户投诉事件(包括支付掉单类、重复支付类、盗刷等涉及资金变动的相关投诉,较为常见的为投诉调单处理)共8件,其中消费者否认交易投诉2件占交易类客户投诉25%,消费者对交易存在异议,公司接到反馈后及时对接商户与消费者沟通协商处理闭环。服务类客户投诉事件(包括信息查询类、签约认证类、服务态度处理时效等不涉及资金变动的相关投诉)共15件,其中客户签约认证类异常问题投诉11件占服务类客户投诉73.33%,主要为消费者上传影印件操作过程中存在的问题,以及企业信息在工商变更后未及时更新我司账户认证信息引发的服务类投诉。