来源 :大消费之家2024-11-21
近日,贵州省仁怀市椰岛糊涂酒业股份公司(以下简称椰岛糊涂酒业)被抚州市临川区人民法院列为被执行人,执行标的1165万元。
这已经不是椰岛糊涂酒业第一次成为被执行人。据天眼查,今年8月16日椰岛糊涂酒业被执行46.29万,11月14日再次被执行4367元。加上此次强制被执行,椰岛糊涂酒业合计被执行1211.73万元。

图片来自天眼查
椰岛糊涂酒业是海南椰岛与贵州糊涂酒业在2021年共同设立的合资公司,海南椰岛通过全资子公司持有椰岛糊涂酒业80%股份。海南椰岛希望通过五年投资50亿元,将椰岛糊涂酒业打造成贵州仁怀第二大酱酒产业基地。然而事与愿违,椰岛糊涂酒业近两年不仅营收距离目标差距甚远,而且涉及多个司法案件。
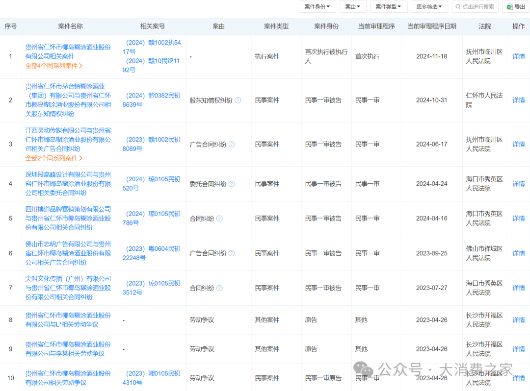
天眼查显示,截至11月21日,椰岛糊涂酒业近两年有14个司法案件,其中有11次是作为被告。案件涉及劳动纠纷、合同纠纷、股东知情权纠纷等。

图片来自天眼查
内部控制缺陷凸显,存在退市风险
椰岛糊涂酒业多次成为被告方,暴露出海南椰岛在内部控制方面存在的问题。自2018年以来,海南椰岛的内部控制缺陷愈发明显。2018年因业绩预告披露不准确且未及时更正,被上交所公开谴责;2024年4月会计师事务所出具带有强调事项段无保留意见的内部控制审计报告;2024年6月其二股东因未完成增持计划被上交所公开谴责。
海南椰岛内部控制缺陷或与股权变更有关。2015年东方财智通过在二级市场增持成为第一大股东,由于当时东方系、海口国资所持股份比例差别不大,此后四年里,海南椰岛处于无控股股东、无实控人的局面。2023年东方君盛所持公司股份股权被司法划转,持股比例由14.17%降至4.13%,海南椰岛第一大股东变更为海口国资。
在海口国资成为第一大股东后,海南椰岛董事长段守奇于2023年6月份上任,并提出要“回归主业发展,积极开拓市场”,聚焦“回归保健酒”。

图为海南椰岛董事长段守奇
然而,董事长段守奇上任后一年多时间里海南椰岛的业绩令人堪忧。今年前三季度海南椰岛实现营收1.63亿元,净利润亏损1010.93万元。其中,第三季度海南椰岛实现营收4175.46万元,净利润亏损1473.76万元。
谈及亏损原因,海南椰岛表示,2024年第三季度由于台风灾害对公司资产造成一定的损失且影响生产进度,同时公司的新产品上市及销售计划未能如期实施,以致三季度销售收入未达预期,毛利无法覆盖经营费用,导致经营亏损。
值得注意的是,海南椰岛业绩已经连亏三年。其中2021年亏损6014万,2022年进一步亏损至11839万,2023年又继续亏损14916万。按照退市新规,海南椰岛如果今年不能扭亏为盈,且营业收入低于3亿元,交易所则会对其实施退市风险警示。