海南椰岛低迷多日的股价,在2月22日这天迎来“暴涨”,盘中一度触及涨停。
消息面上,海南椰岛的控股股东东方君盛持有的上市公司股份在经历了被动减持、流拍等风波之后,陆续等到了竞拍人,“若拍卖最终全部或部分成交,不排除会导致海南椰岛控股股东及实际控制人变更。”
海南椰岛主要从事酒类产品的生产和销售,此前,由于涉及相关合同纠纷,东方君盛持有的上市公司全部股份被质押、冻结或轮候冻结,东方君盛和海南椰岛的实际控制人冯彪被列为失信被执行人,进而导致上市公司控制权存在不稳定因素。
另一方面,海南椰岛这两年陷入业绩亏损泥潭,2021年归属于上市公司股东的净利润约为-6014.09万元,2022年预计归属于上市公司股东的净利润为-1.2亿元至-1亿元。
海南椰岛实控人或生变,董事长实控企业参与股份竞拍
2月22日,海南椰岛的股价开盘即上涨,盘中一度涨停,截至收盘,其当前股价为15.09元/股,单日涨幅为8.48%,公司总市值为67.63亿元。
在2月21日晚间,海南椰岛发布了关于控股股东所持部分股份被司法拍卖的进展公告。
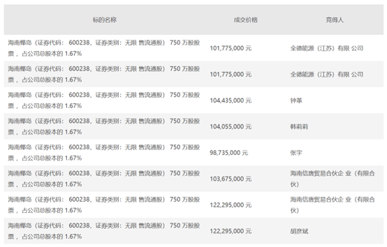
公告显示,东方君盛持有的海南椰岛750万股股份于2023年2月7日至2月8日在淘宝司法拍卖网络平台进行公开拍卖,本次拍卖股份由张寿春竞得。本次拍卖过户后,东方君盛仍持有海南椰岛14.17%的股份,暂未导致上市公司控股股东及实际控制人变更。
同时,海南椰岛提示,2023年2月21日10时至22日10时(延时除外),东方君盛持有的海南椰岛6000万股股份在淘宝司法拍卖网络平台上公开拍卖,占上市公司总股本的13.39%。如本次拍卖最终全部或部分成交,不排除会导致公司控股股东及实际控制人变更。
2月22日下午股市收盘后,海南椰岛在公告中披露了拍卖结果。

图注:网络拍卖竞价结果
根据公告可知,海南信唐贸易合伙企业(有限合伙)(简称“海南信唐”)的实际控制人为海南椰岛的董事长王晓晴。同时,竞得人中的胡彦斌让股民好奇“歌手也来买股票了?”不过,在公告中并没有披露更多关于胡彦斌的信息,暂不知是否属于重名。2月22日,记者致电海南椰岛证券部欲就相关问题进行求证,电话未能接通。
在最新的公告中,海南椰岛提到:若本次拍卖的全部股份成交过户成功,东方君盛仍持有海南椰岛0.78%的股份。若本次拍卖的全部或部分股份成交过户成功,可能会导致公司控股股东及实际控制人发生变更。
实控人冯彪现为失信被执行人,海南椰岛曾易主失败
那么,海南椰岛为何会陷入实控人生变的境地?
新京报贝壳财经记者注意到,截至2022年6月底,东方君盛为海南椰岛的第一大股东,持股比例为18.84%;海口市国有资产经营有限公司为海南椰岛的第二大股东,持股比例为13.46%;其余股东的持股比例均不超过3%。彼时,海南椰岛的控股股东为东方君盛,实际控制人为冯彪。冯彪于1971 年出生,大学本科学历,曾担任海南椰岛董事长、总经理等职务。
截至2022年8月18日,东方君盛暂因涉及相关合同纠纷,持有的海南椰岛全部股份已被质押、冻结或轮候冻结,东方君盛暂被列为失信被执行人;东方君盛实际控制人因涉及东方君盛合同担保,暂被列为失信被执行人。
此前,由于违反了《上市公司收购管理办法》和《上海证券交易所股票上市规则》相关规定,上交所于2022年6月27日对东方君盛及冯彪做出了通报批评的决定。
2022年11月,海南椰岛披露2022年非公开发行A股股票预案,本次发行的募集资金总额不超过65448万元(含本数),扣除发行费用后拟全部用于偿还银行借款与补充流动资金;本次非公开发行股票的发行对象为海南椰岛董事长王晓晴控制的海南信唐,发行后海南椰岛实际控制人将由冯彪变更为王晓晴(1973 年出生)。
这项预案很快遭到上交所的问询。上交所要求海南椰岛结合海南信唐和海口汇翔股权结构变化,冯彪被列为失信被执行人,以及王晓晴的履历背景等情况,说明本次非公开发行股票方案,是否存在冯彪已被列为失信被执行人不符合收购人资格而由他人代理的情形,是否存在潜在利益安排或抽屉协议。
海南椰岛表示:冯彪转让其持有的海南信唐及海口汇翔股权,均是为了巩固王晓晴在海南信唐及海口汇翔的控制权,也是为了顺利推进海南椰岛本次非公开发行股票事项。公司本次非公开发行股票,不存在冯彪已被列为失信被执行人不符合收购人资格而由他人代理的情形,王晓晴与冯彪之间不存在潜在的利益安排或抽屉协议。
不过,在2023年1月6日的股东大会上,这项预案未能通过审议,这意味着,募资约6.5亿的计划告吹,海南椰岛易主失败。
海南椰岛的净利润已经连续两年亏损
海南椰岛的主营业务为酒类产品的生产和销售,主要产品围绕“大健康产业”为中心主干,以滋补型椰岛鹿龟酒、轻养型椰岛海王酒和原产地精酿白酒为公司的“一树三花”战略布局,主要产品包括“椰岛鹿龟酒”、“椰岛海王酒”、“贵台”、“粮酱”等。
此外,海南椰岛布局椰汁类生态饮品和软饮料(非碳酸)业务板块,并结合海南自贸港政策,开展“全球购”进口商品销售及跨境电商经营,同时协同公司产业上下游开展大宗商品贸易与供应链业务。
2021年,海南椰岛的业绩开始陷入亏损,对此,公司方面给出的解释是:“2021年,公司重塑椰岛品牌,稳步推进鹿龟酒、海王酒和白酒的战略布局,通过各种广告宣传及会议推广等形式加大对产品及品牌的宣传力度,当期产生的广告及会议推广费较大,但产品的市场效益存在滞后性,故本年度产生较大经营亏损。”
到了2022年,海南椰岛仍未扭亏,这次,公司方面给出的理由是:“2022年,公司受全国疫情影响,酒类及饮料业务市场动销较慢,酒饮收入未能达到预期,同时因酒类业务战略调整使产品品系变动导致酒类整体毛利率降低,因此当期营业毛利无法覆盖当期的经营费用,出现经营亏损。”