业绩刚有企稳迹象,浦发银行又收到一张大额罚单,这已是七月以来该行收到的第二张。
2025年7月18日,国家金融监管总局北京监管局披露,浦发银行北京分行被处罚款245万元。两名责任人被警告,并分别被处以40万元、20万元的罚款。理由是“因以不正当手段发放贷款、贷款业务严重违反审慎经营规则”。

如今强监管的大环境下,每一张罚单都像是一把高悬的达摩克利斯之剑,警示着金融机构合规经营的重要性,而浦发银行北京分行此次被罚,更是让人们对其内部的经营管理和风险把控产生了诸多疑问。
1
大额罚单背后
如文初杠杆游戏说到的,北京分行此次被罚并非个例,而是呈多点开花态势。
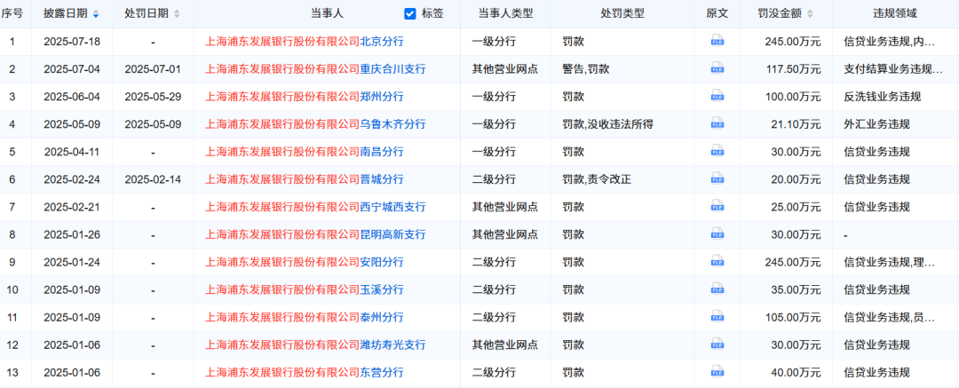
下图企业预警通统计显示,2025年以来,浦发银行共收到国家金融监管系统罚单13张,其中百万级大额罚单共5张。

图表来源|企业预警通(特此感谢)
1月9日,浦发银行泰州分行因项目贷款贷前调查缺失、贷后管理失职及个人贷款资金被挪用等问题,被台州金融监管分局罚款105万元。
随后,安阳分行因贷后管理不到位、个人消费贷款管理不到位、违规处置不良贷款等行为被罚245万元,7名员工同时遭到处分,包括警告、罚款及禁业处罚。
在人民银行系统的罚单中,浦发银行郑州分行因未按规定履行客户身份识别义务被罚100万元;
离此次罚单最近的7月4日,重庆合川支行则因违反账户管理规定、违反金融统计管理规定等“多项违规叠加”被处以117.5万元罚款。
因为监管处罚存在滞后性,部分罚单针对的是几年前发生的违规行为。这些罚单的共同特点是:问题都发生在贷款业务管理链条上,从贷前到贷后,许多环节都有漏洞。
2
业绩回暖另一面
与信贷违规罚单同时出现的,是浦发银行信贷规模的持续扩张。
2024年,该行本外币贷款总额达5.39万亿元,较上年增长7.45%,全年信贷净增量超3700亿元,创历史新高。2025年一季度贷款余额进一步增至5.58万亿元,净增量达到近年单季峰值。

总的业绩来看浦发银行今年有部分改善。一季度营收增速同比由负转正,为+1.31%,459.2亿元。归属净利润增幅则明显缩窄,从2024年同期的+10.04%降为+1.02%。
资产质量指标改善:不良率从2024年末的1.36%降至2025年一季度的1.33%。拨备覆盖率也从186.96%上升。
但表面改善背后存在隐忧。
这里杠杆游戏用三张表,把浦发2024—2025年的财务数据拆开来看。
先看利润表。2024年浦发银行归母净利润452.6亿元,同比增长23.31%,这一增速在股份行中排名第一。
但同期,浦发银行净息差1.42%,同比下行10bps,低于股份行平均的1.61%。其中手续费及佣金净收入占比仅13.36%,严重依赖息差。

2025年一季度末,数据显示,浦发银行的净息差不仅低于其他A股上市的股份制银行,更低于商业银行1.43%的平均水平。
其次是资产负债表:2024年浦发银行总资产9.46万亿元,其中贷款增速7.45%,存款增速仅3.24%,存贷倒挂。其中房地产对公贷款余额约3970.11亿元,同比增加14.83%,占比约4.2%.
最后就是资产质量。在“规模优先”的业绩导向下,浦发银行大量资源向业务一线倾斜,导致中后台的合规风控部门资源不足、压力增大。
2024年浦发银行信用减值损失694.8亿元,2023年768.6亿元,拨备覆盖率2024年186.96%,低于股份行平均的220%左右。2025年一季度这一数据为186.99%,仍低于股份行平均。
3
阵痛之后
某种程度上,浦发银行如今的困境,部分源于历史遗留问题。
这家成立于1992年、1999年在上海证券交易所挂牌上市的老牌银行,曾以“对公之王”响彻业界。
转折点发生在2018年前后。浦发银行成都分行爆出775亿元虚假授信案,成为该行业绩滑坡的分水岭。
此后该行陷入连续三年的业绩泥潭:2021—2023年经历营收净利“双降”。2024年,浦发银行财报才开始显示曙光。

图表来源|东方财富(特此感谢)
在杠杆游戏看来,现阶段浦发银行面临的核心问题是:规模扩张与合规风控如何平衡。这或许要从考核机制方面进行转变。
在规模主导的考核机制下,一些员工为了完成考核指标,可能会忽视风险,采取不正当手段发放贷款或违反审慎经营规则。但这样短视的功利最终也将反噬业绩。
长远来看,浦发银行需建立“合规与增长并重”的信贷体系。
比如战略层面,将合规风控要求及监管指标融入信贷系统设计;
执行层面,构建从总行到基层的体系化合规风控措施,同时强化信贷风险管理体系中合规及监管因子模型的质量。
技术层面,加大资金投入建设数字化风控管理体系,借助AI模型等创新技术提高信贷效率与质量等等。
业务结构优化同样关键。在负债刚性成本攀升、息差持续走低的背景下,浦发银行需要增强综合金融服务能力。
不过道理可能大家都懂,做起来就没那么容易。
侧面来看,浦发银行是一个非常典型的转型期银行发展案例。245万元罚单虽不算巨额,却照出“规模”后遗症,也照出整个银行业从“高速度”转向“高质量”时的阵痛。