诺瓦星云(301589)8月15日披露2024年半年报。2024年上半年,公司实现营业总收入15.63亿元,同比增长17.56%;归母净利润3.24亿元,同比增长37.69%;扣非净利润3.13亿元,同比增长36.69%;经营活动产生的现金流量净额为3622.67万元,上年同期为-9554.70万元;报告期内,诺瓦星云基本每股收益为3.68元,加权平均净资产收益率为10.05%。
以8月14日收盘价计算,诺瓦星云目前市盈率(TTM)约为21.61倍,市净率(LF)约为4.34倍,市销率(TTM)约为4.58倍。
公司近年市盈率(TTM)、市净率(LF)、市销率(TTM)历史分位图如下所示:


根据半年报,公司第二季度实现营业总收入8.82亿元,同比增长13.89%,环比增长29.46%;归母净利润2.02亿元,同比增长33.84%,环比增长64.71%;扣非净利润1.97亿元,同比增长34.85%,环比增长68.79%。
资料显示,公司聚焦于视频和显示控制核心算法研究及应用,为用户提供专业化软硬件综合解决方案。公司业务主要分为三大板块:LED显示控制系统、视频处理系统、基于云的信息发布与管理系统。公司产品广泛应用于LED显示、超高清视频的各种领域,为下游终端客户提供从显示控制、视频处理至云端在线管理全链路的功能服务。
分产品来看,2024年上半年公司主营业务中,LED显示控制系统收入7.57亿元,同比增长18.53%,占营业收入的48.42%;视频处理系统收入6.11亿元,同比增长12.26%,占营业收入的39.12%;基于云的信息发布与管理系统收入0.88亿元,同比增长1.93%,占营业收入的5.62%。
2024年上半年,公司毛利率为55.54%,同比上升6.14个百分点;净利率为20.76%,较上年同期上升3.04个百分点。从单季度指标来看,2024年第二季度公司毛利率为54.59%,同比上升5.46个百分点,环比下降2.18个百分点;净利率为22.89%,较上年同期上升3.41个百分点,较上一季度上升4.90个百分点。
分产品看,LED显示控制系统、视频处理系统、基于云的信息发布与管理系统2024年上半年毛利率分别为46.46%、67.21%、57.75%。
数据显示,2024年上半年公司加权平均净资产收益率为10.05%,较上年同期下降3.93个百分点;公司2024年上半年投入资本回报率为9.24%,较上年同期下降1.00个百分点。
2024年上半年,公司经营活动现金流净额为3622.67万元,同比增加1.32亿元,主要系本期公司销售规模扩大,销售回款增加所致;筹资活动现金流净额8.96亿元,同比增加5.57亿元,主要系本期公司首次公开发行股票收到募集资金款所致;投资活动现金流净额-1.73亿元,上年同期为-1.61亿元。
进一步统计发现,2024年上半年公司自由现金流为1577.59万元,上年同期为-19389.43万元。
2024年上半年,公司营业收入现金比为84.79%,净现比为11.17%。
营运能力方面,2024年上半年,公司公司总资产周转率为0.33次,上年同期为0.41次(2023年上半年行业平均值为0.17次,公司位居同行业8/63);固定资产周转率为3.05次,上年同期为5.24次(2023年上半年行业平均值为4.41次,公司位居同行业18/63);公司应收账款周转率、存货周转率分别为2.03次、0.53次。
2024年上半年,公司期间费用为5.32亿元,较上年同期增加1.22亿元;期间费用率为34.02%,较上年同期上升3.17个百分点。其中,销售费用同比增长28.87%,管理费用同比增长25.1%,研发费用同比增长35.4%,财务费用由去年同期的-62.18万元变为-698.58万元。
资料显示,财务费用的变动主要因为本期银行利息收入增加。
资产重大变化方面,截至2024年上半年末,公司货币资金较上年末增加143.36%,占公司总资产比重上升11.91个百分点;在建工程较上年末减少57.22%,占公司总资产比重下降4.94个百分点;存货较上年末增加9.27%,占公司总资产比重下降3.93个百分点;应收款项融资较上年末减少45.42%,占公司总资产比重下降3.02个百分点。
负债重大变化方面,截至2024年上半年末,公司长期借款较上年末减少35.45%,占公司总资产比重下降5.55个百分点;应付账款较上年末减少28.09%,占公司总资产比重下降6.01个百分点;应付职工薪酬较上年末减少39.75%,占公司总资产比重下降3.02个百分点;应付票据较上年末增加45.26%,占公司总资产比重上升0.71个百分点。
从存货变动来看,截至2024年上半年末,公司存货账面价值为13.81亿元,占净资产的39.81%,较上年末增加1.17亿元。其中,存货跌价准备为3469.96万元,计提比例为2.45%。
在偿债能力方面,公司2024年上半年末资产负债率为33.81%,相比上年末下降14.64个百分点;有息资产负债率为10.09%,相比上年末下降6.09个百分点。
2024年上半年,公司流动比率为2.87,速动比率为1.86。
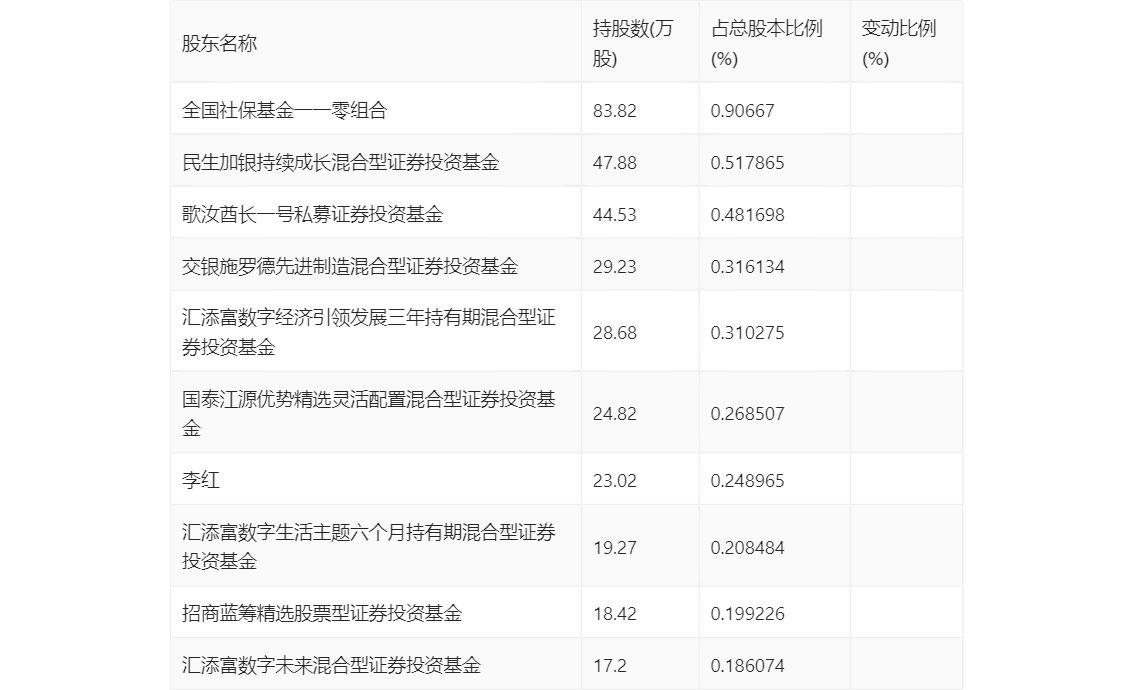
半年报显示,2024年上半年末公司十大流通股东中,新进股东为全国社保基金一一零组合、歌汝酋长一号私募证券投资基金、李红、招商蓝筹精选股票型证券投资基金。在具体持股比例上,民生加银持续成长混合型证券投资基金、交银施罗德先进制造混合型证券投资基金、汇添富数字生活主题六个月持有期混合型证券投资基金持股有所上升,汇添富数字经济引领发展三年持有期混合型证券投资基金、国泰江源优势精选灵活配置混合型证券投资基金、汇添富数字未来混合型证券投资基金持股有所下降。
筹码集中度方面,截至2024年上半年末,公司股东总户数为1.14万户,较一季度末增长了1947户,增幅20.52%;户均持股市值由一季度末的244.46万元下降至157.26万元,降幅为35.67%。
指标注解:
市盈率
=总市值/净利润。当公司亏损时市盈率为负,此时用市盈率估值没有实际意义,往往用市净率或市销率做参考。
市净率
=总市值/净资产。市净率估值法多用于盈利波动较大而净资产相对稳定的公司。
市销率
=总市值/营业收入。市销率估值法通常用于亏损或微利的成长型公司。
文中市盈率和市销率采用TTM方式,即以截至最近一期财报(含预报)12个月的数据计算。市净率采用LF方式,即以最近一期财报数据计算。
市盈率为负时,不显示当期分位数,会导致折线图中断。