chaguwang.cn-查股网.中国
查股网.CN
威士顿(301315)内幕信息消息披露
 
个股最新内幕信息查询:    
 

龙虎榜丨威士顿今日涨6.72%,知名游资现身龙虎榜,赵老哥净卖出900.43万元

http://www.chaguwang.cn  2023-07-20  威士顿内幕信息

来源 :界面新闻2023-07-20

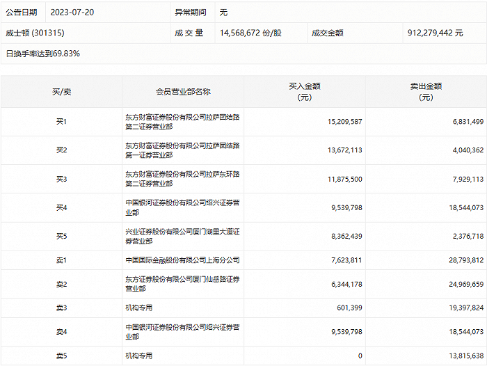
  7月20日,威士顿今日涨6.72%,龙虎榜数据显示,上榜营业部席位全天成交2.0亿元,占当日总成交金额比例为21.92%。其中,买入金额为7322.88万元,卖出金额为1.27亿元,合计净卖出5346.99万元。

  具体来看,机构买入60.14万元,卖出3321.35万元,合计净卖出3261.21万元。此外,知名游资现身龙虎榜,赵老哥(中国银河证券股份有限公司绍兴证券营业部)净卖出900.43万元。此外,东方财富证券拉萨团结路第二证券营业部、东方财富证券拉萨团结路第一证券营业部分别买入1520.96万元、1367.21万元;中国国际金融上海分公司、东方证券厦门仙岳路证券营业部分别卖出2879.38万元、2496.97万元。

  

有问题请联系 767871486@qq.com 商务合作广告联系 QQ:767871486
www.chaguwang.cn 查股网