chaguwang.cn-查股网.中国
查股网.CN
博创科技(300548)内幕信息消息披露
 
个股最新内幕信息查询:    
 

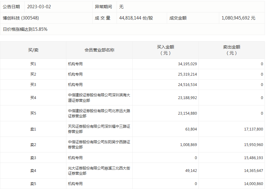
博创科技今天涨15.85% 五机构合计净买入约5454.37万元

http://www.chaguwang.cn  2023-03-02  博创科技内幕信息

来源 :证券时报网2023-03-02

  证券时报网讯,博创科技今天涨15.85%。盘后数据显示,5个机构出现在龙虎榜单上,合计净买入约5454.37万元;中信建投证券股份有限公司深圳滨海大道证券营业部买入2318.9万元;天风证券股份有限公司深圳福中三路证券营业部买入6.38万元,同时卖出1713.78万元;中信证券股份有限公司东阳吴宁西路证券营业部买入100.89万元,同时卖出1595.1万元。

  

有问题请联系 767871486@qq.com 商务合作广告联系 QQ:767871486
www.chaguwang.cn 查股网