航天智装(300455)8月8日披露2024年半年报。2024年上半年,公司实现营业总收入4.76亿元,同比下降9.15%;归母净利润2039.78万元,同比下降9.04%;扣非净利润1932.76万元,同比下降3.46%;经营活动产生的现金流量净额为-8780.88万元,上年同期为-1.95亿元;报告期内,航天智装基本每股收益为0.0284元,加权平均净资产收益率为1.13%。
以8月7日收盘价计算,航天智装目前市盈率(TTM)约为110.63倍,市净率(LF)约为5.44倍,市销率(TTM)约为7.2倍。
公司近年市盈率(TTM)、市净率(LF)、市销率(TTM)历史分位图如下所示:


根据半年报,公司第二季度实现营业总收入2.72亿元,同比下降13.46%,环比增长33.29%;归母净利润1056.42万元,同比下降20.97%,环比增长7.43%;扣非净利润1016.73万元,同比下降11.44%,环比增长10.99%。
半年报显示,公司专注智能装备领域,发挥宇航技术、专业基础和系统工程经验优势,重点聚焦轨道交通、航空航天、核工业三大行业,形成了铁路车辆运行安全检测及检修系统、智能测试仿真系统和微系统与控制部组件、核工业及特殊环境自动化装备三大业务板块的产业格局。报告期内,公司主营业务未发生重大变化。
分产品来看,2024年上半年公司主营业务中,核工业及特殊环境智能装备系统收入2.01亿元,同比下降10.87%,占营业收入的42.31%;智能测试仿真系统和微系统与控制部组件收入1.63亿元,同比下降13.89%,占营业收入的34.22%;铁路车辆运行安全检测及检修系统收入0.96亿元,同比增长4.23%,占营业收入的20.13%。
2024年上半年,公司毛利率为24.09%,同比上升4.27个百分点;净利率为4.29%,较上年同期上升0.01个百分点。从单季度指标来看,2024年第二季度公司毛利率为22.64%,同比上升4.51个百分点,环比下降3.37个百分点;净利率为3.88%,较上年同期下降0.37个百分点,较上一季度下降0.94个百分点。
分产品看,核工业及特殊环境智能装备系统、智能测试仿真系统和微系统与控制部组件、铁路车辆运行安全检测及检修系统2024年上半年毛利率分别为19.20%、18.60%、36.17%。
数据显示,2024年上半年公司加权平均净资产收益率为1.13%,较上年同期下降0.18个百分点;公司2024年上半年投入资本回报率为1.08%,较上年同期下降0.18个百分点。
2024年上半年,公司经营活动现金流净额为-8780.88万元,同比增加1.07亿元,主要系公司优化了现金流的管控,使现金净流量较上期增加所致;筹资活动现金流净额1.14亿元,同比减少5763.07万元,主要系公司优化负债结构,适当降低短期借款比例,降低偿债风险所致;投资活动现金流净额-5036.92万元,上年同期为-4047.81万元。
进一步统计发现,2024年上半年公司自由现金流为-1.64亿元,上年同期为-2.63亿元。
2024年上半年,公司营业收入现金比为68.47%,净现比为-430.48%。
营运能力方面,2024年上半年,公司公司总资产周转率为0.15次,上年同期为0.15次(2023年上半年行业平均值为0.17次,公司位居同行业43/63);固定资产周转率为2.03次,上年同期为2.46次(2023年上半年行业平均值为4.41次,公司位居同行业34/63);公司应收账款周转率、存货周转率分别为0.77次、0.23次。
2024年上半年,公司期间费用为8702.82万元,较上年同期增加712.59万元;期间费用率为18.28%,较上年同期上升3.03个百分点。其中,销售费用同比增长17.16%,管理费用同比增长4.41%,研发费用同比增长16.62%,财务费用同比下降28.55%。
资料显示,财务费用的变动主要因为公司优化负债结构,适当降低短期借款比例,利息费用减少。
资产重大变化方面,截至2024年上半年末,公司应收账款较上年末增加8.00%,占公司总资产比重上升2.00个百分点;货币资金较上年末减少11.27%,占公司总资产比重下降0.57个百分点;其他流动资产较上年末减少70.20%,占公司总资产比重下降0.55个百分点;合同资产较上年末减少34.34%,占公司总资产比重下降0.46个百分点。
负债重大变化方面,截至2024年上半年末,公司合同负债较上年末减少36.97%,占公司总资产比重下降4.88个百分点;短期借款较上年末增加48.76%,占公司总资产比重上升3.91个百分点;应付票据较上年末减少88.36%,占公司总资产比重下降2.23个百分点;应付账款较上年末增加8.26%,占公司总资产比重上升1.78个百分点。
在偿债能力方面,公司2024年上半年末资产负债率为43.49%,相比上年末下降1.84个百分点;有息资产负债率为11.32%,相比上年末上升3.89个百分点。
2024年上半年,公司流动比率为1.92,速动比率为0.75。
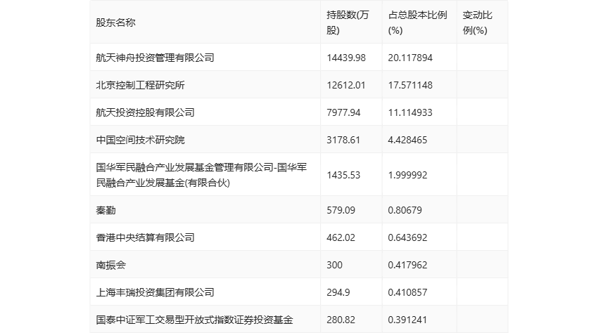
半年报显示,2024年上半年末公司十大流通股东中,新进股东为国泰中证军工交易型开放式指数证券投资基金,取代了一季度末的倪耀华。在具体持股比例上,香港中央结算有限公司、南振会、上海丰瑞投资集团有限公司持股有所下降。
筹码集中度方面,截至2024年上半年末,公司股东总户数为4.51万户,较一季度末增长了7663户,增幅20.47%;户均持股市值由一季度末的20.69万元下降至19.67万元,降幅为4.93%。
指标注解:
市盈率
=总市值/净利润。当公司亏损时市盈率为负,此时用市盈率估值没有实际意义,往往用市净率或市销率做参考。
市净率
=总市值/净资产。市净率估值法多用于盈利波动较大而净资产相对稳定的公司。
市销率
=总市值/营业收入。市销率估值法通常用于亏损或微利的成长型公司。
文中市盈率和市销率采用TTM方式,即以截至最近一期财报(含预报)12个月的数据计算。市净率采用LF方式,即以最近一期财报数据计算。
市盈率为负时,不显示当期分位数,会导致折线图中断。