强力新材(300429)8月30日披露2024年半年度报告。2024年上半年,公司实现营业收入4.65亿元,同比增长19.72%;归母净利润104.68万元,同比扭亏;扣非净利润亏损2550.45万元,上年同期亏损2647.32万元;经营活动产生的现金流量净额为1938.67万元,同比下降75.98%;报告期内,强力新材基本每股收益为0.002元,加权平均净资产收益率为0.06%。
以8月29日收盘价计算,强力新材目前市盈率(TTM)约为-168.21倍,市净率(LF)约为2.74倍,市销率(TTM)约为5.71倍。
公司近年市盈率(TTM)、市净率(LF)、市销率(TTM)历史分位图如下所示:


根据半年报,公司第二季度实现营业收入2.5亿元,同比增长23.78%,环比增长16.61%;归母净利润-1161.46万元,同比增长17.57%,环比下降191.73%;扣非净利润-1271.17万元,同比增长26.38%,环比增长0.63%。
半年报称,公司主营业务包括电子材料(主要是PCB/LCD/半导体光刻胶专用电子化学品、OLED有机材料等)和绿色光固化材料(主要是UV涂料、油墨、胶黏剂、3D打印等用途关键原材料)。
2024年上半年,公司毛利率为22.00%,同比下降1.93个百分点;净利率为0.50%,较上年同期上升4.38个百分点。从单季度指标来看,2024年第二季度公司毛利率为20.26%,同比下降1.89个百分点,环比下降3.77个百分点;净利率为-4.34%,较上年同期上升2.01个百分点,较上一季度下降10.49个百分点。
盈利能力方面, 2024年半年度公司加权平均净资产收益率为0.06%,同比上升0.85个百分点。公司2024年上半年投入资本回报率为0.52%,较上年同期上升0.54个百分点。
2024年上半年,公司经营活动现金流净额为1938.67万元,同比下降75.98%,主要系收到的留抵退税和政府补助减少所致;筹资活动现金流净额-2975.34万元,同比减少5096.58万元,主要系回购股份支付现金所致;投资活动现金流净额1.61亿元,上年同期为-3309.27万元,主要系固定资产投资和大额存单投资较上期减少所致。
进一步统计发现,2024年上半年公司自由现金流为557.07万元,上年同期为-21777.03万元。
2024年上半年,公司营业收入现金比为92.47%,净现比为1851.95%。
营运能力方面,2024年上半年,公司总资产周转率为0.12次,上年同期为0.10次(2023年上半年行业平均值为0.22次,公司位居同行业31/34);固定资产周转率为0.34次,上年同期为0.36次(2023年上半年行业平均值为1.05次,公司位居同行业33/34);公司应收账款周转率、存货周转率分别为3.18次、0.89次。
2024年上半年,公司期间费用为1.24亿元,较上年同期增加2124.63万元;期间费用率为26.67%,较上年同期上升0.21个百分点。其中,销售费用同比增长18.49%,管理费用同比增长4.2%,研发费用同比增长13.18%,财务费用同比增长123.48%。
资料显示,财务费用的变动主要因为借款规模增加致利息费用增加、部分在建工程转固后利息不再资本化。
资产重大变化方面,截至2024年上半年末,公司货币资金较上年末增加22.90%,占公司总资产比重上升2.01个百分点;交易性金融资产较上年末减少44.89%,占公司总资产比重下降1.59个百分点;其他非流动资产较上年末减少14.77%,占公司总资产比重下降0.99个百分点;应收账款较上年末增加25.75%,占公司总资产比重上升0.92个百分点。
负债重大变化方面,截至2024年上半年末,公司长期借款较上年末减少44.61%,占公司总资产比重下降3.98个百分点;一年内到期的非流动负债较上年末增加73.80%,占公司总资产比重上升3.05个百分点;短期借款较上年末增加39.69%,占公司总资产比重上升1.99个百分点;应付账款较上年末减少10.73%,占公司总资产比重下降0.65个百分点。
从存货变动来看,截至2024年上半年末,公司存货账面价值为4.18亿元,占净资产的22.98%,较上年末增加1656.99万元。其中,存货跌价准备为3663.64万元,计提比例为8.06%。
在偿债能力方面,公司2024年上半年末资产负债率为51.17%,相比上年末上升1.01个百分点;有息资产负债率为39.30%,相比上年末上升1.93个百分点。
2024年上半年,公司流动比率为1.42,速动比率为0.91。
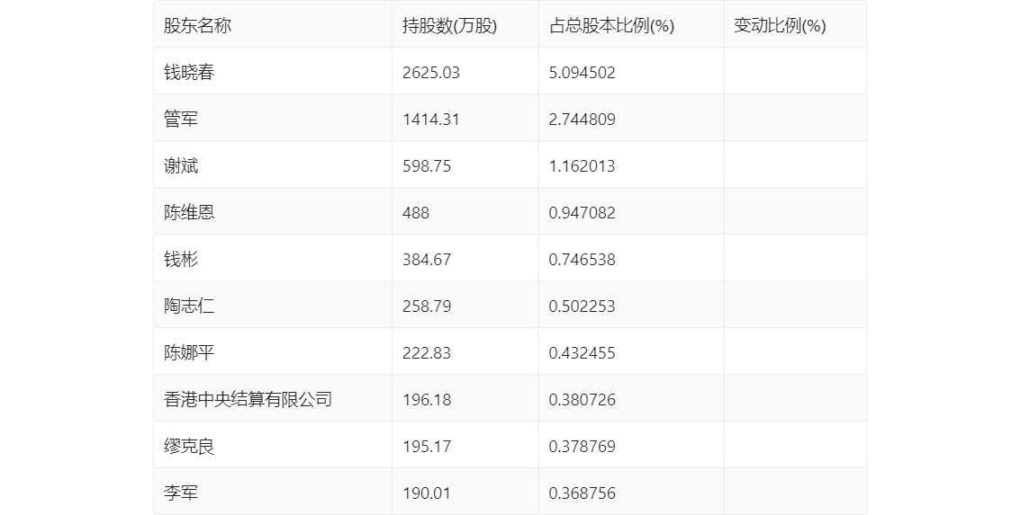
半年报显示,2024年上半年末的公司十大流通股东中,新进股东为陈娜平、香港中央结算有限公司、李军,取代了一季度末的中信建投证券股份有限公司、深圳市正顺资本控股有限公司、常州强力电子新材料股份有限公司回购专用证券账户、谭汉豪。在具体持股比例上,谢斌、陈维恩持股有所上升,钱晓春、管军、钱彬、陶志仁、缪克良持股有所下降。
筹码集中度方面,截至2024年上半年末,公司股东总户数为6.39万户,较一季度末增长了8291户,增幅14.90%;户均持股市值由一季度末的11.35万元下降至9.15万元,降幅为19.38%。
指标注解:
市盈率
=总市值/净利润。当公司亏损时市盈率为负,此时用市盈率估值没有实际意义,往往用市净率或市销率做参考。
市净率
=总市值/净资产。市净率估值法多用于盈利波动较大而净资产相对稳定的公司。
市销率
=总市值/营业收入。市销率估值法通常用于亏损或微利的成长型公司。
文中市盈率和市销率采用TTM方式,即以截至最近一期财报(含预报)12个月的数据计算。市净率采用LF方式,即以最近一期财报数据计算。
市盈率为负时,不显示当期分位数,会导致折线图中断。