来源 :腾讯网2021-08-17
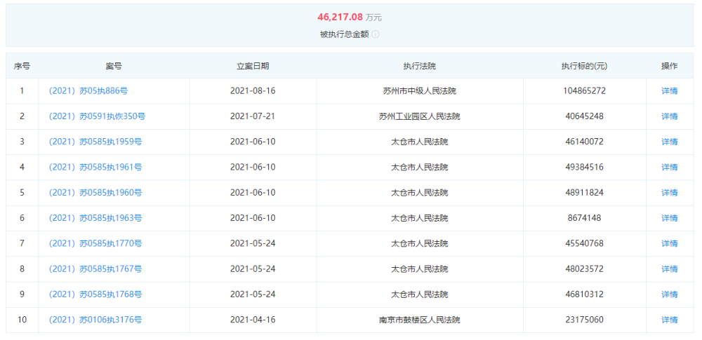
近期德威新材并不好过,8月17日企查查显示江苏德威新材料股份有限公司被苏州市中级人民法院列为被执行人,执行标的为1.05亿元。案号为(2021)苏05执886号,立案日期为2021年8月16日。而其的总被执行金额高达46217.08万元。且该企业有被执行人记录9条、限制高消费记录1条。太仓市影星塑料制品有限公司作为*ST德威的债权人,已于2021年6月向江苏省苏州市中级人民法院申请预重整,案号为(2021)苏05破申11号。

历史信息显示,2021年7月5日,*ST德威发布《江苏德威新材料股份有限公司关于公司新增诉讼暨涉及诉讼的进展公告》。公告中披露,截至本公告披露之日,公司贷款本金逾期金额及涉诉本金金额为22.56亿元,占公司最近一期经审计净资产的839.59%。
仍值得投资人关注的是,目前上海君澜律师事务所俞强团队正在推进德威新材(300325)涉嫌信息披露违规案的投资者索赔代理工作。2020年7月8日晚间,江苏德威新材料股份有限公司于2020年7月8日收到了中国证券监督管理委员会《调查通知书》(沪证专调查字2020114号)。因公司涉嫌信息披露违法违规,根据《中华人民共和国证券法》的有关规定,决定对公司立案调查。上海君澜律师事务所证券团队提示,德威新材300325的股民符合以下条件的小程序“俞强律师”登记报名或者自行起诉,有望获赔:于2020年7月8日(含当天,不考虑是否为交易日)前买入,并在之后卖出或仍持有而亏损的投资者。
业绩上,德威新材控股股东德威投资集团有限公司于2021年2月5日以“不能清偿到期债务,并且资产不足以清偿全部债务且明显缺乏清偿能力”、但“具有重整价值及可能性”为由,由德威集团单一法人主体向江苏省太仓市人民法院申请预重整。

据天眼查,江苏德威新材料股份有限公司(以下简称公司)位于中国十大百强县(市)之一的江苏省太仓市沙溪镇,是一家专业从事线缆用高分子材料的研发、生产和销售的高新技术企业。公司于2012年6月1日在深圳证券交易所创业板上市。公司前身苏州德威实业有限公司成立于1995年,2001年变更为江苏德威新材料股份有限公司。公司自成立以来以技术研发为核心,以产品为导向,以质量为基础,面向国内外市场,大力推行品牌实施战略。