欣旺达(300207)8月30日披露2024年半年度报告。2024年上半年,公司实现营业收入239.18亿元,同比增长7.57%;归母净利润8.24亿元,同比增长87.89%;扣非净利润8.1亿元,同比增长119.27%;经营活动产生的现金流量净额为17.19亿元,同比增长267.28%;报告期内,欣旺达基本每股收益为0.44元,加权平均净资产收益率为3.51%。

以8月29日收盘价计算,欣旺达目前市盈率(TTM)约为20.25倍,市净率(LF)约为1.26倍,市销率(TTM)约为0.6倍。

公司近年市盈率(TTM)、市净率(LF)、市销率(TTM)历史分位图如下所示:



根据半年报,公司第二季度实现营业总收入129.43亿元,同比增长10.08%,环比增长17.94%;归母净利润5.05亿元,同比下降16.25%,环比增长58.54%;扣非净利润5.31亿元,同比下降13.84%,环比增长90.45%。

2024年上半年,公司毛利率为16.59%,同比上升2.67个百分点;净利率为1.71%,较上年同期上升0.97个百分点。从单季度指标来看,2024年第二季度公司毛利率为16.64%,同比上升2.50个百分点,环比上升0.12个百分点;净利率为2.98%,较上年同期下降1.53个百分点,较上一季度上升2.78个百分点。

数据显示,2024年上半年公司加权平均净资产收益率为3.51%,较上年同期增长1.37个百分点;公司2024年上半年投入资本回报率为0.89%,较上年同期增长0.61个百分点。

2024年上半年,公司经营活动现金流净额为17.19亿元,同比增长267.28%,主要系票据结算货款所致;筹资活动现金流净额-4.47亿元,同比减少63.97亿元,主要系上期子公司欣旺达动力科技股份有限公司股权融资较多所致;投资活动现金流净额-34.84亿元,上年同期为-28.07亿元,主要系上期转让子公司欣旺达动力科技股份有限公司股权转让款较多所致。
进一步统计发现,2024年上半年公司自由现金流为-10.22亿元,上年同期为-68.13亿元。

2024年上半年,公司营业收入现金比为103.60%,净现比为208.69%。

营运能力方面,2024年上半年,公司总资产周转率为0.30次,上年同期为0.29次(2023年上半年行业平均值为0.26次,公司位居同行业11/32);固定资产周转率为1.74次,上年同期为1.89次(2023年上半年行业平均值为1.18次,公司位居同行业9/32);公司应收账款周转率、存货周转率分别为1.90次、2.77次。

2024年上半年,公司期间费用为31.86亿元,较上年同期增加5.71亿元;期间费用率为13.32%,较上年同期上升1.56个百分点。其中,销售费用同比增长42.84%,管理费用同比增长14.67%,研发费用同比增长12.83%,财务费用由去年同期的-5214.79万元变为1.02亿元。
资料显示,销售费用的变动主要因为销售人员工资增加。

资产重大变化方面,截至2024年上半年末,公司货币资金较上年末减少4.77%,占公司总资产比重下降1.82个百分点;在建工程较上年末增加11.83%,占公司总资产比重上升1.11个百分点;应收账款较上年末增加10.66%,占公司总资产比重上升1.07个百分点;其他非流动资产较上年末增加47.32%,占公司总资产比重上升0.79个百分点。

负债重大变化方面,截至2024年上半年末,公司应付票据较上年末增加23.52%,占公司总资产比重上升1.08个百分点;应付账款较上年末增加4.92%,占公司总资产比重上升0.28个百分点;一年内到期的非流动负债较上年末增加21.39%,占公司总资产比重上升0.47个百分点;长期借款较上年末增加5.38%,占公司总资产比重上升0.17个百分点。

从存货变动来看,截至2024年上半年末,公司存货账面价值为73.85亿元,占净资产的31.37%,较上年末增加3.4亿元。其中,存货跌价准备为5.22亿元,计提比例为6.6%。

在偿债能力方面,公司2024年上半年末资产负债率为60.28%,相比上年末上升1.21个百分点;有息资产负债率为22.70%,相比上年末下降0.04个百分点。

2024年上半年,公司流动比率为1.22,速动比率为1.00。

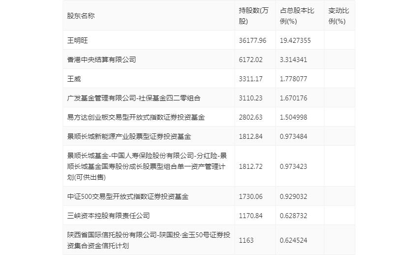
半年报显示,2024年上半年末公司十大流通股东中,持股最多的为王明旺,占比19.43%。十大流通股东名单相比2024年一季报维持不变。在具体持股比例上,香港中央结算有限公司、景顺长城新能源产业股票型证券投资基金、景顺长城基金-中国人寿保险股份有限公司-分红险-景顺长城基金国寿股份成长股票型组合单一资产管理计划(可供出售)、中证500交易型开放式指数证券投资基金持股有所上升,易方达创业板交易型开放式指数证券投资基金持股有所下降。

值得注意的是,根据半年报数据,欣旺达11.57%股份处于质押状态。其中,第一大股东王明旺质押1.67亿股公司股份,占其全部持股的46.13%。
筹码集中度方面,截至2024年上半年末,公司股东总户数为11.96万户,较一季度末下降了5417户,降幅4.33%;户均持股市值由一季度末的20.64万元上升至23.62万元,增幅为14.44%。

指标注解:
市盈率
=总市值/净利润。当公司亏损时市盈率为负,此时用市盈率估值没有实际意义,往往用市净率或市销率做参考。
市净率
=总市值/净资产。市净率估值法多用于盈利波动较大而净资产相对稳定的公司。
市销率
=总市值/营业收入。市销率估值法通常用于亏损或微利的成长型公司。
文中市盈率和市销率采用TTM方式,即以截至最近一期财报(含预报)12个月的数据计算。市净率采用LF方式,即以最近一期财报数据计算。
市盈率为负时,不显示当期分位数,会导致折线图中断。