瑞凌股份(300154)4月9日披露2023年年报。2023年,公司实现营业总收入11.50亿元,同比增长7.18%;归母净利润1.01亿元,同比增长20.26%;扣非净利润8342.30万元,同比增长10.89%;经营活动产生的现金流量净额为1.13亿元,同比增长13.02%;报告期内,瑞凌股份基本每股收益为0.22元,加权平均净资产收益率为5.99%。公司2023年年度利润分配预案为:拟向全体股东每10股派2元(含税)。
以4月8日收盘价计算,瑞凌股份目前市盈率(TTM)约为27.46倍,市净率(LF)约为1.62倍,市销率(TTM)约为2.4倍。
公司近年市盈率(TTM)、市净率(LF)、市销率(TTM)历史分位图如下所示:


数据统计显示,瑞凌股份近三年营业总收入复合增长率为27.43%,在其他通用设备行业已披露2023年数据的12家公司中排名第4。近三年净利润复合年增长率为14.56%,排名5/12。
资料显示,公司主营业务包括逆变焊割设备、焊接自动化系列产品和焊接材料配件类产品、精密钣金型材机加类结构件产品的研发、生产、销售和服务。
分产品来看,2023年公司主营业务中,逆变焊割设备系列产品收入6.18亿元,同比增长24.77%,占营业收入的53.78%;精密钣金、型材机加类结构件产品收入1.86亿元,同比下降11.17%,占营业收入的16.16%;焊接材料收入1.53亿元,同比下降3.53%,占营业收入的13.29%。
截至2023年末,公司员工总数为1243人,人均创收92.50万元,人均创利8.09万元,人均薪酬12.33万元,较上年同期分别增长12.19%、25.88%、7.08%。
2023年,公司毛利率为22.63%,同比上升2.43个百分点;净利率为7.88%,较上年同期下降0.14个百分点。从单季度指标来看,2023年第四季度公司毛利率为20.52%,同比下降0.87个百分点,环比下降1.00个百分点;净利率为-2.69%,较上年同期下降10.66个百分点,较上一季度下降13.28个百分点
分产品看,逆变焊割设备系列产品、精密钣金、型材机加类结构件产品、焊接材料2023年毛利率分别为33.09%、12.05%、3.02%。
报告期内,公司前五大客户合计销售金额2.88亿元,占总销售金额比例为25.07%,公司前五名供应商合计采购金额1.66亿元,占年度采购总额比例为22.38%。
数据显示,2023年公司加权平均净资产收益率为5.99%,较上年同期增长0.88个百分点;公司2023年投入资本回报率为3.92%,较上年同期下降0.59个百分点。
2023年,公司经营活动现金流净额为1.13亿元,同比增长13.02%;筹资活动现金流净额1.30亿元,同比增加2.67亿元;投资活动现金流净额-5.89亿元,上年同期为-3.13亿元。
进一步统计发现,2023年公司自由现金流为-2.13亿元,上年同期为-1.99亿元。
2023年,公司营业收入现金比为85.11%,净现比为112.75%。
营运能力方面,2023年,公司公司总资产周转率为0.51次,上年同期为0.51次(2022年行业平均值为0.57次,公司位居同行业30/53);固定资产周转率为7.60次,上年同期为7.18次(2022年行业平均值为3.73次,公司位居同行业8/53);公司应收账款周转率、存货周转率分别为7.31次、4.69次。
2023年,公司期间费用为1.37亿元,较上年同期增加1802.62万元;期间费用率为11.92%,较上年同期上升0.83个百分点。其中,销售费用同比增长22.92%,管理费用同比下降7.42%,研发费用同比下降2.07%,财务费用由去年同期的-2738.12万元变为-1475.82万元。
资产重大变化方面,截至2023年年末,公司其他非流动资产较上年末增加118.38%,占公司总资产比重上升5.90个百分点;货币资金较上年末增加0.17%,占公司总资产比重下降5.49个百分点;交易性金融资产较上年末增加64.84%,占公司总资产比重上升4.44个百分点;存货较上年末减少11.40%,占公司总资产比重下降2.17个百分点。
负债重大变化方面,截至2023年年末,公司长期借款较上年末增加342204.41%,占公司总资产比重上升11.22个百分点;应付账款较上年末增加12.69%,占公司总资产比重下降0.13个百分点;一年内到期的非流动负债较上年末增加30.85%,占公司总资产比重上升0.22个百分点;合同负债较上年末减少40.48%,占公司总资产比重下降0.56个百分点。
从存货变动来看,截至2023年年末,公司存货账面价值为1.78亿元,占净资产的10.42%,较上年末减少2291.56万元。其中,存货跌价准备为1651.71万元,计提比例为8.49%。
2023年全年,公司研发投入金额为3534.44万元,同比下降2.07%;研发投入占营业收入比例为3.07%,相比上年同期下降0.29个百分点。此外,公司全年研发投入资本化率为0。
资料显示,截至报告期末,公司累计取得发明专利57项,实用新型专利152项,外观设计专利40项,计算机软件著作权87项,另有2项专利正在申请中。
在偿债能力方面,公司2023年年末资产负债率为27.89%,相比上年末上升8.78个百分点;有息资产负债率为13.29%,相比上年末上升11.29个百分点。
2023年,公司流动比率为4.97,速动比率为4.46。
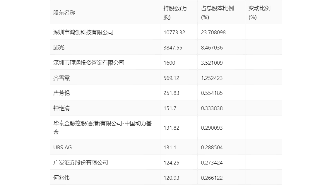
年报显示,2023年年末公司十大流通股东中,新进股东为华泰金融控股(香港)有限公司-中国动力基金、UBS AG、广发证券股份有限公司,取代了三季度末的中国国际金融股份有限公司、中信里昂资产管理有限公司-客户资金-人民币资金汇入、周惠国。在具体持股比例上,何兆伟持股有所上升,钟艳清持股有所下降。
筹码集中度方面,截至2023年年末,公司股东总户数为1.41万户,较三季度末下降了1329户,降幅8.60%;户均持股市值由三季度末的20.99万元上升至23.80万元,增幅为13.39%。
指标注解:
市盈率
=总市值/净利润。当公司亏损时市盈率为负,此时用市盈率估值没有实际意义,往往用市净率或市销率做参考。
市净率
=总市值/净资产。市净率估值法多用于盈利波动较大而净资产相对稳定的公司。
市销率
=总市值/营业收入。市销率估值法通常用于亏损或微利的成长型公司。
文中市盈率和市销率采用TTM方式,即以截至最近一期财报(含预报)12个月的数据计算。市净率采用LF方式,即以最近一期财报数据计算。
市盈率为负时,不显示当期分位数,会导致折线图中断。