来源 :中国青年网2024-04-12
4月12日,雄安新动力科技股份有限公司(以下简称公司)发布公告称,公司于 2023 年 4 月 20 日曾披露《关于法院裁定受理公司控股股东徐州丰利环保科技有限公司破产清算申请的公告》(公告编号:2023-040)),法院自公告之日已受理徐州丰利环保科技有限公司的破产申请。近日,公司通过全国企业破产重整案件信息网查询获悉,徐州法院已裁定宣告公司控股股东徐州丰利环保科技有限公司破产。

截至本4月12日,徐州丰利持有公司股份数量为 120,514,615 股,占公司总股本的 16.91%,徐州丰利环保科技有限公司破产事项可能会导致公司控制权发生变化。
据徐州法院出具的“(2023)苏 0391 破 12 号”《民事裁定书》和《公告》,法院查明,公司控股股东徐州丰利公司严重亏损,不能清偿到期债务,并且资产不足以清偿全部债务,符合宣告破产条件。法院依据《中华人民共和国企业破产法》第二条、第一百零七条之规定,于 2024 年 4 月 9 日以(2023)苏 0391 破 12 号民事裁定书裁定宣告徐州丰利环保科技有限公司破产。

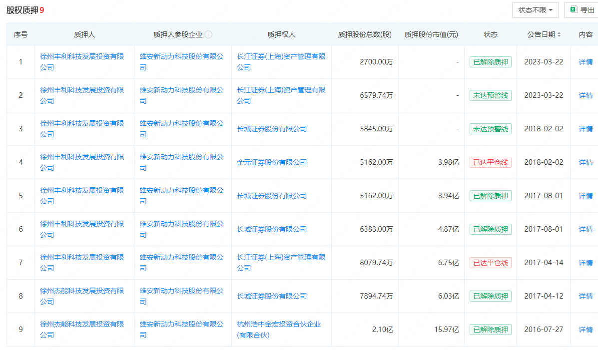
记者查询发现,此前公司控股股东徐州丰利环保科技有限公司,已于2016年就多次将新动力股权进行质押。目前,该公司已经处于经营异常,失信被执行人。
据本次公告称,截止目前公司未发现徐州丰利存在非经营性占用公司资金的情形,公司亦不存在对徐州丰利违规担保等侵害公司利益的情形。