chaguwang.cn-查股网.中国
查股网.CN
香雪制药(300147)内幕信息消息披露
 
个股最新内幕信息查询:    
 

香雪制药及其大股东被执行3.79亿

http://www.chaguwang.cn  2024-05-29  香雪制药内幕信息

来源 :DoNews2024-05-29

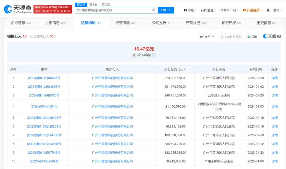
  5月28日,香雪制药(300147)及其大股东广州市昆仑投资有限公司新增一则被执行人信息,执行标的3.79亿余元,涉及抵押权纠纷案件,执行法院为广州市黄埔区人民法院。

  广州市香雪制药股份有限公司成立于1986年4月,注册资本约6.6亿人民币,法定代表人、董事长、总经理为王永辉,由广州市昆仑投资有限公司等共同持股。风险信息显示,该公司现存10条被执行人信息,被执行总金额超16亿元。

  c4dd4ea46ec39e7b1b037fc35ff6230.png77ac07bd5968a9900a185fad43180e5.png3a7f0b8bd6be6b1e9e73a825f6ad6c5.png4df284d85d22cd19024d559145b06ad.png

有问题请联系 767871486@qq.com 商务合作广告联系 QQ:767871486
www.chaguwang.cn 查股网