来源 :腾讯财经2021-11-01
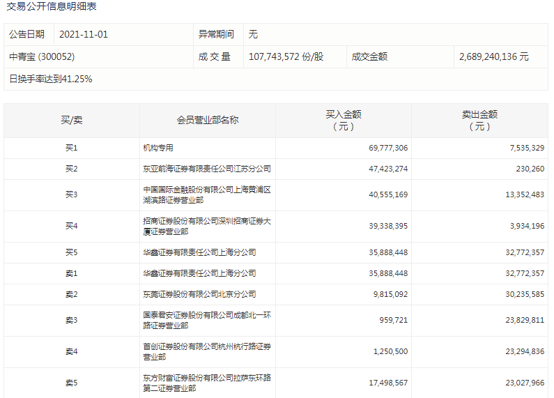
11月1日,中青宝涨停,截至收盘,股价报25.75元,成交额26.89亿元,换手率达41.25%。这已经是该股连续第二个交易日20%涨停。
交易所公布的盘后数据显示,1家机构席位净买入6224万元,卖方前五大席位均为券商营业部。

中青宝再次提醒风险称,元宇宙是一个巨大的概念和模式,公司尚处于初步探索阶段,触及概念相对较浅,对应产品尚在研发中,新游戏上线时间和地区亦受到诸多因素影响。项目实施进度、能否达到公司预计的效果、能否满足未来市场的需求,均存在较大的不确定性。即便以上条件皆满足,公司依然不排除相关产品与元宇宙存在较大差距的可能性。