ST天龙(300029)8月27日披露2024年半年度报告。2024年上半年,公司实现营业收入1.03亿元,同比下降39.80%;归母净利润亏损49.47万元,上年同期亏损1162.34万元;扣非净利润亏损197.57万元,上年同期亏损1482.45万元;经营活动产生的现金流量净额为-1850.99万元,上年同期为-558.35万元;报告期内,ST天龙基本每股收益为-0.0025元,加权平均净资产收益率为-2.34%。
公告称,公司营业收入变化主要由于报告期内公司根据行业情况变化,调整项目开发策略,着眼提质增效,对本期收入有一定的影响。
报告期内,公司合计非经常性损益为148.10万元,其中单独进行减值测试的应收款项减值准备转回为200万元。

以8月26日收盘价计算,ST天龙目前市盈率(TTM)约为346.46倍,市净率(LF)约为42.14倍,市销率(TTM)约为2.94倍。

公司近年市盈率(TTM)、市净率(LF)、市销率(TTM)历史分位图如下所示:



根据半年报,公司第二季度实现营业总收入4885.65万元,同比下降67.12%,环比下降10.53%;归母净利润-528.15万元,同比下降101.52%,环比下降210.34%;扣非净利润-473.98万元,同比增长23.88%,环比下降271.48%。

半年报称,公司从事新能源电站的投资、新能源EPC工程、设备销售及电站运维等业务。
2024年上半年,公司毛利率为14.89%,同比上升11.89个百分点;净利率为-0.54%,较上年同期上升6.26个百分点。从单季度指标来看,2024年第二季度公司毛利率为12.28%,同比上升8.27个百分点,环比下降4.95个百分点;净利率为-10.82%,较上年同期下降9.05个百分点,较上一季度下降19.47个百分点。

盈利能力方面, 2024年半年度公司加权平均净资产收益率为-2.34%,同比上升45.98个百分点。公司2024年上半年投入资本回报率为-1.41%,较上年同期上升54.54个百分点。

2024年上半年,公司经营活动现金流净额为-1850.99万元,同比减少1292.64万元;筹资活动现金流净额与同期相比基本不变;投资活动现金流净额-15.76万元,上年同期为0元。
进一步统计发现,2024年上半年公司自由现金流为-1932.04万元,上年同期为173.20万元。

2024年上半年,公司营业收入现金比为103.30%。

营运能力方面,2024年上半年,公司公司总资产周转率为0.29次,上年同期为0.62次(2023年上半年行业平均值为0.28次,公司位居同行业1/21);固定资产周转率为120.87次,上年同期为445.09次(2023年上半年行业平均值为8.04次,公司位居同行业1/21);公司应收账款周转率、存货周转率分别为0.47次、5.24次。

2024年上半年,公司期间费用为1395.02万元,较上年同期增加162.38万元;期间费用率为13.48%,较上年同期上升6.31个百分点。其中,管理费用同比增长13.13%,财务费用同比增长14.85%。

资产重大变化方面,截至2024年上半年末,公司货币资金较上年末减少48.82%,占公司总资产比重下降4.26个百分点;应收账款较上年末减少10.32%,占公司总资产比重上升4.15个百分点;预付款项较上年末增加120.90%,占公司总资产比重上升2.55个百分点;合同资产较上年末减少1.43%,占公司总资产比重上升1.51个百分点。

负债重大变化方面,截至2024年上半年末,公司应付账款较上年末减少17.47%,占公司总资产比重下降1.15个百分点;其他流动负债较上年末减少32.74%,占公司总资产比重下降2.04个百分点;应付职工薪酬较上年末增加100.77%,占公司总资产比重上升0.77个百分点;应交税费较上年末减少38.90%,占公司总资产比重下降0.25个百分点。

从存货变动来看,截至2024年上半年末,公司存货账面价值为1737.38万元,占净资产的82.98%,较上年末增加110.64万元。其中,存货跌价准备为471.59万元,计提比例为21.35%。

在偿债能力方面,公司2024年上半年末资产负债率为93.54%,相比上年末下降0.90个百分点;有息资产负债率为0.00%,相比上年末基本持平。

2024年上半年,公司流动比率为1.05,速动比率为0.99。

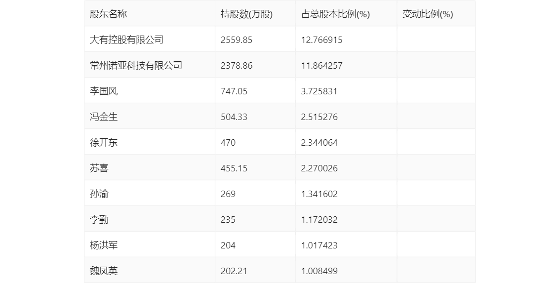
半年报显示,2024年上半年末公司十大流通股东中,持股最多的为大有控股有限公司,占比12.77%。十大流通股东名单相比2024年一季报维持不变。在具体持股比例上,李国风、苏喜、李勤、杨洪军持股有所上升。

筹码集中度方面,截至2024年上半年末,公司股东总户数为8583户,较一季度末下降了456户,降幅5.04%;户均持股市值由一季度末的10.38万元下降至8.08万元,降幅为22.16%。

指标注解:
市盈率
=总市值/净利润。当公司亏损时市盈率为负,此时用市盈率估值没有实际意义,往往用市净率或市销率做参考。
市净率
=总市值/净资产。市净率估值法多用于盈利波动较大而净资产相对稳定的公司。
市销率
=总市值/营业收入。市销率估值法通常用于亏损或微利的成长型公司。
文中市盈率和市销率采用TTM方式,即以截至最近一期财报(含预报)12个月的数据计算。市净率采用LF方式,即以最近一期财报数据计算。
市盈率为负时,不显示当期分位数,会导致折线图中断。