神州泰岳(300002)8月27日披露2024年半年度报告。2024年上半年,公司实现营业收入30.53亿元,同比增长15.04%;归母净利润6.31亿元,同比增长56.18%;扣非净利润6.18亿元,同比增长61.60%;经营活动产生的现金流量净额为5.9亿元,同比增长48.97%;报告期内,神州泰岳基本每股收益为0.3238元,加权平均净资产收益率为10.35%。
以8月26日收盘价计算,神州泰岳目前市盈率(TTM)约为14.25倍,市净率(LF)约为2.51倍,市销率(TTM)约为2.5倍。
公司近年市盈率(TTM)、市净率(LF)、市销率(TTM)历史分位图如下所示:


根据半年报,公司第二季度实现营业总收入15.64亿元,同比增长8.53%,环比增长5.13%;归母净利润3.36亿元,同比增长48.73%,环比增长13.88%;扣非净利润3.31亿元,同比增长40.54%,环比增长15.39%。
资料显示,公司的主营业务为软件与信息技术服务和游戏业务。
2024年上半年,公司毛利率为62.31%,同比下降0.69个百分点;净利率为20.41%,较上年同期上升5.44个百分点。从单季度指标来看,2024年第二季度公司毛利率为61.04%,同比下降1.14个百分点,环比下降2.61个百分点;净利率为21.31%,较上年同期上升5.81个百分点,较上一季度上升1.85个百分点。
数据显示,2024年上半年公司加权平均净资产收益率为10.35%,较上年同期增长2.37个百分点;公司2024年上半年投入资本回报率为9.72%,较上年同期增长2.22个百分点。
2024年上半年,公司经营活动现金流净额为5.90亿元,同比增长48.97%;筹资活动现金流净额-1.10亿元,同比减少4232.34万元;投资活动现金流净额-7.18亿元,上年同期为-2.71亿元。
进一步统计发现,2024年上半年公司自由现金流为-2.06亿元,上年同期为0.85亿元。
2024年上半年,公司营业收入现金比为92.75%,净现比为93.46%。
营运能力方面,2024年上半年,公司公司总资产周转率为0.43次,上年同期为0.44次(2023年上半年行业平均值为0.24次,公司位居同行业4/26);固定资产周转率为9.05次,上年同期为10.91次(2023年上半年行业平均值为6.97次,公司位居同行业10/26);公司应收账款周转率、存货周转率分别为3.91次、5.45次。
2024年上半年,公司期间费用为11.91亿元,较上年同期增加1815.88万元;但期间费用率为39.00%,较上年同期下降5.18个百分点。其中,销售费用同比下降21.6%,管理费用同比增长42.87%,研发费用同比增长17.57%,财务费用由去年同期的-4325.95万元变为-5222.07万元。
资料显示,管理费用的变动主要因为本期职工薪酬类支出增加。
资产重大变化方面,截至2024年上半年末,公司其他流动资产较上年末增加2076.37%,占公司总资产比重上升13.89个百分点;货币资金较上年末减少11.35%,占公司总资产比重下降5.36个百分点;交易性金融资产较上年末减少46.22%,占公司总资产比重下降4.43个百分点;应收账款较上年末减少7.52%,占公司总资产比重下降1.62个百分点。
负债重大变化方面,截至2024年上半年末,公司应付职工薪酬较上年末减少26.86%,占公司总资产比重下降0.85个百分点;应交税费较上年末减少28.77%,占公司总资产比重下降0.55个百分点;合同负债较上年末增加16.25%,占公司总资产比重上升0.21个百分点;应付账款较上年末减少5.51%,占公司总资产比重下降0.67个百分点。
从存货变动来看,截至2024年上半年末,公司存货账面价值为2.57亿元,占净资产的4.07%,较上年末增加9120.43万元。其中,存货跌价准备为1581.11万元,计提比例为5.8%。
在偿债能力方面,公司2024年上半年末资产负债率为13.02%,相比上年末下降1.92个百分点;有息资产负债率为0.64%,相比上年末上升0.14个百分点。
2024年上半年,公司流动比率为4.71,速动比率为4.43。
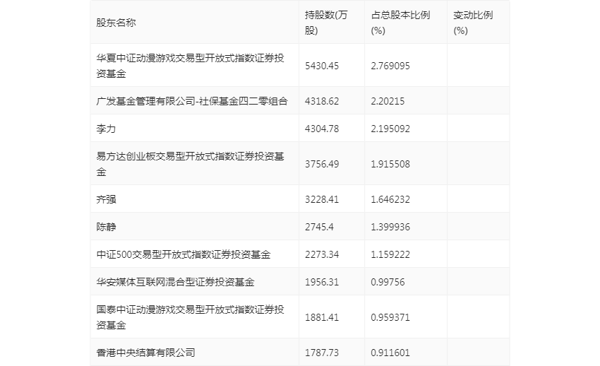
半年报显示,2024年上半年末公司十大流通股东中,新进股东为易方达创业板交易型开放式指数证券投资基金、中证500交易型开放式指数证券投资基金、国泰中证动漫游戏交易型开放式指数证券投资基金,取代了一季度末的宽投幸运星2号私募证券投资基金、磐耀通享15号私募证券投资基金、宽投幸运星3号私募证券投资基金。在具体持股比例上,华夏中证动漫游戏交易型开放式指数证券投资基金持股有所上升,华安媒体互联网混合型证券投资基金、香港中央结算有限公司持股有所下降。
筹码集中度方面,截至2024年上半年末,公司股东总户数为11.1万户,较一季度末下降了4046户,降幅3.52%;户均持股市值由一季度末的15.97万元下降至14.35万元,降幅为10.14%。
指标注解:
市盈率
=总市值/净利润。当公司亏损时市盈率为负,此时用市盈率估值没有实际意义,往往用市净率或市销率做参考。
市净率
=总市值/净资产。市净率估值法多用于盈利波动较大而净资产相对稳定的公司。
市销率
=总市值/营业收入。市销率估值法通常用于亏损或微利的成长型公司。
文中市盈率和市销率采用TTM方式,即以截至最近一期财报(含预报)12个月的数据计算。市净率采用LF方式,即以最近一期财报数据计算。
市盈率为负时,不显示当期分位数,会导致折线图中断。