来源 :金融界2024-04-10
近日,华林证券的股价连续下跌,重新引发市场关注。截至4月10日午盘收盘,华林证券当日股价下跌2.52%,报11.24元/股。

交出最差成绩单,下调九成业绩预期,归因于2.3亿天价仲裁案
华林证券于2019年1月17日在深圳主板上市,上市时颇受投资者追捧,3.62元/股的发行价,被资金一路拉涨每股超20元。上市后,华林证券谋求“金融科技”转型,甚至收购字节跳动孵化的海豚股票APP,前景一片光明。但从华林证券收购海豚股票至今已有2年时间,不仅“科技”成为莫须有的存在,连原有的业务也出现了下滑,上个月更交出了几乎是上市券商中最差的一份2023年度成绩单。
3月19日,华林证券发布2023年全年业绩预告,表示2023年度归属于上市公司股东净利润最新预计为2500万元-3700万元,归母净利润同比下滑92.04%~94.62%,扣除非经常损益后净利润数据为1.72亿元-2.18亿元,同比下滑53.94%~64.72%。也就是说,相比1月时的预告,华林证券最新预计2023年度盈利减少了1.47亿元-1.81亿元。
此外公司也详细披露了扣非与归母之间差距较大是因为公司收到上海国际经济贸易仲裁委员会(上海国际仲裁中心)出具的《裁决书》(〔2023〕沪贸仲裁字第1938号)。
华林证券表示,就上述仲裁结果已向上海国际仲裁中心提出异议,申请撤销该项裁决,并已获得上海金融法院受理,同时已向案涉强制执行的受理法院拉萨市中级人民法院申请中止执行。但基于谨慎性原则,对2023年度净利润进行了修正。
企查查显示,3月11日,华林证券已被拉萨市中院立案成为被执行人,执行金额为2.3亿元。

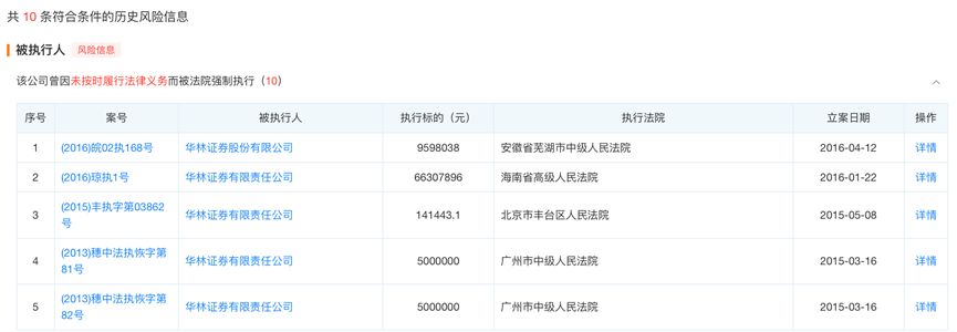
同时企查查还显示,这已经不是华林证券第一次被强制执行了,早在2008年-2016年,华林证券就曾有十次因未按时履行法律义务而被法院强制执行的历史风险信息。


屋漏偏逢连夜雨,赔偿补税暴露了合规隐患
在“赔钱”事件还未平息之际,4月7日晚,华林证券又发布了一则补缴税款的公告。拉萨市税务局稽查局对公司2018年1月1日至2023年12月31日涉税情况进行了检查,认为公司对税收政策的适用条件理解有偏差,公司应当补缴2018年至2021年期间的企业所得税29,323,187.10元。
公司补缴上述税款及滞纳金将计入2024年当期损益,预计将影响公司2024年度归属于上市公司股东的净利润约4,732万元,最终以2024年度经审计的财务报表为准。这意味着,华林证券本就不佳的业绩,更是雪上加霜。
同时,因为连带赔偿、补税等,华林证券的“合规”问题也引发了投资者的关注。据业内人士观察发现,上市后,华林证券的管理层可谓变更频频。现在的高管成员,除首席信息官王惠春外,其余管理人员均为公司上市后新入职华林证券。尤其是合规总监一职,5年换了4位合规总监,最长的一位待了1年9个月,最短的只有5个月,目前该职位由首席执行官、财务总监朱松暂代。
今年1月,因私募资产管理业务存在问题,公司内控不完善,西藏证监局对华林证券采取责令改正并暂停新增私募资产管理产品备案6个月(为接续存量产品所投资的未到期资产而新发行的产品除外,但不得新增投资)的监督管理措施,并记入证券期货市场诚信档案。
经查,华林证券主要存在以下问题:一是存在个别资管产品投资最终投资者的关联债券,具有通道业务特征;二是投资标的、交易对手备选库管理不完善;三是交易系统风控指标设置存在缺陷;四是非标投资存续期管理存在不足;五是信息披露存在遗漏;六是关联交易管控机制不健全;七是人员及薪酬管理机制不健全。
在行业竞争加剧的背景下,合规漏洞频发、业务受限、补缴税款将对华林证券今年业绩增长带来不少压力。不禁会出现投资者质疑:10亿营收能否撑起300亿市值巨轮?