来源 :乐居财经2022-05-31
5月30日,深圳文科园林股份有限公司(以下简称“文科园林”)新增1则开庭公告,案由系票据追索权纠纷。
案件原告为重庆石博士新材料有限公司,被告为深圳文科园林股份有限公司、重庆亮川建材有限公司等。案件案号为(2022)渝0116民初5613号。

据不完全统计,文科园林新增超150起开庭公告,案由涉及票据追索权纠纷、建设工程施工合同纠纷、买卖合同纠纷、分期付款买卖合同纠纷等。
文科园林曾涉司法案件633起,其中,其作为被告501次,占比79.51%;作为原告85次,占比13.43%;其他身份47次,占比7.42%。

案件类型以民事案件居多,达573起。其次为执行案件,共50起;保全案件9起;行政案件1起。

案由主要系买卖合同纠纷,以116次居首。紧随其后的是票据追索权纠纷、建设工程施工合同纠纷、劳务合同纠纷、票据纠纷等。

涉案地区大部分集中在广东达149起。另外四川、湖北、山东、辽宁、河南、湖南、江苏、安徽、贵州均有涉及。

关于当前案件的进程,民事案件中共有413起为民事一审状态,63起为首次执行状态,64起为民事二审状态,民事管辖上诉10起,恢复执行7起。

拉长时间线来看,2018年-2021年及2022年前5个月,文科园林涉司法案件分别为58起、76起、97起、165起、143起。

2021年文科园林涉及司法案件大增70%至165起;2022年至今,涉及司法案件143起,超2020年全年司法案件总和。
资料显示,文科园林是1996年在深圳市注册成立的园林环保综合型企业,是深圳证券交易所主板A股上市公司(股票代码:002775)。
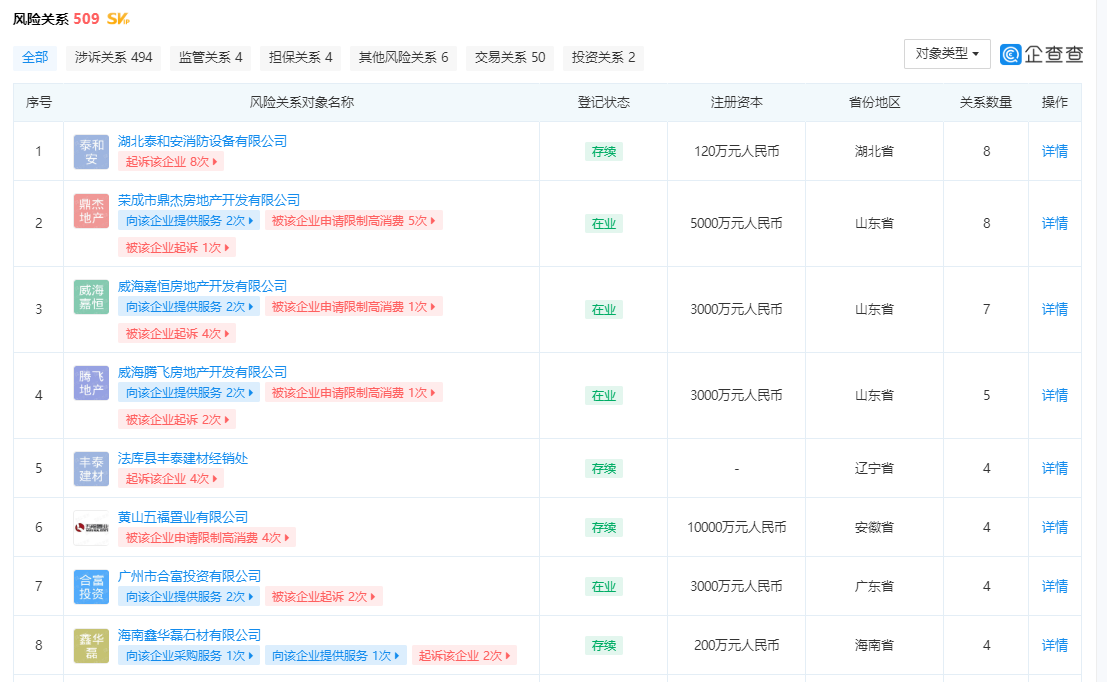
纵观其风险关系对象,涉及企业282个,当中不乏房地产企业,包括荣成市鼎杰房地产开发有限公司、威海腾飞房地产开发有限公司、黄山五福置业有限公司等;此外还涉及人员221人。

根据文科园林4月30日发布的公告,公司2021年核销或转销资产减值准备合计1872.36万元,上述事项将减少公司2021年度利润总额342.73万元。
另根据其同日发布的关于累计诉讼、仲裁案件情况的公告,公司及子公司累计涉及诉讼、仲裁金额合计约为1.66亿元。
文科园林2021年度业绩表现也并不理想,其实现营收19.26亿元,较去年同期下降23.57%;净利润方面五年来首都亏损,数据为-16.61亿元,较去年同期下降1138.82%。

此外,文科园林2021年ROE也迎来大幅下滑,该数据为-111.55%,较去年同期下降1874.45%。