来源 :药融云2023-05-24
据药融云数据库,以岭药业1类化药新药G201-Na胶囊启动其在中国健康成年男性受试者中的Ia期临床研究。
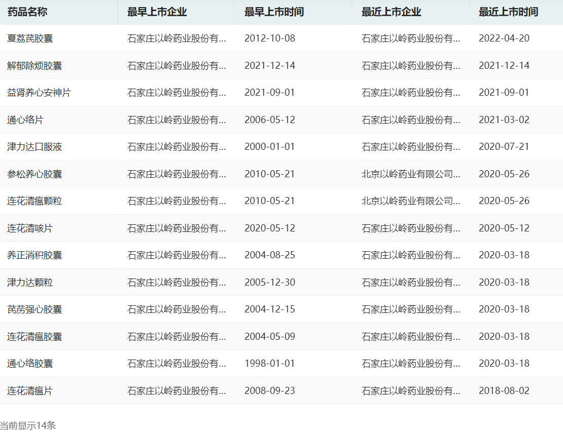
在创新大军阵营,中药龙头以岭药业已有成果收获。2020年以来,以岭药业已有苏夏解郁除烦胶囊、连花清咳片和益智安神片等3款新药获批上市。此外,以岭药业目前已有至少有5款1类化药新药迈入临床阶段,覆盖镇痛、帕金森、抗肿瘤和心脑血管疾病领域;另有芪黄明目胶囊、小儿连花清感颗粒、柴芩通淋片等多款中药新药在研,其中2款已推进到后期阶段,离上市也不会太远。
一、关于G201-Na胶囊
G201-Na胶囊是以岭药业自主研发、具有独立知识产权的小分子促性腺激素释放激素(GnRH)受体拮抗剂。临床前研究表明,G201-Na药效确切、安全性良好,具有较高的临床开发价值。4月,该1类化药新药获的NMPA核准签发的《药物临床试验批准通知书》,统一开展临床,适应症为需要雄激素去势治疗的前列腺癌。
(登录“药融云数据库www.pharnexcloud.com/?mh”可查看更多内容)

截图来源:药融云中国临床试验数据库
前列腺癌是全球男性第二常见的癌症,也是全球男性肿瘤死亡的第五大病因,患者对新的治疗方案仍存在着巨大的未满足医疗需求。据沙利文研究估计,中国前列腺癌药物市场规模从2015年的人民币22亿元增长到2019年的人民币53亿元,年复合增长率为24.5%,预计至2030年中国前列腺癌药物市场将进一步增长到人民币506亿元,2024年至2030年的年复合增长率为21.8%。
公开资料显示,前列腺癌细胞的生长增殖都依赖于体内的雄激素,在男性患者体内药物通过与垂体GnRH受体竞争性结合,抑制下丘脑-垂体-性腺轴信号传导,减少内源性促黄体生成素(LH)和促卵泡激素(FSH)的生成和释放,进而降低雌激素或雄激素水平,用于治疗激素依赖性相关疾病,如前列腺癌等。
二、连花清瘟后,中药龙头寻找下一个增长点
以岭药业是中药创新龙头企业之一,长期以来,以岭药业重点布局中医药板块,已拥有连花清瘟胶囊/颗粒、通心络胶囊、参松养心胶囊等明星单品。据以岭药业2022年财报,公司2022年实现归母净利润23.6亿,同比增长75.8%。
有业内人士指出,以岭药业下的连花清咳有望在连花清瘟系列产品带动下成为公司呼吸系统领域另一大单品;公司心脑血管类产品包括通心络胶囊、参松养心胶囊和芪苈强心胶囊三大创新专利中药,未来有望在低基数下实现高增长;2021年获批的解郁除烦胶囊和益肾养心安神片已通过医保谈判进入国家医保目录,有望实现快速放量。
以岭药业独家生产纳入2022年医保品种

截图来源:药融云中国药品批文数据库
新药研发方面,公司2022年投入研发费用10.3亿,研发费用占营业收入比例8.2%,现有研发管线覆盖在研中药创新药品种40余个,覆盖临床12个系统疾病。
公司1.1类在研中药创新药中,芪黄明目胶囊处于申报新药阶段,有望成为国内首款眼科中药1类新药,用于治疗糖尿病视网膜病变;乳结泰胶囊已完成Ⅳ期临床且于2023年3月持有人变更为以岭药业;小儿连花清感颗粒处于Ⅲ期临床研究阶段;柴芩通淋片获批反复发作尿路感染适应症;藿夏感冒颗粒处于临床前研究阶段。
以岭药业部分在研中药新药

数据来源:药融云数据库
另有络痹通片(类风湿性关节炎)、柴黄利胆胶囊(慢性胆囊炎)、玉屏通窍片(持续性变应性鼻炎)处于Ⅲ期临床研究阶段;养正消积胶囊获批癌因性疲乏新增适应症。除此之外,公司还积极布局3.1类经典名方开发,目前围绕呼吸、神经、内分泌、消化、泌尿、免疫系统疾病及妇科疾病布局经典名方开发十余首。
三、跨界创新,以岭药业5款1类化药新药迈入临床
除了中药创新药,以岭药业还在多个治疗领域布局化药/生物药创新药。化药方面,目前已有至少5款1类化药新药进入临床及以上阶段,覆盖镇痛、帕金森、抗肿瘤和心脑血管疾病领域。
以岭药业部分在研生/化新药

数据来源:药融云数据库
其中非甾体类镇痛药苯胺洛芬注射液进展最快,III期临床已完成,正筹备申报上市,有望成为新药品注册管理办法实施以来,以岭药业首个获批上市的1类化药新药。其次为XY0206片,这是以舒尼替尼为先导化合物,在其骨架结构基础上进行优化改造而得到的2-吲哚酮类多靶点RTK抑制剂。
BIO-008则是以岭药业首个生物药1类新药,为其自主研发的靶向Claudin18.2的单克隆抗体,拟用于治疗晚期实体瘤。根据以岭药业公告介绍,BIO-008通过抗体和补体依赖介导的细胞毒性作用,诱导细胞凋亡、抑制肿瘤细胞增殖,杀伤Claudin18.2阳性肿瘤细胞。该产品体内外活性和安全性良好。