chaguwang.cn-查股网.中国
查股网.CN
领益智造(002600)内幕信息消息披露
 
个股最新内幕信息查询:    
 

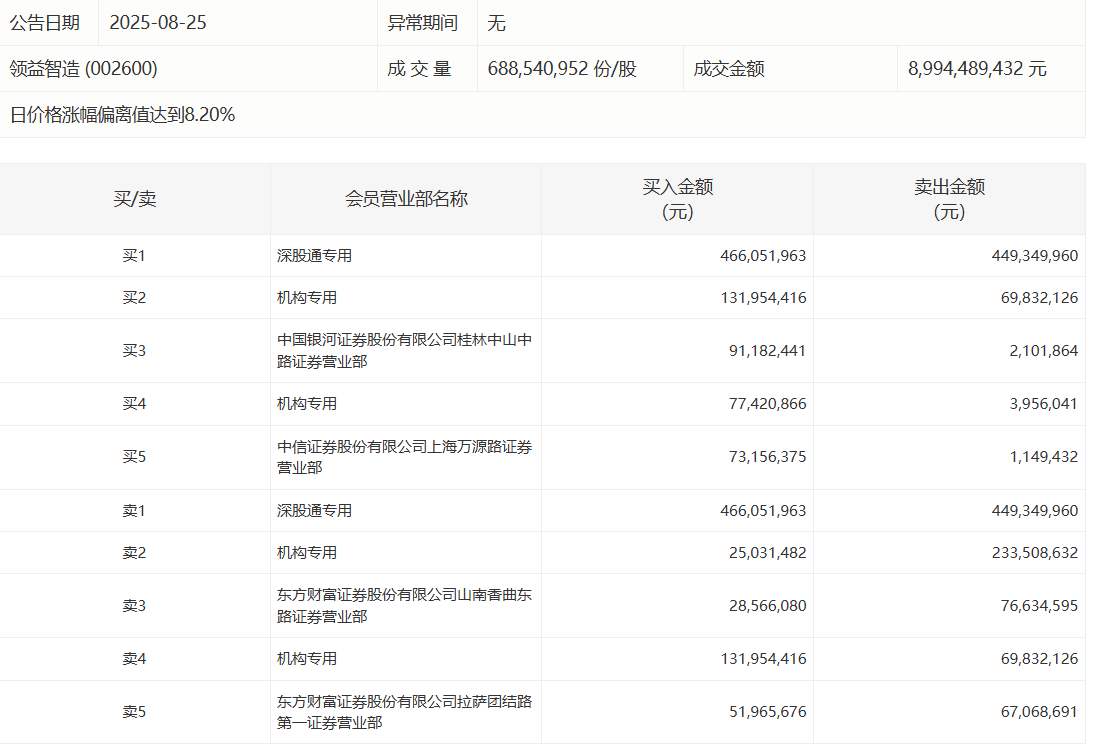
领益智造今日涨停 深股通买入4.66亿元并卖出4.49亿元

http://www.chaguwang.cn  2025-08-25  领益智造内幕信息

来源 :人民财讯2025-08-25

  领益智造今日涨停,成交额89.94亿元。盘后龙虎榜数据显示,深股通专用席位买入4.66亿元并卖出4.49亿元,1家机构专用席位买入1.32亿元并卖出6983.21万元。

  

查股网为非盈利性网站 本页为转载如有版权问题请联系 767871486@qq.comQQ:767871486
Copyright 2007-2025
www.chaguwang.cn 查股网