chaguwang.cn-查股网.中国
查股网.CN
西陇科学(002584)内幕信息消息披露
 
个股最新内幕信息查询:    
 

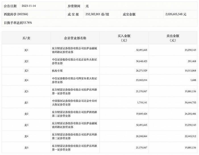
龙虎榜丨西陇科学今日涨1.14%,知名游资方新侠净买入2306.33万元,机构合计净买入1575.61万元

http://www.chaguwang.cn  2023-11-14  西陇科学内幕信息

来源 :界面新闻2023-11-14

  11月14日,西陇科学今日涨1.14%,龙虎榜数据显示,上榜营业部席位全天成交3.27亿元,占当日总成交金额比例为16.17%。其中,买入金额为1.76亿元,卖出金额为1.51亿元,合计净买入2492.05万元。

  具体来看,机构买入2627.19万元,卖出1051.59万元,合计净买入1575.61万元。此外,知名游资现身龙虎榜,方新侠(中信证券股份有限公司西安朱雀大街证券营业部)净买入2306.33万元。此外,东方财富证券拉萨金融城南环路证券营业部、中信证券北京安外大街证券营业部分别买入3249.17万元、3064.84万元;中国银河证券北京中关村大街证券营业部、东方财富证券拉萨团结路第二证券营业部分别卖出5044.48万元、2420.55万元。

  

有问题请联系 767871486@qq.com 商务合作广告联系 QQ:767871486
www.chaguwang.cn 查股网