来源 :国际太阳能光伏网2024-05-17
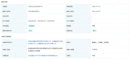
国际能源网获悉,企查查数据显示,协鑫集成新获得一项实用新型专利授权,专利名为“一种具有高温保护功能的光伏组件”,专利申请号为CN202221822807.X,授权日为2024年4月7日。

专利摘要显示,本实用新型涉及光伏技术领域,具体是一种具有高温保护功能的光伏组件,光伏组件的背侧设有与接线盒串联的高温保护装置;所述高温保护装置包括盒体、盒盖和热敏开关;所述热敏开关设置在所述盒体的内腔中,所述盒盖覆盖在所示内腔的口部,所述热敏开关的感温元件透过所述盒盖的孔暴露,所述热敏开关的两个接线端引出至所述盒体外,本实用新型设置具备结构简单,成本低,易与光伏组件匹配使用,高温保护装置与组件接线盒串联,开关内置感温元件,感知组件工作温度、背板温度及外部安装环境温度,当光伏组件异常工作导致温度升高,外部环境发生火灾,转换器开关对高温环境做出判断。