来源 :国际太阳能光伏网2024-05-17
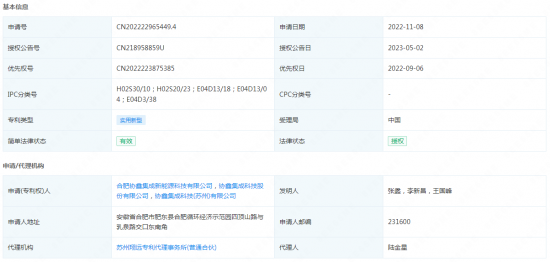
国际能源网获悉,企查查数据显示,协鑫集成新获得一项实用新型专利授权,专利名为“光伏组件、光伏组件之间搭接式防水结构及发电屋顶”,专利申请号为CN202222965449.4,授权日为2024年5月2日。

专利摘要显示,本实用新型公开了一种光伏组件,光伏组件包括相对的第一边框和第二边框;第一边框具有向外侧延展的盖板,盖板底部具有凸条,第一边框的外侧面具有向外侧延展的第一延展部,第一延展部上设有向下延展的第一挡板;第二边框的顶面密封槽,第二边框的外侧面上设有向外侧延展的第二延展部,第二延展部设有向上延展的第二挡板;第一延展部与第二延展部在厚度方向上错位,且第一延展部高于第二延展部。本实用新型还提供了光伏组件之间搭接式防水结构及发电屋顶,该搭接式防水结构和发电屋顶可靠性高、易于施工。