chaguwang.cn-查股网.中国
查股网.CN
嘉事堂(002462)内幕信息消息披露
 
个股最新内幕信息查询:    
 

嘉事堂子公司“连漏7年”增值税:2886万税款与内控警示

http://www.chaguwang.cn  2026-03-16  嘉事堂内幕信息

来源 :审计之家2026-03-16

图片

  一、前期会计差错更正及追溯调整的主要原因

  公司控股子公司北京嘉事盛世医疗器械有限公司(以下简称“嘉事盛世”)于 2017年8月15日收到主管税务机关税务事项通知书(海十国税通[2017]355号),要求嘉事盛世将 2015 年 9 月至 2016 年 10 月期间从上游企业取得的已认证抵扣的增值税额作进项税转出处理,转出金额合计 28,263,238.94 元。

  嘉事盛世接到税务事项通知书后,当年已缴纳 2,950,457.84 元,剩余金额25,312,781.10元未缴纳,此后就该事项与税务机关保持沟通。

  嘉事盛世于 2025 年 8 月 13 日收到主管税务机关税务事项通知书,事由为“责令限期缴纳税款”,通知内容:

  嘉事盛世自2015 年9 月1 日至2025 年8月13 日的应缴纳税款 25,334,333.01 元(其中 2025 年21,551.91 元,以前年度合计 25,312,781.10 元),限 2025年8月16 日前缴纳,并从税款滞纳之日起至缴纳或解缴之日止,按日加收滞纳税款万分之五的滞纳金,与税款一并缴纳。

  根据主管税务机关下达的税务事项通知书,嘉事盛世分别于2025 年9月申报当月增值税时缴纳了 21,551.91 元、2026 年1月30日和2 月4日补缴了2025年以前历史所欠增值税 25,312,781.10 元及附加税3,092,339.38 元,滞纳金尚未缴纳。

  因补缴税款义务发生在 2017 年,涉及的滞纳金时间跨度较长,补缴税款及滞纳金金额较大,根据企业会计准则规定,自 2017 年开始,逐年追溯调整补缴税款及滞纳金所属期间对应会计年度报表相关会计科目,更正后的财务数据及财务报表能够更加客观、公允地反映公司财务状况和经营成果。

  二、前期差错更正及追溯调整对财务报表的影响

  (一)更正事项对公司财务状况、经营成果和现金流量的影响

  本公司对上述前期会计差错进行了追溯重述,影响财务报表项目及金额如下:

图片

  ……

  ……

图片

图片

  ……

  ……

图片

  (3)合并现金流量表项目

  本次差错更正不涉及合并现金流量表项目的调整。

  2、母公司财务报表

  本次差错更正不涉及母公司财务报表项目的调整。

  三、相关审议程序及审核意见

  (一)董事会审计委员会意见

  董事会审议委员会认为,公司本次前期会计差错更正事项符合《企业会计准则第 28 号——会计政策、会计估计变更和差错更正》《公开发行证券的公司信息披露编报规则第 19 号——财务信息的更正及相关披露》等相关规定和要求,更正后的财务报表能更加客观、准确地反映公司的财务状况和经营成果,有利于提高公司财务信息质量。董事会审计委员会同意本次对前期会计差错的更正及追溯调整事项,并同意将该议案提交董事会审议。

  (二)董事会意见

  公司董事会认为,公司本次前期会计差错更正事项符合《企业会计准则第28 号——会计政策、会计估计变更和差错更正》《公开发行证券的公司信息披露编报规则第 19 号——财务信息的更正及相关披露》等相关规定和要求,更正后的财务报表能更加客观、准确地反映公司的财务状况和经营成果,有利于提高公司财务信息质量。董事会同意本次前期会计差错及追溯调整事项。

  (三)会计师事务所意见

  会计师事务所认为,公司的事项说明在所有重大方面按照《企业会计准则第28 号——会计政策、会计估计变更和差错更正》、中国证券监督管理委员会《公开发行证券的公司信息披露编报规则第 19 号——财务信息的更正及相关披露》,及相关格式指引等规定编制,公允反映了公司前期会计差错更正情况。

  四、其他说明

  公司将认真吸取本次会计差错更正事项的教训,进一步加强对财务会计工作的监督和检查,持续加强财务人员的培训学习,切实提高财务会计信息质量,避免此类问题再次发生。今后的工作中公司将进一步加强披露报告的审核工作,提高信息披露质量。公司对此次前期会计差错更正事项给投资者带来的不便深表歉意,敬请广大投资者谅解。

  五、备查文件

  1、第七届董事会第二十一次会议决议;

  2、第七届董事会审计委员会 2026 年第一次会议决议。

  特此公告

  嘉事堂药业股份有限公司董事会

  2026 年3 月14日

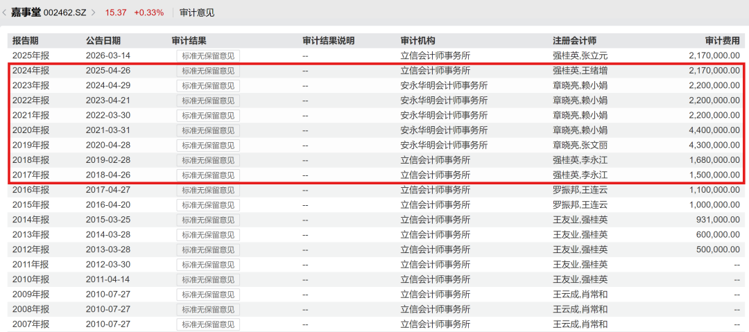
  附件1:嘉事堂2017-2024年年报审计师及审计意见

图片

  附件2:嘉事堂最新前十大股东

图片

有问题请联系 767871486@qq.com 商务合作广告联系 QQ:767871486
Copyright 2007-2026
www.chaguwang.cn 查股网