chaguwang.cn-查股网.中国
查股网.CN
国星光电(002449)内幕信息消息披露
 
个股最新内幕信息查询:    
 

国星光电:取得11项发明专利证书

http://www.chaguwang.cn  2023-01-10  国星光电内幕信息

来源 :有连云2023-01-10

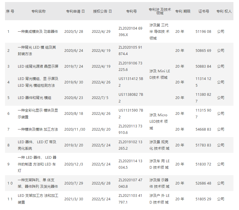
  2023年1月10日,国星光电(002449.SZ)关于公司取得11项发明专利证书的公告,佛山市国星光电股份有限公司(以下简称“公司”)于近日收到11项发明专利证书,其中中国相关部门颁发的发明专利证书8项、美国发明专利证书3项,具体情况如下:

  

  图源:上市公司公告

  (来源:界面AI)

有问题请联系 767871486@qq.com 商务合作广告联系 QQ:767871486
www.chaguwang.cn 查股网