来源 :中国证券报2023-04-26
启明星辰(002439)4月26日披露2023年第一季度报告。报告期内公司实现营业总收入7.88亿元,同比增长39.56%;归母净利润亏损6572.68万元,上年同期亏损9751.09万元;扣非净利润亏损9968.33万元,上年同期亏损1.22亿元;经营活动产生的现金流量净额为-3.86亿元,上年同期为-4367.44万元;报告期内,启明星辰基本每股收益为-0.07元,加权平均净资产收益率为-0.89%。

数据显示,2023年一季度,公司毛利率为51.09%,同比下降17.43个百分点,环比下降10.91个百分点;净利率为-8.63%,较上年同期上升8.79个百分点,较上一季度下降47.36个百分点。

2023年一季度,公司加权平均净资产收益率为-0.89%,同比上升0.57个百分点,环比下降13.55个百分点。

截至2023年一季度末,公司经营活动现金流净额为-3.86亿元,同比减少3.42亿元,环比下降7.46亿元;筹资活动现金流净额-1129.81万元,较上年一季度末下降588.46万元;投资活动现金流净额-1.38亿元,上年同期为-1.63亿元。

2023年一季度,公司营业收入现金比为93.80%。

资产重大变化方面,截至2023年一季度末,公司货币资金较上年末减少39.88%,占公司总资产比重下降5.16个百分点;应收账款较上年末增加3.91%,占公司总资产比重上升2.40个百分点;存货较上年末减少23.72%,占公司总资产比重下降0.99个百分点;无形资产较上年末增加20.33%,占公司总资产比重上升0.39个百分点。

负债重大变化方面,截至2023年一季度末,公司应付账款较上年末减少13.73%,占公司总资产比重下降1.37个百分点;合同负债较上年末减少10.63%,占公司总资产比重下降0.16个百分点;预收款项较上年末增加33.09%,占公司总资产比重上升0.04个百分点;其他流动负债较上年末减少9.31%,占公司总资产比重下降0.01个百分点。

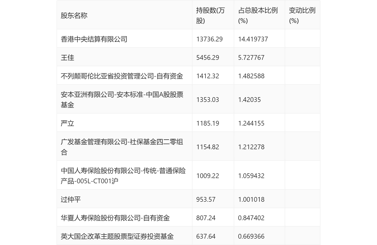
2023年一季度末的公司十大流通股东中,新进股东为安本亚洲有限公司-安本标准-中国A股股票基金、中国人寿保险股份有限公司-传统-普通保险产品-005L-CT001沪、华夏人寿保险股份有限公司-自有资金、英大国企改革主题股票型证券投资基金,取代了此前的挪威中央银行-自有资金、安本标准投资管理(亚洲)有限公司-安本标准-中国A股股票基金、荷宝基金管理公司-荷宝资本成长基金、瑞典第二国家养老基金-自有资金。在具体持股比例上,香港中央结算有限公司、不列颠哥伦比亚省投资管理公司-自有资金、广发基金管理有限公司-社保基金四二零组合持股有所上升,过仲平持股有所下降。

筹码集中度方面,截至2023年一季度末,公司股东总户数为4.23万户,较上年末下降了6969户,降幅14.15%;户均持股市值由2022年末的50.45万元上升至74.93万元,增幅为48.52%。