
在经过数日停牌之后,2025年3月10日晚间,国产半导体设备厂商电芯源微电子设备股份有限(以下简称“芯源微”)发布公告称,北方华创科技集团股份有限公司(以下简称“北方华创”)将通过参与公开挂牌竞买等方式继续增持公司股份并取得对公司的控制权。这也意味着芯源微即将结束自2013年8月以来,连续11年的无实际控制人状态。
16.87亿元受让9.49%股份,北方华创拟取得芯源微控制权
3月5日晚,芯源微公告称,公司拟筹划控制权变更事项,鉴于该事项存在重大不确定性,公司股票自2025年3月6日(星期四)起停牌;预计停牌时间不超过2个交易日,待相关重大事项确定后,公司将及时发布相关公告并申请公司股票复牌。
3月10日晚间,芯源微发布公告称,公司持股5%以上的股东——沈阳先进制造技术产业有限公司(以下简称“先进制造”)于2025年3月10日与北方华创签署了《股份转让协议》,先进制造拟将其持有的 19,064,915 股公司股份以 88.48 元/股(这也正是芯源微停牌前的股价)的价格转让给北方华创,占公司总股本的 9.49%。本次权益变动前,北方华创未持有芯源微股份。
随后,北方华创也发布公告称,公司以现金为对价,协议受让先进制造持持有的芯源微9.49%股份,合计19,064,915股,受让价格为88.48元/股,交易金额为16.87亿元。本次公司受让芯源微股份的资金来源为自有资金。本次交易不构成关联交易,也不构成《上市公司重大资产重组管理办法》规定的重大资产重组。
此外,芯源微还在另一份公告中还宣布,公司持股5%以上的股东——沈阳中科天盛自动化技术有限公司(以下简称“中科天盛”)拟通过公开征集转让方式协议转让其持有的全部股份16,899,750 股,占公司总股本的8.41%。
根据《上市公司国有股权监督管理办法》等相关规定,中科天盛本次公开征集转让的价格将不低于芯源微本次公开征集转让提示性公告日(2025 年 3 月 11 日)前 30个交易日的每日加权平均价格的算术平均值和最近一个会计年度公司经审计的每股净资产值两者之中的较高者。最终转让价格将依据相关法律法规,以公开征集并经国有资产监督管理部门批复的结果确定。
芯源微在公告中还指出,北方华创将积极通过参与公开挂牌竞买等方式继续增持芯源微股份并取得对公司的控制权。这也意味着,北方华创将竞购中科天盛持有的芯源微8.41%股权。

如果顺利的话,届时北方华创将会合计取得芯源微17.9%的股权,成为芯源微的第一大股东。不过,要拿到芯源微的控制权,北方华创可能还要继续收购一些股东的股权,至少拿到总计30%的股权,才能成为芯源微的实际控制人。

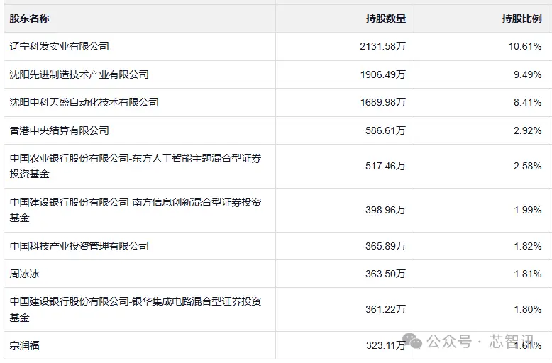
△截止2024年三季度末,芯源微前十大股东持股情况
北方华创有望加速做大做强
公开资料显示,芯源微主要从事半导体专用设备的研发、生产和销售,目前公司已形成前道涂胶显影设备、前道清洗设备、后道先进封装设备、化合物等小尺寸设备四大业务板块,产品覆盖前道晶圆加工、后道先进封装、化合物半导体等多个领域。
北方华创则专注于半导体基础产品的研发、生产、销售和技术服务,主要产品为电子工艺装备和电子元器件。电子工艺装备包括半导体装备、真空及新能源锂电装备,电子元器件包括电阻、电容、晶体器件、模块电源、微波组件等。

特别是在集成电路核心装备领域,北方华创成功研发出高密度等离子体化学气相沉积(HDPCVD)、双大马士革 CCP 刻蚀机、立式炉原子层沉积(ALD)、高介电常数原子层沉积(ALD)等多款具有自主知识产权的高端设备,并在多家客户端实现稳定量产,获得客户的一致好评。同时,公司的核心产品也广泛应用于化合物半导体、新能源光伏、新型显示等多个领域,展现出良好的市场前景和发展潜力。
从产品线布局来看,北方华创与芯原微竞争相对较少,更多则是存在互补和协同效应。
从财务数据来看,芯原微2月27日公布的年度业绩快报显示,2024年实现营收17.70亿元,同比增长3.09%;实现归母净利润2.11亿元,同比下滑15.85%。
相比之下,北方华创不仅体量更为庞大,同时营收和利润增速也更高。北方华创发布的2024年度业绩预告显示:2024年营业收入预计为276亿元-317.8亿元,同比增长25%-43.93%;归母净利润预计为51.7亿元-59.5亿元,同比增长32.6%-52.6%。
截至3月10日A股收盘,北方华创市值为2434.07亿元,而芯源微市值为177.82亿元。因此,对于北方华创来说,拿下芯源微的控制权在资金上是足够的。
总结来说,北方华创作为国内半导体设备龙头厂商,拿下芯源微的控制权,有助于自身进一步做大做强,同时减少行业内耗。特别是在国内半导体设备产业被美国联合荷兰与日本持续打压的背景之下,此举有望推动国产半导体设备产业的加速突破。