chaguwang.cn-查股网.中国
查股网.CN
天娱数科(002354)内幕信息消息披露
 
个股最新内幕信息查询:    
 

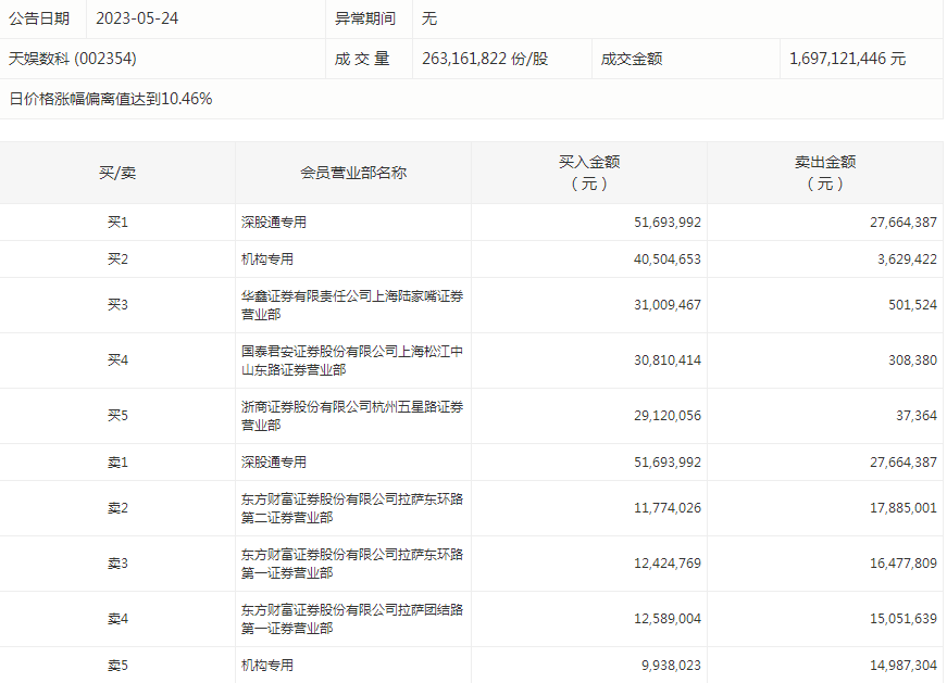
天娱数科今天涨停 两机构合计净买入约3182.6万元

http://www.chaguwang.cn  2023-05-24  天娱数科内幕信息

来源 :证券时报网2023-05-24

  证券时报网讯,天娱数科今天涨停。盘后数据显示,2个机构出现在龙虎榜单上,合计净买入约3182.6万元;华鑫证券有限责任公司上海陆家嘴证券营业部买入3100.95万元,同时卖出50.15万元;东方财富证券股份有限公司拉萨东环路第二证券营业部买入1177.4万元,同时卖出1788.5万元。

  

有问题请联系 767871486@qq.com 商务合作广告联系 QQ:767871486
www.chaguwang.cn 查股网