chaguwang.cn-查股网.中国
查股网.CN
ST新纶(002341)内幕信息消息披露
 
个股最新内幕信息查询:    
 

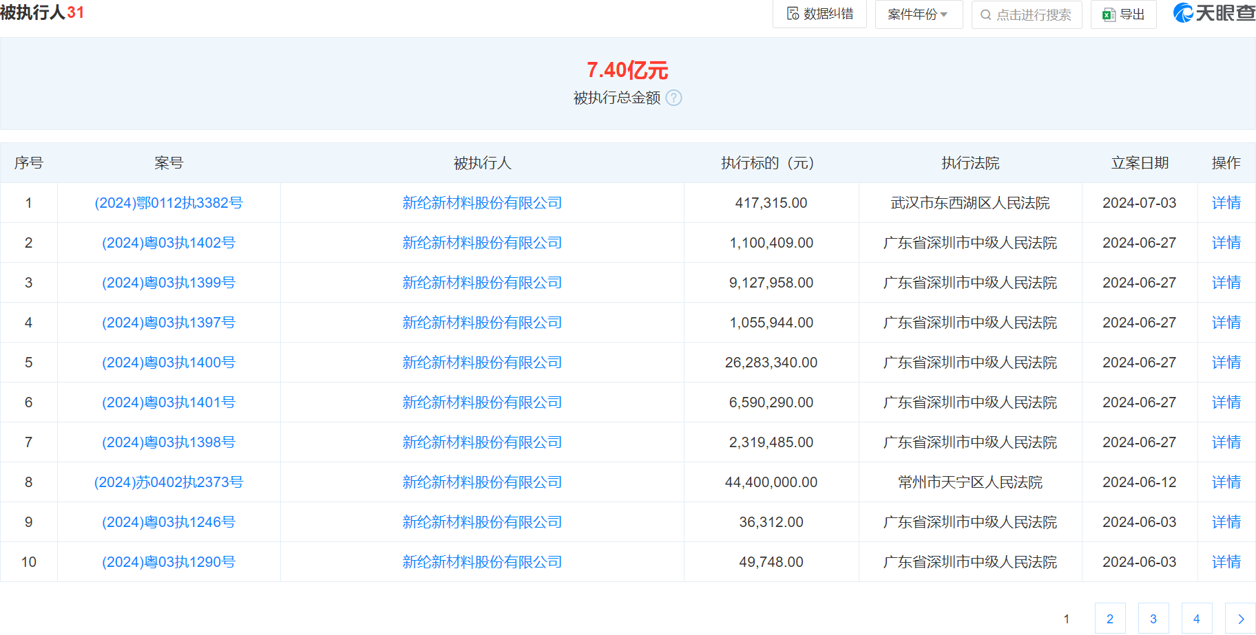
ST新纶被执行417315元,今年以来已被执行多次,涉及广东江苏湖北等地

http://www.chaguwang.cn  2024-07-05  ST新纶内幕信息

来源 :金融界2024-07-05

  法律诉讼信息显示,2024年7月3日,新纶新材料股份有限公司被武汉市东西湖区人民法院列为被执行人【案号:(2024)鄂0112执3382号】,执行标的417315元。

  新纶新材料股份有限公司2024年1月以来,新纶新材料股份有限公司约10余次成为被执行人,案件遍及广东、江苏、湖北等地。

  所谓被执行人,是指在法定的上诉期满后,或终审判决作出后,拒不履行法院判决或仲裁裁决的当事人。根据《民事诉讼法》第二百四十九条,被执行人未按执行通知履行法律文书确定的义务,人民法院有权向有关单位查询被执行人的存款、债券、股票、基金份额等财产情况。

  所谓执行标的,是指案件中需要执行的金额。这个数字包括了被执行人需要支付给申请执行人的本金、利息以及可能存在的迟延履行金等款项。

  公开资料显示,ST新纶成立于2002年,位于深圳市,是一家以从事非金属矿物制品业为主的企业。企业注册资本115221.4592万人民币,法定代表人为廖垚,任职企业15家。

有问题请联系 767871486@qq.com 商务合作广告联系 QQ:767871486
www.chaguwang.cn 查股网