中证智能财讯*ST合泰(002217)8月31日披露2024年半年度报告。2024年上半年,公司实现营业收入6.57亿元,同比下降80.24%;归母净利润亏损8.25亿元,上年同期亏损23.52亿元;扣非净利润亏损8.27亿元,上年同期亏损23.68亿元;经营活动产生的现金流量净额为-8915.14万元,上年同期为1.08亿元;报告期内,*ST合泰基本每股收益为-0.2646元,加权平均净资产收益率为-11.89%。
公告称,公司营业收入变化主要由于市场行情及资金等原因,导致订单减少,出货下降。

以8月30日收盘价计算,*ST合泰目前市盈率(TTM)约为-0.37倍,市净率(LF)约为-0.53倍,市销率(TTM)约为1.97倍。

公司近年市盈率(TTM)、市净率(LF)、市销率(TTM)历史分位图如下所示:



根据半年报,公司第二季度实现营业总收入3.2亿元,同比下降78.38%,环比下降4.85%;归母净利润-4.38亿元,同比增长77.04%,环比下降13.57%;扣非净利润-4.35亿元,同比增长77.31%,环比下降11.17%。

半年报称,公司主营业务大致分为:手机业务板块(包括触控显示类模组、光电传感类产品)、通用显示业务板块、柔性线路板业务板块(FPC)和电子纸业务板块,产品广泛应用于手机端、消费电子、智能穿戴、智能零售、智能汽车、智能制造等诸多领域。
2024年上半年,公司毛利率为-39.68%,同比下降38.04个百分点;净利率为-131.67%,较上年同期下降61.37个百分点。从单季度指标来看,2024年第二季度公司毛利率为-50.30%,同比下降50.37个百分点,环比下降20.72个百分点;净利率为-146.66%,较上年同期下降18.21个百分点,较上一季度下降29.25个百分点。

2024年上半年,公司经营活动现金流净额为-8915.14万元,同比减少1.97亿元,主要系本期营收规模下降,客户回款减少,同时资金紧张、支付减少等综合影响所致;筹资活动现金流净额-2787.74万元,同比增加4.69亿元,主要系本期银行授信使用受限,收到借款减少,同时资金紧张、债务逾期,偿债减少等综合影响所致;投资活动现金流净额5024.55万元,上年同期为-1.3亿元,主要系本期收回退购资产款,资金紧张、管控投资活动支出,减少现金支付等综合影响所致。
进一步统计发现,2024年上半年公司自由现金流为5.35亿元,相比上年同期下降72.82%。

2024年上半年,公司营业收入现金比为107.09%。

营运能力方面,2024年上半年,公司总资产周转率为0.09次,上年同期为0.16次(2023年上半年行业平均值为0.24次,公司位居同行业32/40);公司应收账款周转率、存货周转率分别为1.15次、1.30次。

2024年上半年,公司期间费用为6.33亿元,较上年同期减少3012.45万元;但期间费用率为96.32%,较上年同期上升76.38个百分点。其中,销售费用同比下降18.83%,管理费用同比下降35.93%,研发费用同比下降89.89%,财务费用同比增长210.48%。
资料显示,管理费用的变动主要因为2023年末长期资产减值导致本期折旧摊销减;财务费用的变动主要因为本期逾期利息增加。

资产重大变化方面,截至2024年上半年末,公司应收账款较上年末减少35.66%,占公司总资产比重下降2.29个百分点;货币资金较上年末减少35.02%,占公司总资产比重下降2.25个百分点;在建工程较上年末增加1.43%,占公司总资产比重上升1.19个百分点;其他流动资产较上年末减少7.49%,占公司总资产比重上升0.92个百分点。

负债重大变化方面,截至2024年上半年末,公司其他应付款(含利息和股利)较上年末增加26.35%,占公司总资产比重上升14.89个百分点;一年内到期的非流动负债较上年末减少8.23%,占公司总资产比重上升2.45个百分点;应付账款较上年末减少6.10%,占公司总资产比重上升3.42个百分点;短期借款较上年末减少3.76%,占公司总资产比重上升6.22个百分点。

从存货变动来看,截至2024年上半年末,公司存货账面价值为6.79亿元,占净资产的-9.23%,较上年末减少5790.23万元。其中,存货跌价准备为65.57亿元,计提比例为90.62%。

在偿债能力方面,公司2024年上半年末资产负债率为206.16%,相比上年末上升26.47个百分点;有息资产负债率为101.64%,相比上年末上升8.22个百分点。

2024年上半年,公司流动比率为0.21,速动比率为0.15。

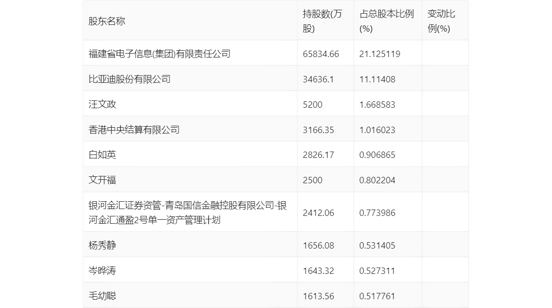
半年报显示,2024年上半年末公司十大流通股东中,新进股东为岑晔涛、毛幼聪,取代了一季度末的陈武春、南方中证1000交易型开放式指数证券投资基金。在具体持股比例上,汪文政、香港中央结算有限公司持股有所上升,文开福、杨秀静持股有所下降。

筹码集中度方面,截至2024年上半年末,公司股东总户数为9.84万户,较一季度末下降了4.8万户,降幅32.79%;户均持股市值由一季度末的4.09万元下降至4.02万元,降幅为1.71%。

指标注解:
市盈率
=总市值/净利润。当公司亏损时市盈率为负,此时用市盈率估值没有实际意义,往往用市净率或市销率做参考。
市净率
=总市值/净资产。市净率估值法多用于盈利波动较大而净资产相对稳定的公司。
市销率
=总市值/营业收入。市销率估值法通常用于亏损或微利的成长型公司。
文中市盈率和市销率采用TTM方式,即以截至最近一期财报(含预报)12个月的数据计算。市净率采用LF方式,即以最近一期财报数据计算。
市盈率为负时,不显示当期分位数,会导致折线图中断。